INSTRUCTION MANUAL
2 Gang Wi-Fi Dimmer Module
QS-WIFI-D02-TRIAC-2C
![]()
TECHNICAL SPECIFICATIONS
| Product type | 2 Gang Wi-Fi Dimmer Module |
| Voltage | 100-240V AC 50Hz |
| Max. load | 2x100W |
| WIFI Frequency | 2.4GHz – 2.4835GHz |
| Operation temp. | -10ºC – +40ºC |
| Case temp. | Tc: +80ºC (Max.) |
| Operation range | ≤ 200 m |
| Dims (WxDxH) | 46*46*18mm(without clip) |
| IP rating | IP20 |
| Warranty | 2 years |
| Dimming type | Trailing-Edge |
EMC Standard (EMC)
EN 300 328 V2.1.1 (2016-11),
EN 301489-1 V2.1.1 (2017-02),
EN 301489-17 V3.1.1 (2017-02),
EN 62311: 2008, EN 55015:2013
+A1:2015, EN 61547:2009
Safety Standard (LVD)
IEC 60669-2-1:2002/AMD1:2008/
AMD2:2015, IEC 60669-1:1998/
AMD1:1999/AMD2:2006,
EN 60669-2-1:2004+A1: 2009+ A2:2010,
EN 60669-1:2018
RoHS Standard (RoHS)
2011/65/EU, (EU) 2015/863
Radio Equipment (RED)
ETSI EN 300 328 V2.1.1 (2016-11)
Global international operation Whenever & Wherever You are, All-in-one Mobile App

INSTALLATION
Warnings:
- Installation must be carried out by a qualified electrician in accordance with local regulations.
- Keep the device out of reach of children.
- Keep the device away from water, damp or hot environments.
- Install the device away from strong signal sources such as microwave ovens that may cause signal interruption resulting in abnormal operation and reducing the effective operation of the device.
- Obstruction by a concrete wall or metallic materials may range the device and should be avoided.
- Do NOT attempt to disassemble, repair or modify the device.


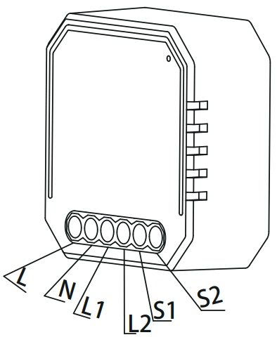
WIRING DIAGRAM

Wiring Instructions and Diagrams
- Turn off the power supply before carrying out any electrical installation work.
- Connect wires according to the wiring diagram.
- Insert the module into the junction box. Or to the module with a mounting clip directly.
- Turn on the power supply and follow dimmer module configuration instructions.
Notes: Take your smartphone close to the dimmer module when you’re configuring, and make sure you have min. 500/0 Wi-Fi signal.
FAQ
Q1: What should I do if I can’t configure the dimmer module?
a. Please check whether the device is powered on.
b. Make sure your mobile and dimmer module are on the same 2.4 GHz WIFI network.
c. Whether it’s in good internet conditions.
d. Make sure the password entered in App is correct.
e. Make sure the wiring is correct.
Q2: What device can be connected to the Wi-Fi dimmer module?
Triac led light, incandescent light, and halogen light.
Q3: What happens if the WIFI goes off?
You can still control the light connected to the dimmer module with your traditional switch and once WIFI is active again the device connected to the module will connect automatically to your WIFI network.
Q4: What should I do if I change the WIFI network or change the password?
You have to re-connect our Wi-Fi dimmer module to the new Wi-Fi network accordingly as per the App User Manual.
Q5: How do I reset the device?
Power off the led light(the one connected to the seconds or more until the lamp connected to the module will flick quickly and enter into configuration mode.
MANUAL OVERRIDE
The dimmer module reserves access to a manual override function for the end-user to switch on/ off or adjust the light level by push switch.
- Short Push (<1s): permanent on/off function.
- Long Push (>1s): adjust the brightness level.
Notes:
- Both the adjustment on App and the push switch can overwrite each other, the last adjustment remains in memory.
- App control is synchronized with the manual switch.
- The “S” terminals may be left unconnected if no manual control is required.
APP USER MANUAL
http://smart.tuya.com/download
1. iOS APP / Android APP
Scan the QR code to download Tuya Smart App, or you can also search the keyword “Tuya Smart” at App Store or Google Play to download App.
| 2. Login or register your account with your mobile number or e-mail address. Type in the verification code sent to your mobile or mailbox, then set your login password. Click “Create Family” to enter into the APP. | 3. Turn off the led light (the one connected to the dimmer module), then press the switch and hold for 10 seconds or more until the lamp connected to the module will flick quickly and enter into configuration mode. If you wait more than 120 seconds, you need to repeat this passage. |
![]() | ![]() |
| 4. Open the APP, select “+” on the top right to add the device, and choose the correct device. | 5. Make sure your smartphone and Wi-Fi Dimmer are under the same Wi-Fi network at a 2.4GHz connection. Go.rm when the light flicks quickly (twice a second). |
![]() | ![]() |
| 6. The pairing will take about 10-120 seconds to complete depending on your network condition. | 7. When pairing is done, the Wi-Fi dimmer will be shown on the App. |
![]() | ![]() |
| 8. Connect to Amazon Alexa or Google Assistant for voice control, or share the devices with your families or friends. | 9. Enjoy your smart life of home automation for lighting control by using our All-in-one mobile app wherever you are in the world or simply by voice control when you are sitting at home comfortably. |
![]() | ![]() |


























