Shenzhen Talent Electronics EQWD FREEDiM Wireless Dimmers Instruction Manual
SPECIFICATIONS
Dimmer Specifications: (note: xx is for finish)
EquiLine Wireless Dimmer
w/ Motion P/N: L-EQW-1MOTDIM-xx-1
EquiLine Wireless Dimmer P/N: L-EQW-1DIM-xx-1
Operating Voltage: 3V CR2032 battery
Working Frequency: 2.4 GHz
RF Remote Range: <10m (33′)
Receiver Specifications:
L-EQW-1MOTDIM-xx-160W/96W P/N: L-EQW-1REC-1
Input Voltage: 12VDC & 24VDC
Output Voltage: 12VDC & 24VDC
Max-Output Load: 5A/4A max.
Dimming Range: 10% – 100%
Typical Systems


EquiLine Dimmer Functions:
EquiLine Wireless Dimmer with Motion Sensor
Motion functions: turns on lights when it detects movement within range of 1m-3m (3′-10′), and turns off lights 45 seconds after movement is no longer detected.
Touch Dimmer functions: long touch the Touch Dimmer button (>0.5 seconds) to dim up/down from 10% to 100% brightness. Maximum range between EquiLine Receiver and Remote Dimmer is 10m (33′).
EquiLine Wireless Dimmer –
Touch Switch & Dimmer functions: short touch (<0.5 seconds) the button to switch on/off; long touch (>0.5 seconds) the button to dim up/down from 10% to 100% brightness. Maximum range between EquiLine Receiver and Remote Dimmer is 10m (33′).
READ ALL INSTRUCTIONS BEFORE INSTALLING SYSTEM.
Before beginning installation, be sure power is turned OFF to light system.
EquiLine Wireless Dimmers control all Tresco® dimmable low voltage LED lights. They are wireless and can be positioned wherever you want – within 10m (33′) of the Receiver to be controlled. (see Signal Interference on page 2)
Tresco’s EquiLine Receivers can be used with any Class 2, 12VDC/60W or 24VDC/96W Power Supply. As an option, Tresco® Class 2, 12VDC and 24VDC Power Supplies are available:
12VDC/60W max. part no.: L-DC-SLELT60-1, and
24VDC/96W max. part no.: L-24DCELT96-1
For more Power Supply options, see Tresco® Specifications Catalog
Installing Receiver and Light System:
Roughly lay out the lighting system before installation to verify final positioning of all components. Do not turn power on to light system yet.
STEPS:
12VDC SYSTEM: (see Fig. 1)
- Mount 12VDC Class 2 Power Supply (keep Power Supply in an accessible location).
- Mount and connect EquiLine Receiver to the Power Supply.
- Connect Tresco® 12VDC LED light to output side of EquiLine Receiver.
Note: if using an optional 12VDC Mounting Block – connect Mounting Block to EquiLine Receiver, then plug up to 6 LED lights into Mounting Block. - Double-check all connections and then turn power on to light system.
24VDC SYSTEM: (see Fig. 2)
- Mount 24VDC Class 2 Power Supply (keep Power Supply in an accessible location).
- Connect 1st Barrel-to-AMP Adaptor to the Power Supply.
- Mount and connect EquiLine Receiver to 1st Barrel-to-AMP Adaptor.
- Connect 2nd Barrel-to-AMP Adaptor to EquiLine Receiver.
- Connect Tresco® 24VDC LED light to 2nd Barrel-to-AMP Adaptor.
Note: if using an optional 24VDC 5-Output Barrel Splice – connect 5 Output Barrel Splice to Barrel-to-AMP Adaptor, then connect up to 5 LED lights to Barrel Splice. - Double-check all connections and then turn power on to light system.
Installing Wireless Dimmers
Mount using 3M™ Tape 
- Remove the insulation sheet from the battery compartment.
- Fix the magnet onto the surface with 3M™ tape (provided).
- Mount the Wireless Dimmer onto the surface with the magnet.
Note: The 3M™ adhesive is pressure sensitive tape. Pressure must be applied in order for proper adhesion to take place. Not intended for rough or raised surfaces.
Mount using Screw 
- Remove the insulation sheet from the battery compartment.
- Fix the magnet onto the surface with small screw (provided).
- Mount the Wireless Dimmer onto the surface with the magnet.
Programming Instructions

Note: Only one Receiver and one Dimmer can be paired. You cannot program for multiple Receivers and Dimmers.
PAIRING
- Press once (do not hold down) the Pairing Button on the Wireless Dimmer within 3 seconds after the Receiver is connected to the power supply. It’s successfully paired when the output light flashes. The easiest way to do this is to remove the dimmer from the mounting location and hold it in one hand and apply power to the power supply with the other.
UNPAIRING
- Long press (over 3 seconds) the pairing button on the Wireless Dimmer within 3 seconds after the Receiver is connected to the power supply. It’s successfully unpaired when the output light flashes.
Signal Interference:
Outside interference may affect the signal between the Dimmer and Equiline Receiver. Typical items that might cause interference include: metal pots and pans, leaded glass, aluminum framed doors, etc. If experiencing interference, try repositioning the devices in 6” (15cm) increments. This typically allows the system to function properly
DIMENSIONS


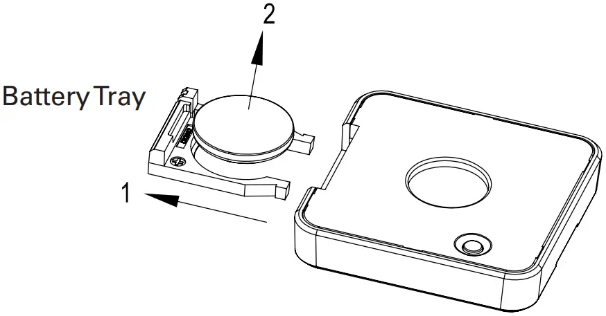
REPLACE BATTERY

IMPORTANT SAFETY INSTRUCTIONS
CAUTION: To reduce the risk of fire, electric shock, or injury to persons:
- Route and secure cords so they will not be pinched or damaged.
- Use only insulated staples or plastic ties to secure ALL loose cords.
- Replace battery with a CR2032 battery only. Not rechargeable.
- Use Class 2 or LPS, 12VDC or 24VDC Power Supply to power the Receiver.
- 12VDC 60W 5A max or 24VDC 96W 4A max Receiver output.
- Use only in dry locations. Not for use where exposed to the weather
- The Receiver is not intended for recessed installation in ceilings or soffits.
- A licensed electrician should be consulted for wiring through ceilings, soffits, or walls.
- All wiring must follow NEC regulations.
Save these instructions for future reference.
For technical assistance, call 1-800-227-1171

Tresco Lighting by Rev-A-Shelf
12400 Earl Jones Way
Louisville, KY 40299
Tel: 800-227-1171
Fax: 502-491-2215
Email: [email protected]
Web: www.trescolighting.com



















