WD939 Issue 5 Installation Guide
EBMPIR-MB-PRM
Mini PIR Detector for Luminaire Integration (Batten Mount)
EBMPIR-MB-PRM Mini PIR Detector for Luminaire Integration
EBMPIR-MB-PRM
PRM switching, miniature, luminaire mounted, PIR, presence detector

Warning
This device should be installed by a qualified electrician in accordance with the latest edition of the IEE wiring regulations.
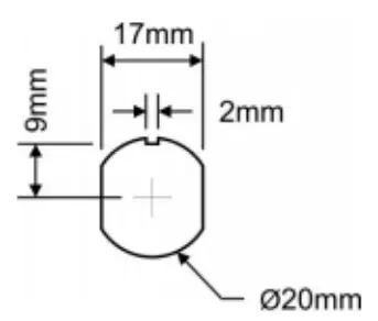
Dimensions (mm)

Detection pattern

Walk across

| Height | Range Diameter |
| 9m | 14m |
| 7m | 13m |
| 5m | 11m |
| 3m | 8m |
Walk towards

| Height | Range Diameter |
| 9m | 7m |
| 7m | 7m |
| 5m | 7m |
| 3m | 5m |
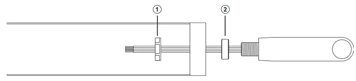
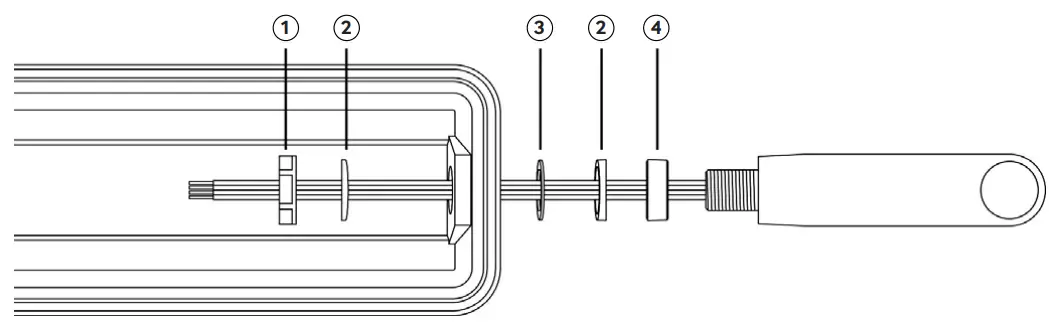
Wiring
Dimming ouputs
Basic insulation only. Although low voltage, this is not an SELV output and should be treated as if mains potential. Use mains rated wiring.

Key
- Neutral
- Live
- 10A circuit protection if required
- Load
Standard luminaire fitting

Mounting without key

Mounting with key. Note: Key to be at the top of the sensor.
Wire in plugs & connect to detector

Key
- M20 nut
- IP spacer
IP luminaire fitting

Key
- M20 nut
- 5° washer (optional)
- Silicone washer
- IP spacer
• Note: Use the 5° spacers where the luminaire has a draft angle.
• Ensure that the silicone washer and/or IP spacer are used to maintain IP rating.
Default Settings
Time out: 20 minutes.
LUX on level: 9
LUX off level: 9
Sensitivity: 9
Detection: Presence
Adjustments can be made using the optional UHS5 or UNLCDHS handsets.
Technical Data
| Part code | EBMPIR-MB-PRM |
| Weight | 0.100kg |
| Supply voltage AC | 230 VAC +/- 10% |
| Supply frequency | 50Hz |
| Power consumption parasitic | 807mW |
| Max load: | |
| Incandescent lighting | 2A |
| Fluorescent lighting | 2A |
| Compact fluorescent lighting | 2A |
| LED lighting | 2A |
| Cable specification | 1m 1/1.13 solid corecable 105ºC |
| SON lighting | Switch loads via a contactor |
| Working temperature range | -10 to 35ºC |
| Humidity | 5 to 95% noncondensing |
| Material (casing) | Flame retardant ABS/PC |
| Insulation class | 2 |
| IP rating | 65 |
| EMC-2014/30/EU LVD-2014/35/EU | |
Testing
Presence Detection
- Power up the sensor. The load should come on immediately.

- Vacate the room or remain very still and wait for the load to switch off (this should take less than 20 minutes).

- Enter the room or make some movement and check that the load switches on.

Accessories & associated products
| Part Number | Description |
| UHS5 | Compact, programming |
| UHS7 | Compact, user handset |
| UNLCDHS | Universal LCD IR handset |
![]() | CP Electronics A Business unit of Legrand Electric Limited, Brent Crescent, London NW10 7XR, UK t. +44 (0)333 900 0671 [email protected] | |
| www.cpelectronics.co.uk | connect with us |
Due to our policy of continual product improvement CP Electronics reserves the right to alter the specification of this product without prior notice.
WD939 Issue 5 Installation Guide, EBMPIR-MB-PRM
20923
Walk towards & walk across explained
cpelectronics.co.uk/cp/wta
















