CP electronics EBMPIR-MB-DD Mini PIR Detector for Luminaire Integration Installation Guide
EBMPIR-MB-DD
DALI/DSI digital dimming, miniature, luminaire mounted, PIR, presence detector
Warning
This device should be installed by a qualified electrician in accordance with the latest edition of the IEE wiring regulations
Dimensions (mm)

Downloads and Videos
Detection pattern

Walk across

| Height | Range Diameter |
| 9m | 14m |
| 7m | 13m |
| 5m | 11m |
| 3m | 8m |
Walk towards

| Height | Range Diameter |
| 9m | 7m |
| 7m | 7m |
| 5m | 7m |
| 3m | 5m |
Walk towards & walk across explained
Wiring
Dimming ouputs
Basic insulation only. Although low voltage, this is not an SELV output and should be treated as if mains potential. Use mains rated wiring.
Key
- Neutral
- Live
- 10A circuit protection if required
Standard luminaire fitting
Cut mounting hole
Mounting without key
Mounting with key.
Note: Key to be at the top of the sensor
Wire in plugs & connect to detector

Key
- M20 nut
- IP spacer
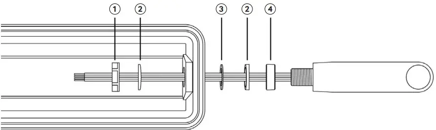
IP luminaire fitting
Wire in plugs & connect to detector
Key
- M20 nut
- 5° washer (optional)
- Silicone washer
- IP spacer
- Note: Use the 5° spacers where the luminaire has a draft angle.
- Ensure that the silicone washer and/or IP spacer are used to maintain IP rating.
Default Settings
- Time out: 20 minutes.
- LUX on level: 9
- LUX off level: 9
- Sensitivity: 9
- Detection: Presence
Adjustments can be made using the optional UHS5 or UNLCDHS handsets.
Technical Data
Part code EBMPIR-MB-DD
Weight: 0.100kg
Supply voltage AC: 230 VAC +/- 10%
Supply frequency: 50Hz
Power consumption parasitic: 516mW
Max load:
Incandescent lighting: N/A
Fluorescent lighting: N/A
Compact fluorescent lighting: N/A
LED lighting: N/A
Cable specification: 1m 1/1.13 solid core cable 105ºC
Number of drivers/ ballasts: Up to 4
SON lighting: Switch loads via a contactor
Working temperature range: -10 to 35°C
Humidity: 5 to 95% non- condensing
Material (casing): Flame retardant ABS/PC
Insulation class: 2
IP rating: 65
Compliance:
EMC-2014/30/EU LVD-2014/35/EU
Testing
Presence Detection
- Power up the sensor. The load should come on immediately.

- Vacate the room or remain very still and wait for the load to switch off (this should take less than 20 minutes).

- Enter the room or make some movement and check that the load switches on.

Accessories & associated products
Part Numbe:
- UHS5

- UHS7

- UNLCDHS

Description
Compact, programming/commissioning handset
Compact, user handset
Universal LCD IR handset/commissioning handset
![]() | CP Electronics A Business unit of Ligand Electric Limited, Brent Crescent, London NW10 7XR, UK t. +44 (0)333 900 0671 [email protected] | ![]() |
| www.cpelectronics.co.uk | connect with us | |
| Due to our policy of continual product improvement CP Electronics reserves the right to alter the specification of this product without prior notice. | ||

























