CRYSTORAMA AND-9204-CL-MK Andover Four Light Outdoor Chandelier Instruction Manual
WARNING
Electrical Danger
Turn Power Off
All electrical components must be installed by a licensed electrician in accordance with the National Electric Code and the appropriate local electrical codes.
You will need 4 – Candelabra Bulb 40 Watts Recommended 60 Watts Max. (Bulb not included)
USE LED BULBS FOR EXTENDED USE THIS FIXTURE IS WET RATED
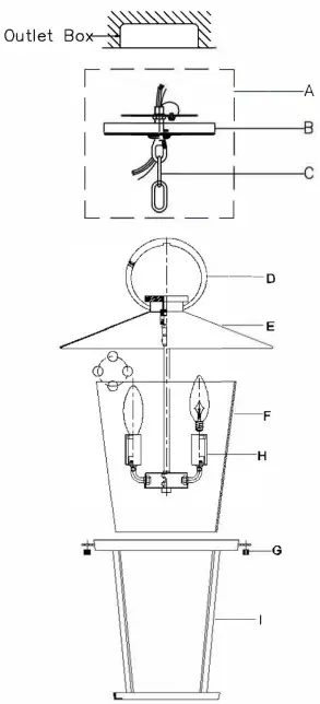
HOW to Install

- To install the glass shade, separate the Bottom Cage by removing the Nut.
- Insert the Glass Shade into the Bottom Cage.
- Install the bulb into the socket.
- Attach the Bottom Cage to the Top Cage by screwing a Nut securing the two together.
- Determine the preferred hanging height and adjust the chain then connect one end to the loop on the canopy and the other to the loop on the fixture
Glass Replacement:
Follow instruction steps #1-4, in reverse, skipping step #3.
Bulb Replacement (Bulb not included):
Follow instruction steps #1-4 in reverse.
WARNING: This product can expose you to Lead, which is known to the State of California to cause cancer and/or birth defects or reproductive harm. For more information go to www.P65Warnings.ca.gov.
Part Numbers

A. (1)-Mounting hardware
B. (1)-Canopy; W6″ x H.5″; XHX9203MKCAN6IN
C. (1)-Chain; 72″ x 4.0mm; XHX9203MKCHA4MM
D. (1)-Loop
E. (1)-Top Cage
F. (1)-Socket
G. (1)-Glass Shade; W9.75″ x H10″; XHX9202GLA10IN
H. (4)-Nut; XHX9201MKNUT
I. (1)-Bottom Cage


















