AND-9203-CL-MK Andover One Light Outdoor Chandelier
Instruction Manual
LIGHTING THE WAY FOR SIXTY YEARS
ASSEMBLY INSTRUCTION MODEL #AND-9203-CL-MK
AND-9203-CL-MK Andover One Light Outdoor Chandelier
WARNING:
All electrical components must be installed by a licensed electrician in accordance with the National Electric Code and the appropriate local electrical codes.
You will need 5 Medium Base Bulb 40 Watts recommended 60 Watts Max.
USE LED BULBS FOR EXTENDED USE The fixture is Damp rated
HOW TO INSTALL:
- To install the glass shade, separate the Bottom Cage by removing the Nut.
- Insert the Glass Shade into the Bottom Cage.
- Install the bulb into the socket.
- Attach the Bottom Cage to the Top Cage by screwing a Nut securing the two together.
- Determine the preferred hanging height and adjust the chain then connect one end to the loop on the canopy and the other to the loop on the fixture
Glass Replacement:
Follow instruction steps #1-4, in reverse, skipping step #3.
Bulb Replacement (Bulb not included):
Follow instruction steps #1-4 in reverse.
WARNING:This product can expose you to Lead, which is known to the State of California to cause cancer and/or birth defects or reproductive harm.
For more information go to www.p65warnings.ca.gov
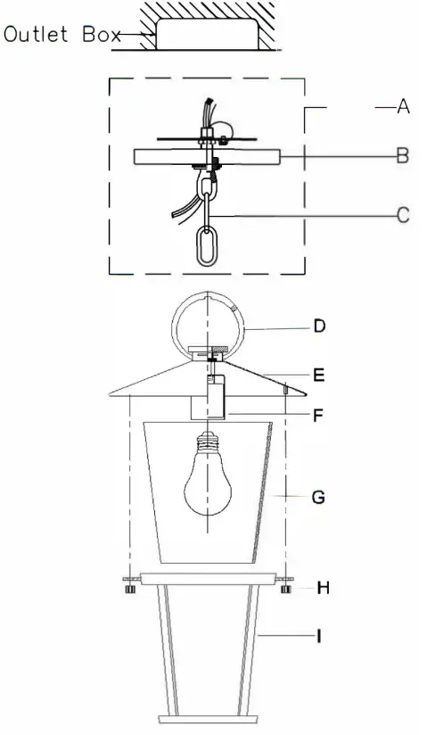
Part Number

Part Numbers
A. (1)-Mounting hardware
B. (1)-Canopy; W6″ x H.5″; XHX9203MKCAN6IN
C. (1)-Chain; 72″ x 4.0mm; XHX9203MKCHA4MM
D. (1)-Loop
E. (1)-Top Cage
F. (1)-Socket
G. (1)-Glass Shade; W5.75″ x H6.5″; XHX9201GLA6.5IN
H. (4)-Nut; XHX9201MKNUT
I. (1)-Bottom Cage

















