Anybus AWB6BA Wireless Bolt II Gateway

Warning Levels: Instruction that must be followed to avoid a risk of death or serious injury.
CAUTION: Instruction that must be followed to avoid a risk of personal injury.
General Safety
CAUTION
- This equipment emits RF energy in the ISM (Industrial, Scientific, Medical) band. Make sure that all medical devices used in proximity to this equipment meet appropriate susceptibility specifications for this type of RF energy.
- This equipment contains parts that can be damaged by electrostatic discharge (ESD). Use ESD prevention measures to avoid damage.
- If this equipment is used in a manner not specified by the manufacturer, the protection provided by the equipment may be impaired.
- Connecting power with reverse polarity or using the wrong type of power supply may damage the equipment. Make sure that the power supply is connected correctly and of the recommended type.
- This equipment is not intended for use in an environment where children are present. Keep out of reach of children.
Intended Use
The intended use of this equipment is as a communication interface and gateway. The equipment receives and transmits data on various physical and wireless levels and connection types.
Model Identification
| Hardware description | Model identification |
| Functionality: Ethernet Interface configuration: RJ45 and 3-pin power socket | AWB6BA |
Installation

- Mount the Bolt II (1) on a machine or cabinet.
- Mounting hole diameter: M50 (50,5 mm)
- Ensure to use the included sealing (2) ring and lock nut (3).
- Bolt II lock nut (3) tightening torque: 5 Nm ±10 %
- The top mounting surface, in contact with the sealing, must be:
- flat with a finish equivalent to Ra 3.2 or finer.
- cleaned and free from oils and greases.
- Use 0.25 – 1.5 mm2 (24-16 AWG) cable for supply wiring.
- If the Ethernet cables are to be exposed in an outdoor environment, transient protection must be provided.
- Use minimum 90 °C copper (Cu) wire only.
- Use in Overvoltage Category II Pollution Degree 2 Environment conforming to EN 60664-1.
- This equipment is designed to comply as Class III equipment according to 61010-2-201.
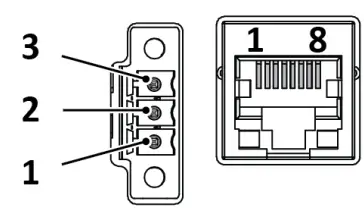
Connectors

| Power Connector 3-Pin | ||
| Pin | ||
| 1 | + | Recommended: 12–24 VDC Reverse voltage protection Min: 10 VDC Max: 33 VDC |
| 2 | – | |
| 3 | Functional Earth (FE) | |
| Ethernet Connector RJ45 PoE | |||||
| Pin | Data | PoE | Pin | Data | PoE |
| 1 | TD+ | A+ | 5 | N/A | B+ |
| 2 | TD- | A+ | 6 | RD- | A- |
| 3 | RD+ | A- | 7 | N/A | B- |
| 4 | N/A | B+ | 8 | N/A | B- |
| Shield | |||||
For Use in North America and/or Canada
The unit shall be supplied by an isolated power source which fulfils the requirements of Limited-Energy Circuit in accordance with UL/CSA 61010-1/ UL/CSA 61010-2-201 or Limited Power Source (LPS) in accordance with UL/CSA 60950-1 or a Class 2 supply source which complies with the National Electrical Code (NEC), NFPA 70, Clause 725.121 and Canadian Electrical Code (CEC), Part I, C22.1.
For Use in Europe
The unit shall be supplied by LPS Power Source in accordance with the IEC 62368-1.
Technical Specifications
| Model identification | AWB6BA |
| Communication connector | RJ45 |
| Power connector | 3-pole push-in spring connection |
| Power supply | Recommended: 12–24 VDC Reverse voltage protection Min: 10 VDC Max: 33 VDC Max power: 2.5 W |
| Power over Ethernet (PoE) | IEEE 802.3af/802.3at Type 1 Class 3 Typical: 1.45 W Max: 2.7 W Voltage range: 37-57 V |
| Power consumption | Typical: 60 mA @ 24 V Max: 110 mA @ 24 V |
| Antenna | MIMO 802.11 a/b/g/n and 802.11ac |
| Wireless LAN | 2.4 GHz, channel 1-11 + 12-13 depending on regulatory domain scan 5 GHz Access Point: 36-48 (U-NII-1) 5 GHz Client: 100-116 + 132-140 and 120-128 (U-NII-1, U-NII-2, U-NII-2e) depending on regulatory domain scan RF output power: 18 dBm |
| Storage temperature | -40 to +85 °C |
| Operating temperature | -25 to +65 °C |
| Humidity | EN 600068-2-78: Damp heat, +40°C, 93% humidity for 4 days. |
| Vibration | See datasheet |
| Housing material | Plastic (see data sheet for details) Aluminum (see data sheet for details) |
| Protection class | Top (outside of host): IP66 / UL Type 4X Base (inside of host): IP30 |
| Product weight | 284 g |
| Dimensions | 113 x 59 x 113 mm (W x H x D) |
| Mounting | M50 screw and nut. 50.5 mm hole needed. |
Additional technical data and information related to the installation and use of this product can be found at www.anybus.com/support.
CE Compliance
This product is in compliance with the EMC Directive 2014/30/EU and the RoHS Directive 2011/65/EU with amendment 2015/863 through conformance with applicable standards. The full text of the Declaration of Conformity is available at www.anybus.com/support.
UKCA Compliance
Disposal and Recycling
You must dispose of this equipment properly according to local laws and regulations. Because this equipment contains electronic components, it must be disposed of separately from household waste. When this equipment reaches its end of life, contact local authorities to learn about disposal and recycling options, or return the equipment to HMS. For more inf ormation, see www.hms-networks.com.
UL Ordinary Locations (OrdLoc)
This equipment is certified for use in ordinary locations in compliance with the following standards:
- UL 61010-1 SAFETY REQUIREMENTS FOR ELECTRICAL EQUIPMENT FOR MEASUREMENT, CONTROL, AND LABORATORY USE – PART 1: GENERAL REQUIREMENTS
- UL 61010-2-201 STANDARD FOR SAFETY REQUIREMENTS FOR ELECTRICAL EQUIPMENT FOR MEASUREMENT, CONTROL, AND LABORATORY USE – PART 2-201: PARTICULAR REQUIREMENTS FOR CONTROL EQUIPMENT
- CSA C22.2 NO. 61010-1-12 SAFETY REQUIREMENTS FOR ELECTRICAL EQUIPMENT FOR MEASUREMENT, CONTROL, AND LABORATORY USE. PT. 1, GENERAL REQUIREMENTS
- CSA C22.2 NO. 61010-2-201:14 SAFETY REQUIREMENTS FOR ELECTRICAL EQUIPMENT FOR MEASUREMENT, CONTROL, AND LABORATORY USE – PART 2-201: PARTICULAR REQUIREMENTS FOR CONTROL EQUIPMENT
The certification number for the OrdLoc certified equipment is: E214107
According to the standards listed above, the equipment is certified with the following marking:
QR SCAN
To download a language version of this Safety and Compliance Information:
- Find the product article number on the product cover.
- Scan the QR code to access www.anybus.com/support.
- Enter the product article number to search for the product specific support web page.

© 2023 HMS Networks
Box 4126, 300 04 Halmstad, Sweden SP3091 / Publication date 2023-03-20



















