
INMBSPAN128O000
Panasonic VRF to Modbus TCP Slave or
to Home Automation gateway
Order Code: INMBSPAN128O000
Installation Sheet rev.1.1
HMS Industrial Networks S.L.U. ©
Owner’s Record
The serial number is located at the rear of the gateway.
Record this information in the space provided below.
Refer to it whenever you contact your gateway dealer or support team regarding this product.
Serial No. _________________________________
SAFETY INSTRUCTIONS
WARNING
Follow carefully this safety and installation instructions.
Improper work may lead to serious harm to your health and also may damage seriously the Intesis gateway and/or any other equipment connected to it.
The Intesis gateway must be installed by an accredited electrician or similar technical personnel, following all the safety instructions given
here and in accordance always with the country legislation for installation of electric equipment.
The Intesis gateway cannot be installed outdoors or exposed to direct solar radiation, water, high relative humidity or dust.
The Intesis gateway must only be installed in a restricted access location.
In case of wall mount, fix firmly the Intesis device on a not vibrating surface following the instructions next.
In the case of the DIN rail, mount fix the Intesis gateway properly to the DIN rail following the instructions below.
Mounting on DIN rail inside a metallic cabinet properly connected to the earth is recommended.
Disconnect always a power of any wires before manipulating and connecting them to the Intesis device.
A power supply with an NEC Class 2 or Limited Power Source (LPS) and SELV rated is to be used.
Respect always the expected polarity of power and communication cables when connecting them to the Intesis gateway.
Supply always a correct voltage to power the Intesis gateway, see details of voltage range admitted by the device in the technical characteristics below.
CAUTION: Risk of Explosion if Battery is replaced by an Incorrect Type.
Dispose of Used Batteries according to the instructions. Battery replacement shall be done by an authorized installer.
CAUTION: The device is to be connected only to networks without routing to the outside plant, all communication ports are considered for indoor only and can be connected SELV circuits only.
This device was designed for installation in an enclosure. To avoid electrostatic discharge to the unit in environments with static levels above 4 kV, precautions should be taken when the device is mounted outside an enclosure. When working in an enclosure (ex. making adjustments, setting switches, etc.) typical anti-static precautions should be observed before touching the unit.
Safety instructions in other languages can be found at: https://intesis.com/docs/manuals/v6-safety
CONFIGURATION
Use the Configuration Tool to configure the gateway.
See instructions to download and install the latest version at: https://intesis.com/docs/software/intesis-maps-installer
Use the Ethernet connection or the Console Port (mini USB type B connector included) to get communication between the gateway and
the configuration tool.
Follow instructions in the user’s manual for more details.
INSTALLATION
Follow instructions next to properly install the gateway.
Disconnect from mains the power supply before connecting it to the Intesis gateway.
Disconnect the power of any bus or communication cable before connecting it to the Intesis gateway.
Mount the Intesis device on the wall or DIN rail following the instruction given below, respecting the safety instructions given above.
Connect an NEC Class 2 or Limited Power Source (LPS) and SELV rated power supply to the Intesis device, respect the polarity if DC power or Line and Neutral if AC power. Apply always a voltage within the range admitted by the Intesis device and of enough power (see technical characteristics).
Circuit-breakers must be used before the power supply. Rating 250V6A.
Connect the communication cables to the Intesis gateway, see details on the user’s manual.
Power the Intesis gateway and the rest of the devices connected to it.
NOTE: The device cannot be installed in air-handling space.
Wall Mount
- Separate the fixing clips in the bottom of the box, pushing them to the outside until hearing the “click” which indicates that now the clips are in position for wall mount, see in the figure below.
- Use the holes to fix the box in the wall using screws.
Use the template below for the wall wholes.

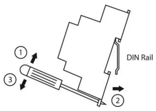
DIN Rail Mount
With the clips of the box in their original position, insert first the box in the upper edge of the DIN rail and later insert the box in the down part of the rail, using a small screwdriver and following the steps in the figure below.

CONNECTIONS

Power Supply
Must use NEC Class 2 or Limited Power Source (LPS) and SELV-rated power supply.
If using DC power supply:
Respect polarity applied of terminals (+) and (-). Be sure the voltage applied is within the range admitted (check table below). The power supply can be connected to earth but only through the negative terminal, never through the positive terminal.
If using AC power supply:
Make sure the voltage applied is of the value admitted (24 Vac). Do not connect any of the terminals of the AC power supplies to earth, and make sure the same power supply is not supplying any other device.
Ethernet / Modbus TCP (TCP) / Home Automation / Console (UDP & TCP)
Connect the cable coming from the IP network to the connector ETH of the gateway. Use an Ethernet CAT5 cable. If communicating through the LAN of the building, contact the network administrator and make sure traffic on the port used is allowed through all the LAN path (check the gateway user manual for more information).
Default IP is 192.168.100.246.
PortA / P-Link 1 Panasonic
Connect the P-Link terminals of the Panasonic Outdoor Unit to the connectors A3 and A4 of the gateway’s PortA. There is no polarity to be respected.
PortB / P-Link 2 Panasonic
Connect the P-Link terminals of the Panasonic Outdoor Unit to the connectors B1 and B2 of the gateway’s PortB. There is no polarity to be respected.
Console Port
Connect a mini-type B USB cable from your computer to the gateway to allow communication between the Configuration Software and the gateway. Remember that Ethernet connection is also allowed. Check the user manual for more information.
USB
Connect a USB storage device (not an HDD) if required. Check the user manual for more information.
ELECTRICAL & MECHANICAL FEATURES
| Enclosure | Plastic, type PC (UL 94 V-0) Net dimensions (dxwxh): 90x88x56 mm Recommended space for installation (dxwxh): 130x100x100mm Color: Light Grey. RAL 7035 |
| Mounting | Wall. DIN rail EN60715 TH35. |
| Terminal Wiring (for power supply and low-voltage signals) | Per terminal: solid wires or stranded wires (twisted or with ferrule) 1 core: 0.5mm² … 2.5mm² 2 cores: 0.5mm²… 1.5mm² 3 cores: not permitted If cables are more than 3.05 meters long, a Class 2 cable is required. |
| Power | 1 x Plug-in screw terminal block (3 poles) 9 to 36VDC +/-10%, Max.: 140mA. 24VAC +/-10% 50-60Hz, Max.: 127mA Recommended: 24VDC |
| Ethernet | 1 x Ethernet 10/100 Mbps RJ45 2 x Ethernet LED: port link and activity |
| Port A | 1 x P-Link 1 Plug-in screw terminal block orange (2 poles) 1500VDC isolation from other ports 1 x Plug-in screw terminal block green (2 poles) Reserved for future use |
| Switch A (SWA) | 1 x DIP-Switch for PORTA configuration: Reserved for future use (leave OFF, default) |
| PORT B | 1 x Serial EIA232 (SUB-D9 male connector) Reserved for future use 1 x P-link 2 Plug-in screw terminal block (3 poles) 1500VDC isolation from other ports (except PORT B: EIA232) |
| Switch B (SWB) | 1 x DIP-Switch for PORTB configuration: Reserved for future use (leave OFF, default) |
| Battery | Size: Coin 20mm x 3.2mm Capacity: 3V / 225mAh Type: Manganese Dioxide Lithium |
| Console Port | Mini Type-B USB 2.0 compliant 1500VDC isolation |
| USB port | Type-A USB 2.0 compliant Only for USB flash storage device (USB pen drive) Power consumption limited to 150mA (HDD connection not allowed) |
| Push Button | Button A: Not used Button B: Not used |
| Operation Temperature | 0°C to +60°C |
| Operational Humidity | 5 to 95%, no condensation |
| Protection | IP20 (IEC60529) |
| LED Indicators | 10 x Onboard LED indicators 2 x Run (Power)/Error 2 x Ethernet Link/Speed 2 x Port A TX/RX 2 x Port B TX/RX 1 x Button A indicator 1 x Button B indicator |

This marking on the product, accessories, packaging or literature (manual) indicates that the product contains electronic parts and they must be properly disposed of by following the instructions at https://intesis.com/weee-regulation
Rev.1.1
© HMS Industrial Networks S.L.U – All rights reserved
This information is subject to change without notice


















