Intesa's INMBSRTR0320000 Installation Guide

SAFETY INSTRUCTIONS
WARNING
Follow carefully this safety and installation instructions. Improper work may lead to serious harmful for your health and may also damage seriously the Intesis gateway and/or any other equipment connected to it.
The Intesis gateway must be installed by accredited electrician or similar technical personnel, following all the safety instructions given here and in accordance always with the country legislation for installation of electric equipment.
The Intesis gateway cannot be installed outdoors or exposed to direct solar radiation, water, high relative humidity or dust.
The Intesis gateway must only be installed in a restricted access location.
In case of wall mount, fix firmly the Intesis gateway on a not vibrating surface following the instructions next.
In case of DIN rail mount fix the Intesis gateway properly to the DIN rail following the instructions below.
Mounting on DIN rail inside a metallic cabinet properly connected to earth is recommended.
Disconnect always power of any wires before manipulating and connecting them to the Intesis gateway.
A power supply with an NEC Class 2 or Limited Power Source (LPS) and SELV rated is to be used.
Respect always the expected polarity of power and communication cables when connecting them to the Intesis gateway.
Supply always a correct voltage to power Intesis gateway, see details of voltage range admitted by the device in the technical characteristics below.
CAUTION: The device is to be connected only to networks without routing to the outside plant, all communication ports are considered for indoor only.
This device was designed for installation in an enclosure. To avoid electrostatic discharge to the unit in environments with static levels above 4 kV, precautions should be taken when the device is mounted outside an enclosure. When working in an enclosure (ex. making adjustments, setting switches etc.) typical anti-static precautions should be observed before touching the unit.
Safety instructions in other languages can be found at: https://intesis.com/docs/manuals/v6-safety
CONFIGURATION
Use the Configuration Tool to configure the Intesis gateway.
See instructions to download and install the latest version at: https://intesis.com/docs/software/intesis-maps-installer
Use the Ethernet connection for communication between the gateway and the configuration tool. See CONNECTIONS below and follow instructions of user’s manual for more details.
INSTALLATION
Follow instructions next to properly install the Intesis gateway.
Disconnect from mains the power supply before connecting it to the Intesis gateway.
Disconnect power of any bus or communication cable before connecting it to the Intesis gateway.
Mount the Intesis gateway in a vertical position on the wall or DIN rail following the instruction given below, respecting the safety instructions given above.
IMPORTANT: Connect a NEC Class 2 or Limited Power Source (LPS) and SELV rated power supply to the Intesis gateway, respect the polarity if DC power or Line and Neutral if AC power. This power supply must not be shared with other devices. Apply always a voltage within the range admitted by the Intesis gateway and of enough power (see technical characteristics).
Circuit-breaker must be used before the power supply. Rating 250V6A.
Connect the communication cables to the Intesis gateway, see details on the user’s manual.
Power the Intesis gateway and the rest of devices connected to it.
Wall Mount
- Separate the fixing clips in the bottom of the box, pushing them to the outside until hear the “click” which indicates that now the clips are in position for wall mount, see in the figure below.
- Use the holes of the clips to fix the box in the wall using screws. Use the template below for the wall wholes.

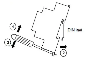
DIN Rail Mount
With the clips of the box in their original position, insert first the box in the upper edge of the DIN rail and later insert the box in the down part of the rail, using a small screwdriver and following the steps in the figure below.

CONNECTIONS

Power Supply
Must use NEC Class 2 or Limited Power Source (LPS) and SELV rated power supply. Respect polarity applied of terminals (+) and (-). Be sure the voltage applied is within the range admitted (check table below). The power supply can be connected to earth but only through the negative terminal, never through the positive terminal.
Ethernet / Modbus TCP
Connect the cable coming from the IP network to the connector ETH of the Intesis gateway. Use an Ethernet CAT5 cable. If communicating through the LAN of the building, contact the network administrator and make sure traffic on the port used is allowed through all the LAN path (check the Intesis gateway user manual for more information). With factory settings, after powering up the Intesis gateway, DHCP will be enabled for 30 seconds. After that time, if no IP is provided by a DHCP server, the default IP 192.168.100.246 will be set.
Port Modbus RTU
Connect the EIA485 bus to connectors A3 (B+), A2 (A-) and A1 (SNGD) of Intesis gateway’s Port. Respect the polarity.
Note for EIA485 port; Remember the characteristics of the standard EIA485 bus: maximum distance of 1200 meters, maximum 32 devices connected to the bus, and in each end of the bus it must be a termination resistor of 120 .
ELECTRICAL & MECHANICAL FEATURES


This marking on the product, accessories, packaging or literature (manual) indicates that the product contains electronic parts and they must be properly disposed of by following the instructions at https://intesis.com/weee-regulation
Rev.1.2 © HMS Industrial Networks S.L.U – All rights reserved This information is subject to change without notice




















