
INMBSSAM***O000
Samsung NASA to Modbus Slave or
to Home Automation systems gateway
Order Code: INMBSSAM***O000
** stands for the Intesis gateway capacity and varies depending on the specific gateway acquired
Owner’s Record
The serial number is located at the rear of the gateway.
Record this information in the space provided below.
Refer to it whenever you contact your gateway dealer or support team regarding this product.
Serial No………………………
Installation Sheet rev.1.3
HMS Industrial Networks S.L.U. ©
SAFETY INSTRUCTIONS
!WARNING
Follow carefully this safety and installation instructions. Improper work may lead to serious harm to your health and also may damage seriously the Intesis device and/or any other equipment connected to it.
The Intesis gateway must be installed by an accredited electrician or similar technical personnel, following all the safety instructions given here and in accordance always with the country legislation for installation of electric equipment.
The Intesis gateway cannot be installed outdoors or exposed to direct solar radiation, water, high relative humidity or dust.
The Intesis gateway must only be installed in a restricted access location.
In case of wall mount, fix firmly the Intesis device on a not vibrating surface following the instructions next.
In case of DIN rail mount fix the Intesis device properly to the DIN rail following the instructions below.
Mounting on DIN rail inside a metallic cabinet properly connected to earth is recommended.
Disconnect always power of any wires before manipulating and connecting them to the Intesis device.
A power supply with an NEC Class 2 or Limited Power Source (LPS) and SELV rated is to be used.
Respect always the expected polarity of power and communication cables when connecting them to the Intesis device.
Supply always a correct voltage to power the Intesis gateway, see details of voltage range admitted by the device in the technical characteristics below.
CAUTION: Risk of Explosion if Battery is replaced by an Incorrect Type. Dispose of Used Batteries according to the instructions. Battery replacement shall be done by an authorized installer.
CAUTION: The device is to be connected only to networks without routing to the outside plant, all communication ports are considered for indoor only and can be connected SELV circuits only.
This device was designed for installation in an enclosure. To avoid electrostatic discharge to the unit in environments with static levels above 4 kV, precautions should be taken when the device is mounted outside an enclosure. When working in an enclosure (ex. making adjustments, setting switches etc.) typical anti-static precautions should be observed before touching the unit.
Safety instructions in other languages can be found at:
https://intesis.com/docs/manuals/v6-safety
CONFIGURATION
Use the Configuration Tool to configure the gateway.
See instructions to download and install the latest version at:
https://intesis.com/docs/software/intesis-maps-installer
Use the Ethernet connection or the Console Port (mini USB type B connector included) to get communication between the gateway and the configuration tool.
Follow instructions in the user’s manual for more details.
INSTALLATION
Follow instructions next to properly install the gateway.
Disconnect from mains the power supply before connecting it to the Intesis gateway.
Disconnect the power of any bus or communication cable before connecting it to the Intesis gateway.
Mount the Intesis gateway on the wall or DIN rail following the instruction given below, respecting the safety instructions given above.
Connect a NEC Class 2 or Limited Power Source (LPS) and SELV rated power supply to the Intesis device, respect the polarity if DC power or Line and Neutral if AC power. Apply always a voltage within the range admitted by the Intesis device and of enough power (see technical characteristics).
Circuit-breakers must be used before the power supply. Rating 250V6A.
Connect the communication cables to the Intesis gateway, see details on the user’s manual.
Power the Intesis gateway and the rest of devices connected to it.
NOTE: The device cannot be installed in air-handling space.
Wall Mount
- Separate the fixing clips in the bottom of the box, pushing them to the outside until hearing the “click” which indicates that now the clips are in position for wall mount, see in the figure below.
- Use the holes of the to fix the box in the wall using screws. Use the template below for the wall wholes.

| Clips in their original position (for DIN rail mount) | Clips in position for wall mount |
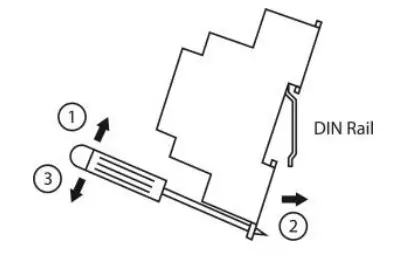
DIN Rail Mount
With the clips of the box in their original position, insert first the box in the upper edge of the DIN rail and later insert the box in the down part of the rail, using a small screwdriver and following the steps in the figure below. 
CONNECTIONS

Power Supply
Must use NEC Class 2 or Limited Power Source (LPS) and SELV-rated power supply.
If using DC power supply:
Respect polarity applied of terminals (+) and (-). Be sure the voltage applied is within the range admitted (check table below). The power supply can be connected to earth but only through the negative terminal, never through the positive terminal.
If using AC power supply:
Make sure the voltage applied is of the value admitted (24 Vac). Do not connect any of the terminals of the AC power supply to the earth, and make sure the same power supply is not supplying any other device.
Ethernet / Modbus TCP (TCP) / Home Automation / Console (UDP & TCP)
Connect the cable coming from the IP network to the connector ETH of the gateway. Use an Ethernet CAT5
cable. If communicating through the LAN of the building, contact the network administrator and make sure traffic on the port used is allowed through all the LAN path (check the gateway user manual for more information). Default IP is 192.168.100.246.
PortA / R1/R2 Samsung NASA
Connect the R1 (+) R2 (-) bus of Samsung NASA Outdoor Units to the connectors A3 (+) A4 (-) of gateway’s
PortA. Respect the polarity.
PortB / Modbus RTU
Connect the EIA485 bus to connectors B1 (B+), B2 (A-), and B3 (SNGD) of the gateway’s PortB. Respect the polarity. Remember the characteristics of the standard EIA485 bus: maximum distance of 1200 meters, maximum 32 devices connected to the bus, and in each end of the bus it must be a termination resistor of 120 Ω. Bus biasing and termination resistor for EIA485 can be enabled for PortB by means of a dedicated DIP switch – see table below.
Connect the serial cable EIA232 coming from the external serial device to the EIA232 connector of
the gateway’s PortB. This is a DB9 male (DTE) connector in which only the lines TX, RX, and GND are used.
Details of the pinout can be seen in the user’s manual. Respect the maximum distance of 15 meters.
Console Port
Connect a mini-type B USB cable from your computer to the gateway to allow communication between the
Configuration Software and the gateway. Remember that Ethernet connection is also allowed. Check the user
manual for more information.
USB
Connect a USB storage device (not an HDD) if required. Check the user manual for more information.
| Enclosure | Plastic, type PC (UL 94 V-0) Net dimensions (dxwxh): 90x88x56 mm Recommended space for installation (dxwxh): 130x100x100mm Color: Light Grey. RAL 7035 |
| Mounting | Wall. DIN rail EN60715 TH35. |
| Terminal Wiring (for power supply and low-voltage signals) | Per terminal: solid wires or stranded wires (twisted or with ferrule) 1 core: 0.5mm 2 … 2.5mm 2 2 cores: 0.5mm 2 … 1.5mm 2 3 cores: not permitted If cables are more than 3.05 meters long, Class 2 cable is required. |
| Power | 1 x Plug-in screw terminal block (3 poles) 9 to 36VDC +/-10%, Max.: 140mA. 24VAC +/-10% 50-60Hz, Max.: 127mA Recommended: 24VDC |
| Ethernet | 1 x Ethernet 10/100 Mbps RJ45 2 x Ethernet LED: port link and activity |
| Port A | 1 x Samsung NASA port Plug-in screw terminal block orange (2poles) R1 R2 (Samsung Nasa) 1500VDC isolation from other ports 1 x Plug-in screw terminal block green (2 poles) Reserved for future use |
| Switch A (SWA) | 1 x DIP-Switch for PORTA configuration: Reserved for future use (leave OFF, default) |
| PORT B | 1 x Serial EIA232 (SUB-D9 male connector) Pinout from a DTE device 1500VDC isolation from other ports (except PORT B: EIA485) 1 x Serial EIA485 Plug-in screw terminal block (3 poles) A, B, SGND (Reference ground or shield) 1500VDC isolation from other ports(except PORT B: EIA232) |
| Switch B (SWB) | 1 x DIP-Switch for serial EIA485 configuration: Position 1: ON: 120 Ω termination active Off: 120 Ω termination inactive (default)Position 2-3:ON: Polarization active Off: Polarization inactive (default) |
| Battery | Size: Coin 20mm x 3.2mm Capacity: 3V / 225mAh Type: Manganese Dioxide Lithium |
| Console Port | Mini Type-B USB 2.0 compliant 1500VDC isolation |
| USB port | Type-A USB 2.0 compliant Only for USB flash storage device (USB pen drive) Power consumption limited to 150mA (HDD connection not allowed) |
| Push Button | Button A: Not used Button B: Not used |
| Operation Temperature | 0°C to +60°C |
| Operational Humidity | 5 to 95%, no condensation |
| Protection | IP20 (IEC60529) |
| LED Indicators | 10 x Onboard LED indicators 2 x Run (Power)/Error 2 x Ethernet Link/Speed 2 x Port A TX/RX 2 x Port B TX/RX 1 x Button A indicator 1 x Button B indicator |

This marking on the product, accessories, packaging or literature (manual) indicates that the product contains electronic parts and they must be properly disposed of by following the instructions at https://intesis.com/weee-regulation

Rev.1.3
© HMS Industrial Networks S.L.U – All rights reserved
This information is subject to change without notice
https://www.intesis.com


















