Contents hide
AXXESS AXPIO-JL1 Jeep Wrangler

Product Information
- The product is the AXPIO-JL1, designed for the Jeep Wrangler JL 2018-Up. It is specifically designed for Pioneer’s DMH-W4600NEX/WC4660NEX. However, if you have a Pioneer 9 DMH-WC6600NEX, you will need to purchase the Metra Floating Mount Kit 109-UN02 separately.
- The kit includes a wiring harness, antenna adapter, and GPS antenna adapter. For up-to-date vehicle specific applications, you can visit AxxessInterfaces.com.
Product Usage Instructions
Dash Disassembly
- Unsnap and remove the panel below the steering column. (Figure A)
- Using the panel removal tool, carefully unclip the climate control panel, unplug the HVAC and start/stop button, and then set aside. (Figure B)
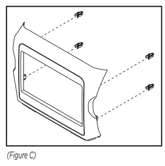
- Remove (2) Phillips screws securing the radio trim panel, then, starting at the bottom, unclip and remove the panel. (Figure C)
- Remove (4) Phillips screws securing the factory radio, disconnect the wiring, and then remove the radio. (Figure A)
Kit Assembly – Radio Provision
- Secure the shallow radio brackets to the radio using screws supplied with the radio. (Figure A)
- Locate the factory wiring harness and antenna connector in the dash and complete all necessary connections to the radio using the proper mating adapter from Metra and/or Axxess.
- Reconnect the negative battery terminal and test the Pioneer radio for proper operation.
- Place the radio into the dash, then secure it using the factory screws.
- Attach (4) panel clips provided with this kit onto the radio bezel, and then snap the bezel over the radio. (Figure B)
- Reassemble the dash in the reverse order of disassembly to complete the installation.
Pioneer Modular DDIN Radio Provision
- Secure the radio display to the modular radio brackets using (6) screws supplied with the radio. Note: Reference the aftermarket radio’s installation manual to determine which screws secure the radio display. (Figure A)
- Secure the radio chassis to the radio display/bracket assembly using (4) screws supplied with the radio. Note: Reference the aftermarket radio’s installation manual to determine which screws secure the radio chassis. (Figure B)
- Route the RGB extension cable from the radio chassis to the display screen, then connect the cable to the display screen.
- Locate the factory wiring harness and antenna connector in the dash and complete all necessary connections to the radio using the proper mating adapter from Metra and/or Axxess.
- Reconnect the negative battery terminal and test the Pioneer radio for proper operation.
- Place the radio display into the dash and secure it using the factory screws.
- Attach (4) panel clips provided with this kit onto the radio bezel, then snap the bezel over the radio. (Figure C)
Note: This kit will function in both Single-Zone and Dual-Zone vehicles:
- All HVAC functions will be retained.
- Single-Zone vehicles will only get status feedback of the HVAC functions, while Dual-Zone vehicles can also be controlled through the radio screen.
- Compass is only retained on vehicles equipped with the UConnect 3 (5″ touchscreen).
- The External Speaker is only required in vehicles with safety group features.
Attention! Designed specifically for Pioneer’s DMH-W4600NEX/WC4660NEX. Pioneer 9″ DMH-WC6600NEX will require the Metra Floating Mount Kit 109-UN02. (sold separately)
KIT COMPONENTS

- A) Radio bezel
- B) Shallow mount brackets (2)
- C) Modular radio brackets (2)
- D) Panel clips (4)
DASH DISASSEMBLY
- Unsnap and remove the panel below the steering column. (Figure A)
- Using the panel removal tool, carefully unclip the climate control panel, unplug the HVAC and start/stop button, and then set aside. (Figure B)
- Remove (2) Phillips screws securing the radio trim panel, then, starting at the bottom, unclip and remove the panel. (Figure C)
- Remove (4) Phillips screws securing the factory radio, disconnect the wiring, and then remove the radio.

KIT ASSEMBLY
Radio provision
- Secure the shallow radio brackets to the radio using screws supplied with the radio. (Figure A)
- Locate the factory wiring harness and antenna connector in the dash and complete all necessary connections to the radio. Metra recommends using the proper mating adapter from Metra and/or Axxess.
- Reconnect the negative battery terminal and test the Pioneer radio for proper operation.
- Place the radio into the dash, then secure using the factory screws.
- Attach (4) panel clips provided with this kit onto the radio bezel, and then snap the bezel over the radio. (Figure B)
- Reassemble the dash in the reverse order of disassembly to complete the installation.

Pioneer Modular DDIN radio provision
- Secure the radio display to the modular radio brackets using (6) screws supplied with the radio. (Figure A)
Note: Reference the aftermarket radio’s installation manual to determine which screws secure the radio display. - Secure the radio chassis to the radio display/bracket assembly using (4) screws supplied with the radio. (Figure B) Note: Reference the aftermarket radio’s installation manual to determine which screws secure the radio chassis.
- Route the RGB extension cable from the radio chassis to the display screen, then connect the cable to the display screen.

- Locate the factory wiring harness and antenna connector in the dash and complete all necessary connections to the radio. Metra recommends using the proper mating adapter from Metra and/or Axxess.
- Reconnect the negative battery terminal and test the Pioneer radio for proper operation.
- Place the radio display into the dash, and then secure using the factory screws.
- Attach (4) panel clips provided with this kit onto the radio bezel, then snap the bezel over the radio. (Figure C)
- Reassemble the dash in the reverse order of disassembly to complete the installation.

AXXESS INTERFACE INSTALLATION
FEATURES
- Provides accessory power (12-volt 10-amp)
- Retains R.A.P. (retained accessory power)
- Provides NAV outputs (parking brake, reverse, speed sense)
- Allows visual of HVAC and gauges on Pioneer screen
- Allows adjustment of HVAC functions through Pioneer screen
- Retains audio controls on the steering wheel
- Allows for auto stop/start override (if equipped)
- Works in both Single and Dual-zone vehicles
- Retains safety chimes (speaker sold separately)
- Designed for amplified or non-amplified vehicles
- Micro-B USB updatable
- Allows the retention and adjustment of the OE Personalization Settings
- Plug-n-Play installation
- Designed for Pioneer’s DMH-W4600NEX/WC4660NEX
- Painted scratch resistant matte black to match the OE finish
- Includes radio antenna adapter & antenna adapter for GPS
- Includes water resistant -IP68 rated direct OE camera replacement
- Includes a 3′ USB/AUX/HDMI® replacement cable with panel
COMPONENTS
- LD-CH5-PIO
- LD-CHRYHAZ2T
- LD-2PIN-CAN
- Radio interface • Jeep Camera (JP-JLKT)
- PR04AVIC-PIO or PR04-PIORCA Harness
- External Speaker
- AXUSB-RAM1
TOOLS REQUIRED
- Crimping tool and connectors, or solder gun, solder, and heat shrink
- Tape
- Wire cutter
- Zip-ties
AXUSB-RAM1 INSTALLATION
- Remove (1) Phillips screw located above the window switches. (Figure A-1, B-1)
- Using a panel removal tool, unclip the entire instrument panel trim. (Figure B-2)
- Disconnect the wiring harness connector, then unclip and remove the Media Hub from the backside of the panel. (Figure C-1)
- lug in the AXUSB-RAM1 and route the harness to the radio location.
- Note: A Micro HDMI to HDMI cable (sold separately) is necessary, if HDMI input is desired.
- Attention! USB Type-C adapter may be necessary. This is supplied with the Pioneer Radio.
- Note: Refer to the Pioneer Radio installation manual.
- Once the AXUSB-RAM1 is installed, this portion of the dash can be reassembled.

CAMERA REMOVAL
- Using the panel removal tool, carefully unclip and remove the interior panel. (Figure A)
- Disconnect the (2) smaller connectors shown. (Figure B)
- Pop out the grommet behind the (2) connectors and run the harness outside to allow easier access when removing the spare tire mount from the tailgate.
Note: Retain this harness, as it will still be needed for the third brake light.
- Remove the bolts holding the tire onto the spare tire mount.
- Remove (4) 14mm bolts from the spare tire mount, where indicated. (Figure A)
- Disconnect any wiring and remove the spare tire mount from the tailgate.
- Remove (2) T-25 Torx screws to release the camera mount from the spare tire mount. (Figure B)

- Using the (3) bolts shown, push down on the bolts and up on the mount to dislodge the camera mount from the back of the spare tire mount. (Figure A)
Note: Some force may be required. - Once the camera mount is removed, extract (3)
- 8H torx screws and remove the camera from the mount. (Figure B)
- Unplug the camera from the spare tire harness and keep the harness.
Note: Retain this harness, as it will still be needed for the third brake light. - Tape back and secure the camera connector, in case the factory camera needs to be put back in.

CAMERA ASSEMBLY
- Place the camera between the front and rear housings. (Figure A)
Note: Make sure the camera is properly positioned, using the small top ledge as an indicator. - Place the camera mount back into the spare tire mount using the factory screws or (3) stainless steel screws provided with the iBeam kit. (Figure B)
- Connect the wiring and reassemble the spare tire mount back onto the tailgate following the camera removal steps in reverse.

WIRING
- After reassembling the spare tire bracket, plug the brake harness back into the tailgate and run the wire through the tailgate using zip-ties. Follow the current run of the wiring in the tailgate to make sure the panel will fit properly once the wires are run.
- Run the wire through the truck bed and into the vehicle.
- Once inside the vehicle, power the camera via a reverse trigger from the taillight.
- Connect the RED wire to the reverse trigger. Note: There is a RED wire located at the opposite end of the harness with the YELLOW RCA, if the user wants the camera powered with an accessory circuit.
\Connect the BLACK wire to a chassis ground.
- Connect the RED wire to the reverse trigger. Note: There is a RED wire located at the opposite end of the harness with the YELLOW RCA, if the user wants the camera powered with an accessory circuit.
- Run the wire down the length of the vehicle carefully.
Attention: Make sure not to run the wire near any objects that emit extreme heat or could catch or pinch the wire.
USB REPLACEMENT & CAMERA INSTALLATION
- If power is required for the camera, the connection must be hardwired:
- This can be done at the radio using the Red wire for power, and the Black wire for ground.
- The Black Ground wire from the camera will have to be extended and routed to the front with the video RCA. (Figure A)
Note: Remove the glovebox to route the camera RCA to the dash.
- If equipped with TPMS, and you wish to add the visual to the Pioneer Radio screen:
Route the LD-CAN3T harness behind the glovebox and connect to the junction pictured below. Any available spot can be used. If no spots are available, unplug one of the 2-pin connectors and connect to the other end of the LD-CAN3T. This will connect to the LD-CH5-PIO 2-Pin labeled “CAN 3”. - If you do NOT have the LD-CAN3T:
Connect Brown/White from the LD-2PIN-CAN to one of the 2-pins Yellow wire, then Brown to the other wire in the 2-Pin. This will connect to the LD-CH5-PIO 2-Pin labeled “CAN 3”. Brown/White = CAN LOW Brown = CAN High
Note: The glovebox must be removed to access this connection. Refer to photo for connection point. (Figure B)
INTERFACE INSTALLATION
If the vehicle is equipped with rear parking sensors that you wish to retain:
- Install the provided speaker in the dash prior to assembling the radio components.
- Make sure this is mounted in a location suitable for the driver to hear.*
Audio level for the speaker can be changed via the radio, once installed.
DASH ASSEMBLY
Once all functions are verified:
- Mount the radio into place using the (4) screws removed from dash disassembly.
- Attach the radio faceplate provided with this kit and secure it below the radio with the (2) Phillips screws from dash disassembly.
- Replug and snap the climate control panel into the dash the same way it was removed.
- Reattach the panel under the steering column to complete the installation.
RADIO OPERATION
- Vehicle Selection – Allows you to select the vehicle the radio is being installed in.
Vehicle type must be selected to activate menu & HVAC functions, as well as steering wheel controls. Press Make to change the vehicle type. Then press Confirm. The radio will then reset and lock in the selected vehicle.
- Car Features – The source for accessing all vehicle information and options.

- HVAC Operation – HVAC Status and Control Screen.

- Vehicle Info Screen – Displays various information of the vehicle (TPMS, Park Position, Lights).

- Customizations Menu – Allows full control of vehicle personalization options.
Access this menu by selecting the gear icon on the previous screenshot.
- About Screen – Feedback screen for interface software information.

SPECIFICATIONS
- RCA output for aftermarket radios or monitors
- Can be viewed while driving with compatible monitor
- ABS plastic housing to mount camera
- Four (4) Stainless steel screws provided for mounting
- Direct OE replacement
- Resolution: 550 TV Lines
- Selectable parking lines
- Viewing angle – 160 degrees
- Water resistant – IP68
JP-JTKT Kit Includes:
- One (1) camera and extension cable
- Front and back – ABS camera housing
- Four (4) stainless steel screws
- Instruction booklet

Having difficulties? We’re here to help.
Contact our Tech Support line at: 386-257-1187 Or via email at: [email protected]
Tech Support Hours (Eastern Standard Time)
- Monday – Friday: 9:00 AM – 7:00 PM
- Saturday: 10:00 AM – 7:00 PM
- Sunday: 10:00 AM – 4:00 PM







































