AXPIO-JL1
INSTALLATION INSTRUCTIONS

Jeep Wrangler (JL) 2018-Up/Gladiator 2020-Up (Camera Not Applicable)
Note: This kit will function in both Single-Zone and Dual-Zone vehicles.
Single-Zone vehicles will only get status feedback of the HVAC functions, while Dual-Zone vehicles can also be controlled through the radio screen.
All HVAC functions will be retained. Compass is only retained on vehicles equipped with the UConnect 3 (5” touchscreen). The External Speaker is only required in vehicles with safety group features.
Attention! Designed for Pioneer’s DMH-W4600NEX/WC4660NEX. Pioneer 9” DMH-WC6600NEX will require minor custom mounting along with the Metra 109-UN02 (sold separately)
KIT COMPONENTS
• A) Radio bezel • B) Shallow mount brackets • C) Modular radio brackets • D) Panel clips (4)

WIRING & ANTENNA CONNECTIONS
Wiring Harness: Included with kit Antenna Adapter: 40-EU10 • 40-GPS-PIO (included)
TOOLS & INSTALLATION ACCESSORIES REQUIRED
- Panel removal tool
- Phillips screwdriver
Product Info
http://axxessinterfaces.com/product/AXPIO-JL1
| AxxessInterfaces.com | © COPYRIGHT 2020 METRA ELECTRONICS CORPORATION | REV. 12/1/20 INSTAXPIO-JL1 |
DASH DISASSEMBLY
- Unclip and remove the panel below the steering column. (Figure A)

- Unclip the climate control panel and set aside. (Figure B)

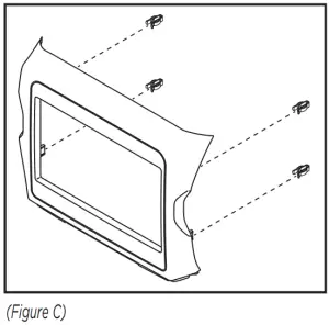
- Remove (2) Phillips screws securing the radio trim panel, then unclip and remove the panel. (Figure C)

- Remove (4) Phillips screws securing the radio, then unplug and remove.
KIT ASSEMBLY
Radio provision
- Secure the shallow radio brackets to the radio using screws supplied with the radio. (Figure A)

- Locate the factory wiring harness and antenna connector in the dash and complete all necessary connections to the radio. Metra recommends using the proper mating adapter from Metra and/or Axxess. Test the radio for proper operation.
- Place the radio into the dash, then secure using the factory screws.
- Attach (4) panel clips provided onto the radio bezel, then attach the bezel over the radio. (Figure B)

- Reassemble the dash in reverse order of disassembly to complete the installation.
Pioneer Modular DDIN radio provision
- Secure the radio display to the modular radio brackets using (6) screws supplied with the radio. (Figure A)
Note: Reference the installation manual provided with the radio for which hardware to use. The display screen and radio chassis use two different types of screws. - Secure the radio chassis to the radio display/bracket assembly using (4) screws supplied with the radio. (Figure B)

- Route the RGB extension cable from the radio chassis to the display screen, then connect it to the display screen.
- Locate the factory wiring harness and antenna connector in the dash and complete all necessary connections to the radio. Metra recommends using the proper mating adapter from Metra and/or Axxess. Test the radio for proper operation.
- Place the radio display into the dash, then secure using the factory screws.
- Attach (4) panel clips provided onto the radio bezel, then attach the bezel over the radio. (Figure C)

- Reassemble the dash in reverse order of disassembly to complete the installation.
AXXESS INTERFACE INSTALLATION
FEATURES
- Provides accessory power (12-volt 10-amp)
- Retains R.A.P. (retained accessory power)
- Provides NAV outputs (parking brake, reverse, speed sense)
- Allows visual of HVAC and gauges on Pioneer screen
- Allows adjustment of HVAC functions through Pioneer screen
- Retains audio controls on the steering wheel
- Allows for auto stop/start override (if equipped)
- Works in both Single and Dual-zone vehicles
- Retains safety chimes (speaker sold separately)
- Designed for amplified or non-amplified vehicles
- Micro-B USB updatable
- Allows the retention and adjustment of the OE Personalization Settings
- Plug-n-Play installation
- Designed for Pioneer’s DMH-W4600NEX/WC4660NEX
- Painted scratch-resistant matte black to match the OE finish
- Includes radio antenna adapter & antenna adapter for GPS
- Includes water-resistant – ip68 rated direct oe camera replacement
- Includes USB/AUX/HDMI replacement panel (3 feet)
COMPONENTS
- LD-CH5-PIO • LD-CHRYHAZ2T • LD-2PIN-CAN
- Radio interface • Jeep Camera (JP-JLKT) • PR04AVIC-PIO
- External Speaker • AXUSB-RAM1
TOOLS REQUIRED
- Crimping tool and connectors, or solder gun, solder, and heat shrink
- Tape • Wire cutter • Zip ties
AXUSB-RAM1 INSTALLATION
- Remove the screw located above the window switches. Then with a panel tool, pop off the entire instrument panel trim from its retaining clips.(Figure A & B)

- Disconnect the wiring harness connector, then unclip and remove the Media Hub from the backside of the panel. (Figure C)

- Snap-in the AXUSB-RAM1 and route the harness to the radiolocation.
Note: A Micro HDMI to HDMI cable is necessary if HDMI input is desired. (sold separately)
Attention! USB Type-C adapter may be necessary. This is supplied with Pioneer Radio.
Note: Refer to the Pioneer Radio installation manual. - Once the AXUSB-RAM1 is installed, this portion of the dash can be reassembled.
CAMERA REMOVAL
- Remove the interior panel. It is held on with panel clips. (Figure A)

- Disconnect the two connectors shown.
(Figure B) Pop-out the grommet behind these two connectors and run the harness outside. This will allow easier access when removing the spare tire mount from the vehicle. Retain this harness as it will still be needed for the third brake light.
CAMERA REMOVAL
- Remove the bolts holding the tire onto the back of the tailgate.
- To remove the camera it is easiest to remove the spare tire mount from the tailgate. Remove the four 14mm bolts from the mount to remove it from the tailgate. (Figure A)

- Disconnect any wiring and remove the mount from the tailgate. Remove the two T-25 torx to release the camera mount from the spare tire mount. (Figure B)

CAMERA REMOVAL
- Use the (3) bolts to help push the camera mount of the back of the spare tire mount. Push the bolts down. Some force may be needed. (Figure A)

- Remove the three T-8H Torx screws to remove the camera from the mount. (Figure B)

- Unplug the camera from the spare tire harness and keep the harness. This will still be needed for the brake light. Tape back and secure the camera connector if the need arrives to go back to the factory camera.
ASSEMBLY
- Place the camera between the front and rear housings. (Figure A) Make sure to notice and properly place the camera using the small top ledge as an indicator.

- Run the assembly through the jeep spare tire housing and secure with either the factory screws or the provided 3 stainless steel screws. (Figure B)

- Re-assemble spare tire assembly following the steps in reverse.
WIRING
- After re-assembly spare tire bracket. Plug the brake harness back into the tailgate and run the wire through the tailgate using zip-ties. Follow the current run of the wiring in the tailgate to help with the fitment of the panel that will go back on once the wires are run.
- Run the wire through the boot into the vehicle.
- Once inside the vehicle, you can power the camera via a reverse trigger from the taillight. Connect the RED wire to the reverse trigger. Connect the BLACK wire to the chassis ground. The RED wire is also located at the opposite end of the harness with the YELLOW RCA if the user wants the camera powered with an accessory circuit.
- Run the wire down the length of the vehicle carefully. Make sure not to run near any objects that can cause extreme heat or catch the wire.

USB REPLACEMENT & CAMERA INSTALLATION
- If power is required for the camera, the connection must be hardwired.
- This can be done at the radio using the Red wire for power, and the Black wire for ground.
- The Black Ground wire from the camera will have to be extended and routed to the front with the video RCA.
Note: Remove the glovebox to route the camera RCA to the dash.

If equipped with TPMS, and you wish to add the visual to the Pioneer Radio screen:
- Route the LD-CAN3T harness behind the glovebox and connect to the junction pictured below. Any available spot can be used. If no spots are available, unplug one of the 2-pin connectors and connect to the other end of the LD-CAN3T. This will connect to the LD-CH5PIO 2-Pin labeled “CAN 3”.
If you do NOT have the LD-CAN3T:
- Connect Brown/White from the LD-2PIN-CAN to one of the 2-pins Yellow wire, then Brown to the other wire in the 2-Pin. This will connect to the LD-CH5-PIO 2-Pin labeled “CAN 3”.
Brown/White = CAN LOW
Brown = CAN High
Note: The glovebox must be removed to access this connection. Refer to the photo for the connection point.

INTERFACE INSTALLATION
If the vehicle is equipped with rear parking sensors that you wish to retain:
- Install the provided speaker in the dash prior to assembling the radio components.
- Make sure this is mounted in a location suitable for the driver to hear.*
* Audio level for the speaker can be changed via the radio, once installed.
From the LD-CH5-PIO:
The following connections should be made just prior to the final installation to test all functions of the new radio.
- Connect the 16-pin connector into the Radio Interface.
- Connect the 22-pin connector into the Radio Interface.
- Connect the External Speaker to the 2-Pin labeled “EXT SPKR”.
- Connect the 18-pin plug into the PR04AVIC-PIO Radio Harness.
- Connect the small 4-pin straight connector directly into the radio. (Metra Adapter Input)
- Connect the plug labeled “AUX IN” to the AUX-Input on the radio.
- Disregard the Red/White RCA pair, it will not be used in this application.
Connect the RCA pair from the AXUSB-RAM1 instead. - Disregard the Yellow RCA, It will not be used in this application. (See Camera Installation).
- Connect the Yellow Male RCA from the JP-JLKT Installation to the Rear Camera input.
- Connect the 40-GPS-PIO To the radio and to the GPS antenna in the vehicle.
This can be Blue or Yellow in color.
Note: Alternatively, the GPS antenna supplied with the Pioneer radio can be used. - Connect the 40-EU10 to the radio and to the FM/AM antenna in the vehicle. White in color.
- Connect and route the microphone provided with the Pioneer radio to a suitable location.
- Connect the 2-Pin labeled “CAN 2” to the LD-CHRYHAZ2T.
- Connect the 2-Pin labeled “CAN 3” to the LD-2PIN-CAN, or LD-CAN3T for TPMS.
- Connect the LD-CHRYHAZ2T and the Start/Stop button harness into the climate control panel.
- Connect the LD-CHRYHAZ2T into the harness previously removed from this panel.
- Connect the LD-CH5-PIO into the vehicle’s harness, then test the operation of the kit.
Note: Refer to Pioneer Installation manual supplied with radio for additional details. - Select the Vehicle Type in the “Car Features” menu. (see radio screenshots).
Important! Verify the backup camera installation, HVAC status & control, Steering wheel audio controls, and External Speaker output prior to completing dash assembly.
DASH ASSEMBLY
Once all functions are verified:
- Mount the radio into place using the (4) screws removed from dash disassembly.
- Attached is the supplied radio faceplate and secure it with two screws below the radio.
- Snap the climate panel into the dash the same way it was removed.
RADIO OPERATION
Vehicle Selection – Allows you to select the vehicle the radio is being installed in.
- Vehicle type must be selected to activate menu & HVAC functions, as well as steering wheel controls. Press Make to change the vehicle type. Then press Confirm. The radio will then reset and lock in the selected vehicle.

Car Features – The source for accessing all vehicle information and options.

HVAC Operation – HVAC Status and Control Screen.

Vehicle Info Screen – Displays various information of the vehicle (TPMS, Park Position, Lights).

Customizations Menu – Allows full control of vehicle personalization options.
- Access this menu by selecting the gear icon on the previous screenshot.

About Screen – Feedback screen for interface software information.

SPECIFICATIONS
| • RCA output for aftermarket radios or monitors | • Resolution: 550 TV Lines |
| • Can be viewed while driving with a compatible monitor | • Selectable parking lines |
| • ABS plastic housing to mount camera | • Viewing angle – 160 degrees |
| • (4) Stainless steel screws provided for mounting | • Water resistant – IP68 |
| • Direct OE replacement | Kit Includes • 1 camera and extension cable • Front and back – ABS camera housing • 4 stainless steel screws • Instruction booklet |

Having difficulties? We’re here to help.
Contact our Tech Support line at: 386-257-1187
Or via email at: [email protected]
Tech Support Hours (Eastern Standard Time)
Monday – Friday: 9:00 AM – 7:00 PM
Saturday: 10:00 AM – 7:00 PM
Sunday: 10:00 AM – 4:00 PM
KNOWLEDGE IS POWER
Enhance your installation and fabrication skills by enrolling in the most recognized and respected mobile electronics school in our industry.
Log onto www.installerinstitute.com or call 800-354-6782 for more information and take steps
toward a better tomorrow.
Metra recommends MECP
certified technicians
| AxxessInterfaces.com | © COPYRIGHT 2020 METRA ELECTRONICS CORPORATION | REV. 12/1/20 INSTAXPIO-JL1 |





Note: Reference the installation manual provided with the radio for which hardware to use. The display screen and radio chassis use two different types of screws.






























