Johnson Controls IQ Hub Alarm Panel User Guide
Mounting Instructions
- Mount the bracket to the wall using appropriate hardware ensuring it is level.
A screw shall be used in all 4 screws holes for UL2610 installations
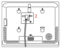
- Insert the barrel from the power supply into the barrel jack in the back of the panel.

- Position the panel onto the backplate and then slide down, making sure that all 4 tabs hook into the back of the panel.

- Secure with the top screw so that the panel cannot be removed from the backplate.

Connect power supply
WARNING! Use 12vDC Power Supply ONLY

Press and hold the power button on the back right side of the panel for 3 seconds to power up


CREATE ACCOUNT
TRY THE MOBILE TECH APP
ON SCREEN SETUP WIZARD (Auto Launch)

Once the panel powers up the onscreen wizard will automatically appear.
Follow the prompts to complete your installation.
SETUP WIZARD (Manual Launch)

UL/cUL Residential Fire and Burglary and UL/ULC Commercial Burglary Alarm Control Unit Conforms to ANSI/UL Standards UL985, UL1023, & UL2610
Certified to ULC Sub. S545 & ULC Std. S304
Doc#: IQH-QG-05-21 Rev Date: 05/05/21 ![]()
Qolsys, Inc. proprietary. Reproduction without written consent is not permitted.
PLEASE READ THE FOLLOWING TERMS AND CONDITIONS CAREFULLY BEFORE INSTALLING OR USING THE SOFTWARE EMBEDDED IN OR USED WITH THE HARDWARE PRODUCTS PROVIDED BY QOLSYS (“QOLSYS PRODUCTS”) AND ALL OTHER SOFTWARE AND DOCUMENTATION PROVIDED BY QOLSYS WITH OR FOR USE WITH THE ACCOMPANYING QOLSYS PRODUCTS (COLLECTIVELY, THE “SOFTWARE”)
THE TERMS AND CONDITIONS OF THIS END USER LICENSE AGREEMENT (“AGREEMENT”) GOVERN USE OF THE SOFTWARE PROVIDED BY QOLSYS, INC. (“QOLSYS”).
Qolsys is willing to license the Software to you only upon the condition that you accept all the terms contained in this Agreement. If you install or use the Software, then you have indicated that you understand this Agreement and accept all of its terms. If you are accepting the terms of this Agreement on behalf of a company or other legal entity, you represent and warrant that you have the authority to bind that company or other legal entity to the terms of this Agreement, and, in such event, “you” and “your” will refer to that company or other legal entity. If you do not accept all the terms of this Agreement, then Qolsys is unwilling to license the Software to you, and you are not authorized to use the Software. “Documentation” means Qolsys’ then current generally available documentation for use and operation of the Software.
- Grant of License. Conditioned upon your compliance with the terms and conditions of this Agreement, Qolsys grants you a revocable non-exclusive, non-transferable and non-sublicensable license to use the Software, solely as embedded in or pre-installed on the Qolsys Products and solely for your non-commercial personal use. Qolsys reserves all rights in the Software not expressly granted to you in this Agreement. As a condition to this license, Qolsys may collect, use and share with its engineering and marketing partners certain information about your Qolsys Products and how they are used.
- Restrictions. Your use of the Software must be in accordance with its Documentation. You will be solely responsible for ensuring your use of the Software is in compliance with all applicable foreign, federal, state and local laws, rules and regulations. Except for any rights provided with respect to included open source software or as expressly specified in this Agreement, you may not: (a) copy, modify (including but not limited to adding new features or otherwise making adaptations that alter the functioning of the Software), or create derivative works of the Software; (b) transfer, sublicense, lease, lend, rent or otherwise distribute the Software to any third party; or (c) otherwise use the Software in a way not permitted by the terms of this Agreement. You acknowledge and agree that portions of the Software, including but not limited to the source code and the specific design and structure of individual modules or programs, constitute or contain trade secrets of Qolsys and its licensors. Accordingly, you agree not to disassemble, decompile or reverse engineer the Software, in whole or in part, or permit or authorize a third party to do so, except to the extent such activities are expressly permitted by law notwithstanding this prohibition. The Software may be subject to additional restrictions and conditions on use as specified in the Documentation, which additional restrictions and conditions are hereby incorporated into and made a part of this Agreement. Under no circumstances will Qolsys be liable or responsible for any use, or any results obtained by the use, of the services in conjunction with any services, software, or hardware that are not provided by Qolsys. All such use will be at your sole risk and liability.
- Ownership. The copy of the Software is licensed, not sold. You own the Qolsys Product in which the Software is embedded, but Qolsys and its licensors retain ownership of the copy of the Software itself, including all intellectual property rights therein. The Software is protected by United States copyright law and international treaties. You will not delete or in any manner alter the copyright, trademark, and other proprietary rights notices or markings appearing on the Software as delivered to you. This Agreement does not grant you any rights in connection with any trademarks or service marks of Qolsys, its affiliates or its suppliers.
- Maintenance, Support and Updates. Qolsys is under no obligation to maintain, support or update the Software in any way, or to provide updates or error corrections. However, if any bug fixes, maintenance releases or updates are provided to you by Qolsys, its dealers or a third party, such fixes, releases and updates are and shall be considered “Software”, and will be subject to the terms of this Agreement, unless you receive a separate license from Qolsys for that release or update that supersedes this Agreement.
- Subsequent Agreement. Qolsys may also supersede this Agreement with a subsequent Agreement pursuant to providing you with any future component, release, upgrade or other modification or addition to the Software. Similarly, to the extent that the terms of this Agreement conflict with any prior Agreement or other agreement between you and Qolsys regarding the Software, the terms of this Agreement shall prevail.
- Term. The license granted under this Agreement remains in effect for a period of 75 years, unless earlier terminated in accordance with this Agreement. You may terminate the license at any time by destroying all copies of the Software in your possession or control. The license granted under this Agreement will automatically terminate, with or without notice from Qolsys, if you breach any term of this Agreement. In addition, either party may, in its sole discretion, elect to terminate this Agreement on written notice to the other party upon the bankruptcy or insolvency of the other party or upon the bankruptcy or insolvency of the other party upon the commencement of any voluntary or involuntary winding up, or upon the filing of any petition seeking the winding up of the other party. Upon termination or expiration of this Agreement, the license granted in Section will automatically terminate and you must at Qolsys’ option, either promptly destroy or return to Qolsys all copies of the Software in your possession or control. On Qolsys’ request, you will provide Qolsys with a signed written statement confirming that the Software has been permanently removed from your systems.
- Limited Warranty. THE SOFTWARE IS PROVIDED “AS IS”, WITHOUT WARRANTY OF ANY KIND. QOLSYS DISCLAIMS ALL WARRANTIES AND CONDITIONS, EXPRESS OR IMPLIED, INCLUDING BUT NOT LIMITED TO ANY IMPLIED WARRANTIES AND CONDITIONS OF MERCHANTABILITY, FITNESS FOR A PARTICULAR PURPOSE AND NON-INFRINGEMENT, AND ANY WARRANTIES AND CONDITIONS ARISING OUT OF COURSE OF DEALING OR USAGE OF TRADE. NO ADVICE OR INFORMATION, WHETHER ORAL OR WRITTEN, OBTAINED FROM QOLSYS OR ELSEWHERE WILL CREATE ANY WARRANTY OR CONDITION NOT EXPRESSLY STATED IN THIS AGREEMENT. QOLSYS DOES NOT WARRANT THAT THE SOFTWARE WILL MEET YOUR EXPECTATIONS OR REQUIREMENTS, THAT THE OPERATION OF THE SOFTWARE WILL BE ERROR-FREE OR UNINTERRUPTED, OR THAT ALL SOFTWARE ERRORS WILL BE CORRECTED.
- Limitation of Liability. QOLSYS’ TOTAL LIABILITY TO YOU FROM ALL CAUSES OF ACTION AND UNDER ALL THEORIES OF LIABILITY WILL BE LIMITED TO $100. IN NO EVENT WILL QOLSYS BE LIABLE TO YOU FOR ANY SPECIAL, INCIDENTAL, EXEMPLARY, PUNITIVE OR CONSEQUENTIAL DAMAGES (INCLUDING LOSS OF PROPERTY OR LOSS OF DATA OR BUSINESS INTERUPTION) OR FOR THE COST OF PROCURING SUBSTITUTE PRODUCTS ARISING OUT OF OR IN CONNECTION WITH THIS AGREEMENT OR THE EXECUTION OR PERFORMANCE OF THE SOFTWARE, WHETHER SUCH LIABILITY ARISES FROM ANY CLAIM BASED UPON CONTRACT, WARRANTY, TORT (INCLUDING NEGLIGENCE), STRICT LIABILITY OR OTHERWISE, AND WHETHER OR NOT QOLSYS HAS BEEN ADVISED OF THE POSSIBILITY OF SUCH LOSS OR DAMAGE. THE FOREGOING LIMITATIONS WILL SURVIVE AND APPLY EVEN IF ANY LIMITED REMEDY SPECIFIED IN THIS AGREEMENT IS FOUND TO HAVE FAILED OF ITS ESSENTIAL PURPOSE. Some jurisdictions do not allow the limitation or exclusion of liability for incidental or consequential damages, so the above limitation or exclusion may not apply to you.
- U.S. Government End Users. The Software and Documentation are “commercial items” as that term is defined in FAR 2.101, consisting of “commercial computer software” and “commercial computer software documentation,” respectively, as such terms are used in FAR 12.212 and DFARS 227.7202. If the Software and Documentation are being acquired by or on behalf of the U.S. Government, then, as provided in FAR 12.212 and DFARS 227.7202-1 through 227.7202-4, as applicable, the U.S. Government’s rights in the Software and Documentation will be only those specified in this Agreement.
- Export Law. You agree to comply fully with all U.S. export laws and regulations to ensure that neither the Software nor any technical data related thereto nor any direct product thereof are exported or reexported directly or indirectly in violation of, or used for any purposes prohibited by, such laws and regulations.
- Open Source and Other Third Party Code. Portions of the Software may be subject to certain third party license agreements governing the use, copying, modification, redistribution and warranty of those portions of the Software, including what is commonly known as “open source” software. Such portions of the Software are governed solely by the terms of such other license, and no warranty is provided under this Agreement for open source software. By using the Software you are also agreeing to be bound to the terms of such third party licenses. If provided for in the applicable third party license, you may have a right to reverse engineer such software or receive source code for such software for use and distribution in any program that you create, so long as you in turn agree to be bound to the terms of the applicable third party license, and your programs are distributed under the terms of that license. If applicable, a copy of such source code may be obtained free of charge by contacting your Qolsys representative. This Agreement shall not be construed to limit the rights you may otherwise have with respect to the Linux operating system and other third party technology or software licensed under open source or similar license terms. Please see our website at www.qolsys.com for a list of those components and their respective license terms.
- Confidentiality. You acknowledge that the ideas, methods, techniques, and expressions thereof contained in the Software (collectively, “Qolsys Confidential Information”) constitute confidential and proprietary information of Qolsys, the unauthorized use or disclosure of which would be damaging to Qolsys. You agree to hold the Software and Qolsys Confidential Information in strictest confidence, disclosing information only to permitted individual employees who are required to have access in order to perform under this Agreement and to use such information only for the purposes authorized by this Agreement. You are responsible for and agree to take all reasonable precautions, by instruction, agreement or otherwise, to ensure that your employees who are required to have access to such information in order to perform under this Agreement, are informed that the Software and Qolsys Confidential Information are confidential proprietary information belonging to Qolsys and to ensure that they make no unauthorized use or disclosure of such information. You may disclose Qolsys Confidential Information if you are required to do so pursuant to a governmental agency, a court of law or to any other competent authority so long as you provide Qolsys with written notice of such request prior to such disclosure and cooperate with Qolsys to obtain a protective order. Prior to disposing of any media reflecting or on which is stored or placed any Software, you will ensure any Software contained on the media has been securely erased or otherwise destroyed. You recognize and agree a remedy at law for damages will not be adequate to fully compensate Qolsys for the breach of Sections 1, 2, 3 or 12. Therefore, Qolsys will be entitled to temporary injunctive relief against you without the necessity of proving actual damages and without posting bond or other security. Injunctive relief will in no way limit any other remedies Qolsys may have as a result of breach by you of the foregoing Sections or any other provision of this Agreement.
- Data Collection and Use. You acknowledge and agree that the Software and/or hardware used in connection with the Software may collect data resulting from or otherwise relating to your use of the Software and/or hardware (“Data”) for purposes of providing you with service/product recommendations, benchmarking, energy monitoring, and maintenance and support. Qolsys shall be the exclusive owner of all Data. Qolsys shall have the right to de-identify your Data so that it does not identify you directly or by inference (the “De-Identified Data”). Qolsys shall have the right and ability to use the De-Identified Data for its business purposes, including improvement of the Software, research, product development, product improvement and provision of products and services to Qolsys’s other customers (collectively, “Qolsys’s Business Purposes”. In the event Qolsys does not own or is unable to own the De-Identified Data as a result of applicable law, or contractual commitments or obligations, you grant Qolsys a non-exclusive, perpetual, irrevocable, fully-paid-up, royalty free license to use, copy, distribute, and otherwise exploit statistical and other data derived from your use of the De-Identified Data for Qolsys’s Business Purposes.
- Feedback. You may provide suggestions, comments, or other feedback (collectively, “Feedback”) to Qolsys with respect to its products and services, including the Software. Feedback is voluntary and Qolsys is not required to hold it in confidence. Qolsys may use Feedback for any purpose without obligation of any kind. To the extent a license is required under your intellectual property rights to make use of the Feedback, you grant Qolsys an irrevocable, non-exclusive, perpetual, world-wide, royalty-free license to use the Feedback in connection with Qolsys’s business, including enhancement of the Software, and the provision of products and services to Qolsys’s customers.
- Government Restrictions. The Software may be subject to additional restrictions and conditions on use as specified by local, state and or federal laws, rules and regulations. It is up to you to determine what laws, rules and/or regulations apply to your use of the Software, and to comply with such laws, rules and/or regulations when using the Software.
- General. This Agreement will be governed by and construed in accordance with the laws of the State of California, without regard to or application of conflict of laws rules or principles. The United Nations Convention on Contracts for the International Sale of Goods will not apply. You may not assign or transfer this Agreement or any rights granted hereunder, by operation of law or otherwise, without Qolsys’ prior written consent, and any attempt by you to do so, without such consent, will be void. Qolsys has the right to assign this Agreement unconditionally. Except as expressly set forth in this Agreement, the exercise by either party of any of its remedies under this Agreement will be without prejudice to its other remedies under this Agreement or otherwise. The failure by either party to enforce any provision of this Agreement will not constitute a waiver of future enforcement of that or any other provision. If any provision of this Agreement is held to be unenforceable or invalid, that provision will be enforced to the maximum extent possible, and the other provisions will remain in full force and effect. This Agreement is the complete and exclusive understanding and agreement between the parties regarding its subject matter, and supersedes all proposals, understandings or communications between the parties, oral or written, regarding its subject matter, unless you and Qolsys have executed a separate agreement governing use of the Software. Any terms or conditions contained in your purchase order or other communications that are inconsistent with or in addition to the terms and conditions of this Agreement are hereby rejected by Qolsys and will be deemed null.






















