Indoor Air Quality Monitor & Data Logger
M9-IAQS
Instruction Manual
M9-IAQS Indoor Air Quality Monitor and Data Logger
Applications
- Residential ventilation system
- Business ventilation system
- Industrial ventilation system
Description
M9-IAQS is an indoor air quality controller with screen provides customers with visual indoor air quality readings, such as PPM1.0, PPM2.5, PPM10, CO2, temperature, humidity, TVOC, etc. It can control the HVAC system directly. For example: Adjust the fan speed, control air supply / exhaust,set mode and other functions. It is widely used in residential, commercial and industrial applications, and can effectively improve air quality and create a healthy, comfortable, efficient, environmentally friendly, energy-saving living and working environment.
Features
- Wireless EnOcean enabled
- Compatible with embedded and wall-mounted fixing methods;
- Compatible with push-button and touch-screen operation;
- Using standard 86 box size, thickness <24mm;
- PPM1.0, PPM2.5, PPM10, CO2, temperature, humidity, TVOC etc., multiple sensors can be optionally selected.
- With fresh air control function, three level speed of wind can be adjusted, four working modes: intelligent, manual, mute, and periods.
- Customizable filter alert function.
Working Principle
- The built-in dust sensor uses the principle of laser scattering technology to detect the indoor PM2.5 mass concentration in real time(μg/m³ );
- The built-in carbon dioxide sensor uses the principle of NDIR technology to detect indoor CO2 concentration in real time (ppm);
- The RH&T sensor use capacitor resistance material to detect the indoor temperature (° C) and humidity (%) in real time.
Specifications
| Working principle | CO2:NDIR PM:Laser scattering principle |
| Measurement range | PPM1.0, PPM2.5, PPM10:0~1000μg/m³ CO2:0~5000ppm Temper at ur e :-10℃~50℃ Humidity:0%~95%RH |
| PPM Measurement accuracy | ≤ 100μg/m³:±10μg/m³ > 100μg/m³ :±10% reading (Reference Instrument TSI 8530,25±2℃,50±10%RH) |
| CO2 Measurement accuracy | ±(50ppm+5% of reading)@ 0~50℃ |
| Temper at ur e Measurement accuracy | ±1℃ |
| Humidity Measurement accuracy | ±8%RH |
| PM Response time T90 | ≤8s |
| CO2 Response time T90 | <120s |
| Working condition | -10~50℃,0~95%RH(Non-condensing) |
| Storage condition | -20~60℃,0~95%RH(Non-condensing) |
| Working voltage | 12V-24V DC |
| Working current | <140mA |
| Standby current | ≤90mA |
| Signal Output | EnOcean |
| Installation hole distance | 60mm(standard) |
| Dimension | 86*86*24.9 mm |
| Lifetime | PM:≥5 years CO2:≥10 years |
Dimensions and Interface Definition
- Dimensions (Unit :mm, tolerance: ±0.2 mm)

- Pin definition

| No. | Pin | Description |
| 1 | TA | Communication port(RS485_TA) |
| 2 | TB | Communication port(RS485_TB) |
| 3 | +12V | Power input(+12VDC/24VDC available) |
| 4 | GND | Power input(GND) |
UI Interface Description

| Parameter Range corresponding to color LIST | |||
| Gas | Level | Range | Color |
| PPM (μg/m³) | Good | 0~75 | |
| Just so so | 75~115 | ||
| Bad | ≥115 | ||
| CO2 (ppm) | Good | 0~600 | |
| Just so so | 600~1000 | ||
| Bad | ≥1000 | ||
Controlling Instructions
1. Working Mode0
- Manual Mode: The user can adjusts the fan speed switch manually (high, middle and low);;
- Intelligent Mode: According to the setting value of PPM or CO2, it can switch the fan speed automatically.
- Mute Mode: Operation at low speed;
- Periods Mode: The user can set different fan speed in four periods within 24 hours (00: 00 ~ 06: 00, 06: 00 ~ 12: 00, 12: 00 ~ 18: 00, 18: 00 ~ 24: 00)
2 Key’s Function
:Power-on Key(long press for 2s);
:Fan speed key, switch the fan speed(high, medium, low), the default is low speed when power on;
:Confirmation key (use in confirm operating or standby mode setting);
:Function key (adjust the fresh air and exhaust air). There are three status: “exhaust air”, “fresh air”, and “fresh air + exhaust air”; Default is “fresh air + exhaust air”
:Mode key (WIFI key also). There are four modes: manual, intelligent, mute, and periods. Default is manual mode. Long press till the buzzer off then is WIFI status.
3. Operation Instructions
- Switch on and off: press and hold the
for 2s to turn on or off. When it’s the switch off status, all readings and output will off. - Switch the operating mode: Press the
to change the operating mode. The working mode is cyclically switched in the four states of “periods-intelligent-manual-mute”. After the mode setting is completed, press the
the screen returns to the data detection interface. - Time period mode: Press the operating mode key and the confirmation key, the user can set the fan speed by
for 4 time periods per day (00: 00 ~ 06: 00, 06: 00 ~ 12: 00, 12: 00 ~ 18: 00, 18: 00 ~ 24:00).
Note: This time period used for setting fan speed
For example:Setting Monday0:00 Low 6:00 Medium 12:00 High 18:00 Low By this logic, the fan speed be set to low speed from 00:00 to 06:00; and it be set to medium speed from 06:00 to 12:00, high speed from 12:00 to 18:00.
- Intelligent Mode:
①Without CO2 sensor: the controller automatically adjusts the fan speed according to the air quality (PPM concentration); when the PPM concentration is higher than the set value of 115μg / m³, the fan runs at high speed; when the PPM concentration is between 75-114μg / m³, the fan runs at medium speed; when the PPM concentration is lower than the set value of 75 μg / m³, and the fan runs at low speed.
②With CO2 sensor: When the CO2 concentration is higher than the set value of 1000ppm, fan will run at high speed, when the CO2 concentration value is between 600-999ppm, the fan runs at medium speed, and when the CO2 concentration is lower than the set value of 600ppm, and the fan runs at low speed. - Manual mode: The fan speed switched by the user. Despite the time period and air quality. The fan speed can be adjusted by the
. The adjustment range is low-medium-high. - Mute mode: The fan runs at low speed and cannot switch the fan speed manually under this mode, and it’s not affected by air quality.
- Function setting: Press the
to cycle the HVAC system through the three states of “exhaust air-fresh air- fresh air + exhaust air”, each time you press the key to switch one operating mode. - WIFI Connection:Long press
till buzzer off , the WIFI icon become blue from red, then it starts connecting, the icon will turn to white if it match your net successfully. - Standby Mode: After the controller is powered on, if there is no operation of setting any of the above working modes and function settings, the controller will enter into the standby state after one minute. After a short press of the key
, the product enters the data detection interface.
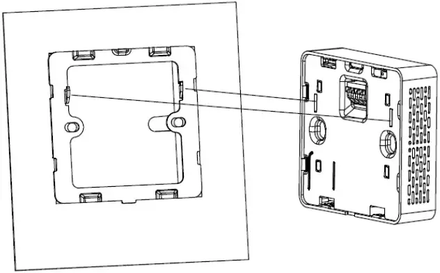
Installation Instructions
Step 1: Fix the wall mounted bracket with screws on the 86 box which in the embedded wall, as shown below 
Step 2: Connecting Cable, connect the corresponding cable to the controller’s RS485 interface according to the interface definition, as shown below: 
Step 3: Match the two holes in the controller with the hooks in the wall mount bracket and slide the controller down to ensure that the controller is tightly locked with the bracket.

Precautions for use
- Do not place the controller in an environment where the ambient temperature is too high (above 60 ° C) or too low (below -20 ° C).
- Keep it out of reach of children as much as possible to prevent injury from collision and fall.
- Do not drop the controller or rub it against hard objects during use, otherwise it may cause damage to the controller’s external light and damage.
- Do not place the controller in a dusty environment to avoid dust accumulation in the controller and affect the measurement accuracy.
- When using the controller, do not cover or block the vent hole with any object to avoid affecting the air quality monitoring.
- Do not disassemble, repair or modify the controller without permission.
Communication Protocol
1. General Statement
- The M9-IAQS controller is connected to the HVAC controller through 485, it sends a command to the HVAC controller to achieve the AM6108 control the HVAC system by communication protocol.
- Baud rate:9600, Data Bits: 8, Stop Bits: 1, Parity: No;
- Communication distance ≤ 2km; and we suggest the terminal impedance be 120Ω, 1 / 2W.
2. Format of Serial Communication Protocol
Sending format of test software:
| Start Symbol | Length | Command | IP Address | Data1 | …… | Data n | Check Sum |
| HEAD | LEN | CMD | ADD | DATA1 | …… | DATAn | CS |
| 11H | XXH | XXH | XXH | XXH | …… | XXH | XXH |
Detail description on protocol format:
| Protocol Format | Description |
| Start Symbol | Sending by controller is fixed as [11H] |
| Length | Length of frame bytes= data length +2 (including CMD+IP+DATA) |
| Command | Command is fixed as [55H] |
| Address | Controller address is (1~254,default is [01H]) |
| Data | Data of writing or reading, length is not fixed |
| Check Sum | Cumulative sum of data = 256-(HEAD+LEN+CMD+IP+DATA) |
3. Controller Command
The system’s default slave device address is 01H, the controller command is 55H, and the command format is as below:
11 10 55 01 DF1 DF2 DF3 DF4 DF5 DF6 DF7 DF8 DF9 DF10 DF11 DF12 DF13 DF14 CS
Slave response
16 02 55 01 CS
4. Command Table of Serial Protocol
| Name | Data | Description | Note |
| Mode | DF1 | 0x00 Periods Mode 0x01 Intelligent Mode 0x02 Manual Mode 0x03 Mute Mode | |
| Fan Speed Mode | DF2 | 0x01 Low 0x02 Medium 0x03 High | |
| Air Switch ( For fresh air and air exhaust ) | DF3 | Ox00 air exhaust switch off and fresh air switch on Ox01 air exhaust switch on and fresh air switch off 0x02 air exhaust switch on and fresh air switch on | |
| Indoor PPM Concentration | DF4- DF5 | 0-1000 | pg/m3 |
| Indoor CO2 Concentration | DF6- DF7 | 0-5000 | ppm |
| Indoor Temperature | DF8- DF9 | 0–600 | (Corresponding value -100) / 10 ` C (-10.0-50.0), one decimal place is reserved |
| Indoor Humidity | DF10 | 0-95 | 0-95 % |
| Indoor HCHO Concentration | DF11- DF12 | Reserved | |
| Indoor VOC lever | DF13-DF14 | DF4=0x01 VOC L1 DF4=0x02 VOC L2 DF4=0x03 VOC L3 | (1-3) |
| Error code | DF15- DF16 | Reserved | |
| Reserved | DF17- DF18 | ||
| Reserved | DF19- DF20 | ||
| CheckSum | CS |
After-Sales Services and Consultancy
Magnum First
1 Seneca Street, 29th Floor, M55
Buffalo, NY 14203
phone 716-293-1588
[email protected]
www.MagnumFirst.com
www.MagnumFirst.com


















