KIRSTEIN DP-S1 Slimline Digital Piano

Thank you for choosing this product. To ensure that you are fully satisfied with this product, carefully read and understand this manual before using this instrument. Keep this manual in a safe place. The operating instructions must be passed on to all subsequent users.
Observe operating instructions!
WARNING
The WARNING signal word identifies hazards that, without precautions, could result in serious injury.
NOTE
The signal word NOTE indicates general precautions that should be observed when handling the product.
Images and screen images in this manual may differ slightly from the actual product’s appearance, as long as it does not adversely affect the technical characteristics and safety of the product.
All personal phrasing in this manual should be considered gender neutral.
These operating instructions apply to responsible persons and users who have been supervised by a person responsible for their safety or instructed in the operation of the device and who have proven to be able to handle the device.
WARNING
Children should be supervised to ensure that they do not use this device as a toy.
Never allow children to play unattended with the packaging material.
Danger of property damage! We are not liable for accidents that occur as a result of non-observance of the safety instructions or due to incorrect handling.
All information in this manual has been checked to the best of our knowledge and belief. However, neither author nor publisher can be held liable for any damage related to the use of this manual.
Other product, brand and company names mentioned herein may be the trademarks of their respective owners. Compliance with all applicable copyright laws is the responsibility of the user of this document.
WARNING
Caution
Please observe the following basic information in order not to endanger yourself or others and to avoid damage to external devices.
NOTE
Warning
Do not disassemble the instrument and do not modify it. This could result in electric shock. Entrust a specialist workshop with any necessary service and maintenance or contact your dealer.
If you notice that the power cord is showing signs of wear, the unit shows malfunctions, burns, smells or smokes, unplug the power cord immediately and have a technician repair it. Before you clean the instrument, you should disconnect it from the mains power.
Always place the instrument on a level, stable surface to ensure a secure footing.
Do not use the instrument in a damp or wet environment.
Do not place vessels that are filled with liquids on the instrument, such as vases,glasses or bottles.
Do not place small objects on it that could slip in, such as hairpins, sewing needles or coins. Do not place burning candles on the instrument.
NOTE
Precautions
To avoid damage to the instrument, do not place it in places with high temperatures or dust, do not place it next to an air conditioner and avoid direct sunlight.
Do not place the instrument near other electrical equipment to avoid interference.
Do not use force when handling the instrument or place heavy objects on it.
Disconnect the instrument from the power if you are not going to use it for a long time. To disconnect the device from the mains, pull the plug, not the cable. Please handle the power cable with care. It should not be near radiators, you should not place heavy objects on it and move it so that people can not step on it or fall over it.
Please note that continuous high volume can permanently damage your hearing. Adjust the volume carefully.
WARNING
Power adapter
Please connect the supplied power adapter to a power outlet with the correct voltage. Do not connect it to mains voltages other than those for which the instrument is intended. Unplug the power cord if you are not going to use the product for a long time or if there is upcoming a thunderstorm.
© 2021
These operating instructions are protected by copyright. The reproduction of these operating instructions, even in part, is only permitted with the approval of Musikhaus Kirstein GmbH. The same applies to the reproduction or copying of images, even in modified form.
Assembly
First prepare the two side parts ① of the substructure for assembly.
To do this, attach the brackets ② and ③ to the side parts. Use the short M4x14 screws ④ for this purpose. Ensure the correct position of the respective angles.
Screw two furniture connectors ⑤ into each of the two side parts.

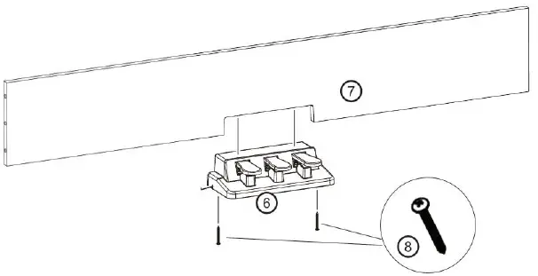
Now attach the pedal unit ⑥ to the pedal plate. ⑦. Use the two long M4x40 screws ⑧ for this purpose.

Insert the four eccentric nuts ⑨ into the openings on the back of the pedal plate. Now mount the substructure consisting of pedal plate ⑦ and side parts ① and fasten the connection by twisting the eccentric nuts.

Securely fasten the console ⑩ to the base using the two short M6x20 screws ⑪.
Connect the pedal cable to the socket on the back of the piano and plug the hollow plug of the power supply into the power supply socket on the back of the instrument. 
- It may be useful to keep the packing materials in case the instrument needs to be transported to a distant location.
Rear connection panel

USB to Host
The USB to Host jack allows you to connect your piano to a computer using a USB A->B cable.
Pedal

Connecting socket to the triple pedal of the piano base.
AUX Out:

The AUX Out connector allows you to connect your piano to a music amplifier.
AUX IN:
![]()
The AUX In input allows you to play music signals from an external music source through your piano’s speakers.
Power supply socket

Only use the instrument with the supplied power supply unit.
First connect the hollow plug of the power supply unit to the power supply unit socket on the instrument. Then connect the power supply unit to the power socket.
Headphone jacks

The two headphone jacks on the bottom left of the console can be used simultaneously. When connecting headphones to headphone jack 1, the instrument’s speakers are deactivated. When connecting to the headphone jack 2, the sound of the instrument is given out via the headphones and additionally still via the loudspeakers.
Make sure that the volume setting is appropriate. Too high a volume or using headphones for too long can cause hearing damage.
Operating elements
Left control panel
Power
Use the power switch to start up your instrument. Please switch off your instrument when not in use to save energy.
Master Vol
This knob allows you to adjust the volume of your piano playing.

This instrument has an Auto Power Off function. To save power, the piano will turn itself off if it is not used for an extended period of time.
Function assignment of the keyboard keys
Function key

Press and hold the function key to access the function assignment of the keyboard keys.
Voice

Hold down the function key and press any VOICE key to change the timbre of your instrument.
Layer / Split / Splitpoint

With the Layer function, two voices can be combined and superimposed.
First select the first of the two desired voices as described in the section “Voice”. Now press the LAYER ON/OFF key while holding the function key to activate the Layer function. Now you can select the second voice as described in the section “Voice”.
To deactivate the Layer function, hold down the function key while pressing the LAYER ON/OFF key.
With the split function, two different voices can be selected for the left and the right half of the keyboard.
First select the voice for the right hand as described in the section “Voice”. Now press the SPLIT ON/OFF key while holding down the function key to activate the split function. Now you can select the voice for the left hand as described in the section “Voice”.
The split point is the point on the keyboard that separates the two keyboard halves of the split function.
To move the preset split point, hold down the function key and the SPLIT POINT key and press the key on the keyboard that is to define the new split point.
The selected setting will be reset when the instrument is restarted.
Twinova

The Twinova function allows two pianists to play the piano together. The keyboard is divided into two equal halves of the same range and timbre.
While holding the function key, press the TWINOVA ON/OFF key to activate or deactivate the Twinova function.
By pressing the OCTAVE+ or OCTAVE- key while holding the function key, you can shift the octave range of both Twinova keyboard halves up or down. Press Function and both OCTAVE keys simultaneously to return to the default octave.
Touch sensitivity

The touch sensitivity can be adjusted, or deactivated if required.
Press and hold the function key and press the TOUCH ON/OFF key to disable or enable the instrument’s touch sensitivity. When touch sensitivity is disabled, all notes played will sound at the same volume regardless of the strength of the particular keystroke. The TOUCH 1-5 keys allow changing the velocity sensitivity curve from Soft to Hard2 (Soft, Soft2, Medium, Hard, Hard2).
Transpose

The Transpose function can be used to change the pitch of the instrument down or up in semitone steps.
While holding the function key, press one of the two TRANSPOSE keys one or more times to achieve the desired pitch adjustment. While holding the function key, press both TRANSPOSE keys simultaneously to return to the standard tuning.
Metronome and tempo setting

Press and hold the function key and press the METRONOME ON/OFF key to activate or deactivate the metronome. When metronome playback is active, you can change the time signature by holding down the function key and selecting the desired time signature (0-6). For example, 3 represents a ¾ beat and 4 represents a 4/4 beat. Select 0 to play back all metronome beats with equal weighting.
The speed can be set in different ways. The possible values are between 30 and 280 BPM.
With the metronome activated, hold the function key and rhythmically hit the TAP key several times to dictate the tempo.
With the metronome activated, hold the function key and press TEMPO- or TEMPO+ to decrease or increase the tempo. Press the TEMPO buttons simultaneously while holding the function button to return to the default tempo.
With the metronome activated, hold the function key and enter the desired value in BPM
(beats per minute) using the number keys 0-9. To do this, always press three number keys in quick succession. To select tempo 42, press 0-4-2, for example.
Reverb

To enhance the room sound of the piano, the instrument has a reverb function. Press the REVERB ON/OFF key while holding the function key to deactivate or reactivate the reverb effect. When the reverb effect is activated, four different effect types are available for selection. Press one of the Reverb 1-4 buttons (1=Room, 2=Hall1, 3=Hall2, 4=Church) while holding the function button to select.
D.A.S / DEMO / Beep

The D.A.S. function (Dynamically adjusted sound) optimally adapts the dynamic range to the selected volume setting in order to provide the maximum dynamic range psychoacoustically at all times. Press the D.A.S. ON/OFF key while holding the function key to deactivate or reactivate this function.
To play the DEMO, press the DEMO key while holding the function key. With the function key held down, press the DEMO key again to stop playback.
A demo is also available for each timbre (voice) of the instrument. First select the desired voice as described in the VOICE section. Now press the SOUND DEMO key while holding the function key to play the corresponding demo.
To switch off the piano’s confirmation tone (beep), press the BEEP NOTE ON/OFF key while holding down the function key. While holding the function key, press the BEEP NOTE ON/OFF key again to reactivate the beep.
Auto-Power-Off-Function

To disable the automatic instrument shutdown, press and hold the leftmost key on the keyboard when the instrument is off and turn the instrument on with the POWER key.
Trouble Shooting
If a malfunction occurs, please check the following error sources.
| Error | Cause | Solution |
| The piano does not turn on | 1. the power cord is not plugged in
2. the power outlet has no power | 1. plug in the power cord correctly
2. use another power outlet |
| The piano does not emit sound from the speakers | 1.the volume is set to the lowest value
2.a headphone (adapter) is plugged into the headphone jack
3.the power cord is not plugged in | 1. increase the volume setting
2. Remove the headphone (adapter) from the headphone jack.
3. plug the instrument into an electrical outlet |
| The instrument emits noise | 1. there are devices with interfering properties (freezer, washing machine or similar) in the immediate vicinity
2. objects on or near the instrument resonate with
3. screw connections on the instrument have loosened due to the vibrations or dry ambient air
4. the noise only occurs when using headphones | 1. remove the piano from the vicinity of other electrical appliances (especially those with motors).
2. remove any resonating objects from the vicinity of the piano.
3. tighten all screws that can be reached from the outside.
4. clean the headphone plug or replace the headphone. |
Product Specifications
| Keyboard | 88 touch sensitive hammer keys |
| Touch sensitivity | 5 Levels and Off |
| Max. Polyphonie | 64 |
| Voices | 10 |
| Demo | 1 Piano Demo, 10 Voice Demo |
| Pedals | 3 (Soft, Sostenuto, Sustain) |
| Connections | Aux-In, Line-Out, USB to Host, 2x Headphones (6,35mm Stereo), Pedal, Power supply |
| Speaker power | 2x20W |
| Size (WxDxH in mm) | 1332x335x770,5 |
| Power Supply | 12V, 2000mA, + inside |
Quick guide


WEEE Declaration
(Waste of Electrical and Electronic Equipment)
Your product has been designed and manufactured using high quality materials and components that are recyclable and reusable. This symbol means that electrical and electronic equipment must be disposed of separately from household waste at the end of their service life.
Please dispose of this device at your local municipal collection point or at the recycling center.
Please help protect the environment in which we all live.
All specifications and appearance are subject to change without notice. All information was correct at the time of printing. Musikhaus Kirstein GmbH assumes no responsibility for the accuracy or completeness of the descriptions, photos or statements contained in this manual. Printed colors and specifications may vary slightly from the product. Products of Musikhaus Kirstein GmbH are distributed only through authorized dealers. Distributors and dealers are not representatives of Musikhaus Kirstein GmbH and are not authorized to legally bind Musikhaus Kirstein GmbH in any way, whether expressly or through conclusive action.
Musikhaus Kirstein GmbH
Bernbeurener Str. 11
86956 Schongau – Germany
Phone: 0049-8861-909494-0
Fax: 0049-8861-909494-19

















