
INSTALLATION GUIDE
FWPT/2 Series LED WALL MOUNT

IMPORTANT
READ CAREFULLY BEFORE INSTALLING THE FIXTURE. RETAIN THESE INSTRUCTIONS FOR FUTURE REFERENCE.
PacLights fixtures must be wired in accordance with the National Electrical Code and all applicable local codes. Proper grounding is required for safety.
THIS PRODUCT MUST BE INSTALLED IN ACCORDANCE WITH THE APPLICABLE INSTALLATION CODE BY A PERSON FAMILIAR WITH THE CONSTRUCTION AND OPERATION OF THE PRODUCT AND THE HAZARDS INVOLVED.
WARNINGS:
- Make certain power is OFF before installing or maintaining fixture. No user-serviceable parts inside.
- To prevent wiring damage or abrasion, do not expose wiring to edges of sharp objects.
CAUTION:
- For proper weatherproof function, all gaskets must be seated properly and all screws inserted and tightened firmly. Apply weatherproof silicone sealant around the edge of the BackBox and/or Junction Box. This is especially important with an uneven wall surface. Silicone all plugs and unused conduit entries.
- The Selectable CCT is equipped on selected models. If the CCT needs to be adjusted, loosen the Screws (2) at the side of the FWPT/2 fixture and open the Back Cover. The Screws and Washers do not have to be removed (Fig. 1).
- The Selectable CCT Switch is a device that allows the user to choose the desired color temperature 3000K, 4000K, 5000K (Fig. 2). After the selection is made close the Back Cover and tighten the Screws.

WIRING DIAGRAM
Connect the ACL and the ACN from the FWPT/2 Fixture to the conduit with the AC Power Supply Cable. Follow the Wiring Diagram provided.
FWPT/2 PHOTOCONTROL BYPASS
- The pre-installed Photocontrol Sensor can be bypassed easily if it is not needed (Fig. 3). Loosen the Screws and open the Back Cover (Refer to Fig. 1).

- Simply disconnect the Connector attached directly to the Photocontrol Sensor at the side of the FWPT/2 (Fig. 4). Close the
FWPT/2 fixture and tighten the Screws
FWPT/2 GLARE SHIELD (OPTIONAL)
- The Optional Glare Shield minimizes the amount of excess glare from the FWPT/2. The Glare Shield also restricts the amount of light pollution and light trespass. Align the Glare Shield to the sides of the FWPT/2 fixture holes (4). Fasten the Glare Shield to the fixture with the Screws (4) (Fig. 5).

- The Glare Shield can be tilted slightly along with the curved slots as needed by loosening the Screws (Fig. 6).

FWPT/2 JUNCTION BOX INSTALLATION
- Prior to Junction Box installation, loosen the Screws (2) on the side of the FWPT/2 fixture to open the Back Cover to have access to the fixture Wiring (Refer to Fig. 1). The Back Cover of the FWPT/2 has a raised drill pattern on the inside that can be drilled through for the Junction Box. Align the desired Junction Box (not included) and drill holes to align with the Junction Box of your choosing (Fig. 7).

- Remove the Cap Screw from the Back Cover of the FWPT/2 fixture (Fig. 8).

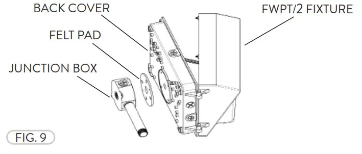
- Place the Felt Pad (with pre-cut hole patterns) between the Junction Box and Back Cover. Fasten the Junction Box to the Back Cover of the FWPT/2 fixture (Fig. 9). Apply sealant where necessary (Not included). Refer to the wiring diagram.

FWPT/2 WIRE GUARD (OPTIONAL)
The Optional Wire Guard protects against vandalism and breakage. Align the Wire Guard to the holes (4) at the front of the FWPT/2 fixture and fasten the Screws (Fig. 10).
Need help? (800) 988 -6386 Email: [email protected] Website: www.PacLights.com
Instructions and specifi cations are subject to change at any time without notice. Copyright© 2021 PacLights. All Rights Reserved.



























