AD-118 ACC Adapter
Instructions
PRECAUTIONS
CAUTION: NEVER expose the adapter and the connected transceiver to rain, snow or any liquids.
NEVER disassemble the adapter. The adapter contains no user-serviceable parts.
DO NOT use harsh solvents such as benzine or alcohol to clean the adapter, because they can damage the adapter’s surfaces.
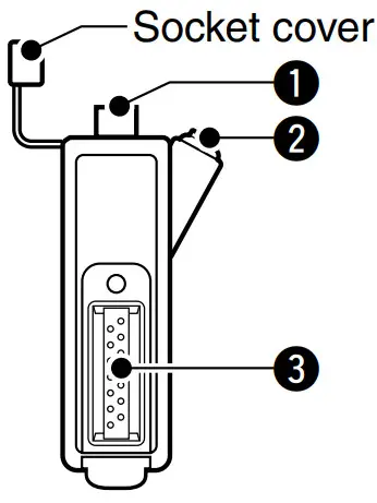
BE SURE to attach the socket cover when the accessory is not connected.
Use only the recommended accessories*.
Connection to other equipment may cause problems, such as;
- Audio does not output correctly.
- The transceiver does not detect the connected accessory.
- The PTT switch of the connected accessory is disabled.
* See the back page for details of the recommended accessories.
Icom, Icom Inc. and the Icom logo are registered trademarks of Icom Incorporated (Japan) in Japan, the United States, United Kingdom, Germany, France, Spain, Russia and/or other countries.
American Communication Systems Discover the Power of Communications Tw http://www.ameradio.com
Thank you for purchasing the AD-118 ACC ADAPTER.
Please read these instructions thorough-ly before using the AD-118.
SUPPLIED ACCESSORY
Ferrite core ( See the back page for details.)
DESCRIPTION

- ACCESSORY SOCKET
Connects to the recommended accessories.
See the back page for details of the rec- ommended accessories, pin assignments and connections. - PTT SWITCH
Hold down to transmit; release to receive.
• While holding down this switch, speak into the microphone of the accessory at a normal voice level. - CONTACT PINS
Contacts with the transceiver’s multi connector. See the back page for details of the pin assignments and connections.
PIN ASSIGNMENTS AND CONNECTIONS
| AD-118 | Transceiver | ||
| Accessory socket : | Contact pins | Multi connector | |
![]() | ![]() | ![]() | |
AD-118![]() | Transceiver 2.External Mic. input 8.External Mic. power 9.External Speaker (+) 6.Ground 1.External PTT input 7.ACC detection | ||
FERRITE CORE ATTACHMENT
The ferrite core that comes with the AD-118 must be attached to the headset side cable of the V4-BA2MD1, as close to the PTT switch as possible.
It is not necessary to attach the ferrite core to the V4-10148 and V4-10001.

RECOMMENDED ACCESSORIES
- V4-10148 : Noise cancelling over-the-head headset
- V4-10001 : Noise cancelling behind-the-head headset
- V4-BA2MD1 : Light weight behind-the-head headset

1-1-32 Kamiminami, Hirano-ku, Osaka 547-0003, Japan.
count on us
A-6827X-1EX Printed in Taiwan
© 2010 Icom Inc.





















