DiO B02 Wireless Video Phone

What in the box
Description of the device
- Microphone: captures the sound of your video
- Push button: Press to activate the videophone
- Status light
- Steady red light: camera connection problem
- Flashing red light: waiting for Wi-Fi connection, or connecting (rapid flashing)
- Steady blue light: camera working correctly
- Speaker
- Reset button 1
- Micro-SD card slot: Max. 128 GB (not included)

Rechargeable battery: capacity 6700mAh
- Charging indicator: Steady red light: battery charging
- Mini USB charging port: Steady blue light: charging complete
- Mini USB charging port: DCSV+-10%
- 3. Security screw: use the screwdriver provided to lock/unlock the battery
- Reset button 2
Installing the videophone
Completely wireless installation with battery
- Remove the bottom cover using the screwdriver provided and the wall bracket as shown in the illustration.

- Screw the bracket to the wall. Use the 4 holes in the wall bracket to mark the drilling holes. Drill the 4 holes, insert the wall plugs and attach the bracket to the wall using the screws provided

- Install the videophone in the wall bracket from top to bottom (as shown in the illustration).

- Connect the rechargeable battery to the videophone and screw it in using the screwdriver provided. This will attach the videophone firmly to the wall.
Attention: The battery is delivered with a load of approximately 40%, please charge it before the first use (see paragraph – 5.1 ). The full charge time of the battery is 6 to 8 hours.
Connecting the videophone to the Wi-Fi
- After you have connected the videophone to the battery, you will hear a short beep. This indicates that the videophone can be connected to the Wi-Fi through your smartphone or tablet.
- Download the free DiO One app and create your account.

- AAIMM
- Follow the instructions in the app to connect the videophone to the Wi-Fi. Make sure your Wi-Fi network is available and is within range of the videophone.
Add the videophone to the app by clicking on the”+”, select the device to be added and choose your setup mode (QR scanner code provided by the APP or automatic search of the Wi-Fi network).
Warning:- Make sure that the Wi-Fi router has a 2.4 GHz band (it does not work at 5 GHz).
- When configuring it, your smartphone must be on the same Wi-Fi network as the videophone.
- If you want to install it on a different Wi-Fi network, press reset button 1 or 2 for 5 seconds. The device restarts and the indicator light begins to fiash red.
- A videophone can only be added to an account (you can subsequently share it through the app, see section 5.2). If the videophone has already been added, it cannot be added to another account .

Linking with a DiO 1.0 receiver
This product is compatible with all DiO 1.0 peripherals operating under the 433MHz radio protocol.
You can link the videophone push button to the DiO doorbell to be notified of a visitor when you are at home, and/or a DiO 1.0 module/plug or bulb to light the garden path as soon as a visitor push the videophone button, for example.
You can also link 3 buttons provided with your DiO One app to DiO accessories to open your gate or electric bolt {by linking it with the DiO 1.0 gate module) or to turn on a light (by linking it with a DiO 1.0 lighting module, socket or bulb) with just one click on your smartphone from anywhere in the world.
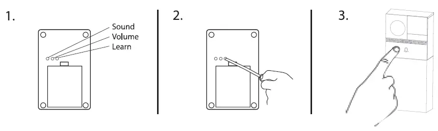
Linking the videophone push button to the DiO 1.0 receiver (doorbell)
- Select the ring tone and volume by pressing the 2 buttons of the doorbell.
- Press the doorbell LEARN button. The LED starts to flash slowly.
- Within 15 seconds, press the videophone push button; the doorbell beeps twice to confirm that the 2 products are linked and the LED goes out.
You can link several DiO 1.0 receivers with this push button.
Warning: The range between the doorbell and the DiO videophone is 50 m or 300 m (depending on the doorbell used), but this may be reduced by the thickness of the walls or a current wireless environment.
Linking the button on the DiO One App with the DiO 1.0 receiver {gate module, lighting module, plug or bulb)
- Connect the receiver (module, plug, bulb – see receiver manual).
- Press the learn button on the receiver (see receiver manual). The receiver LED flashes.
- Press the button selected on the videophone interface in the DiO One app.
- Opening a gate or electric strike
- Open a second gate, electric strike
- ON – turn on your lighting
- OFF – turn off your lighting
The LED stops flashing to confirm the link.
You can link several DiO 1.0 receivers on a single button/icon for centralised control, to turn several lamps on, for example.
Warning: The range between the DiO 1.0 receiver and the DiO videophone is 50 m, but this may be reduced by the thickness of the walls or a current wireless environment.
Use
Visitors
When a visitor presses the videophone push button, you will receive a notinication and a preview of the person at vour door.
- Available: You can answer your visitor and talk with them using your smartphone. If your videophone is linked to a DiO 1.0 accessory, you can open the gate with just one click on your smartphone or turn on a light. Not available:
- Leave a message (optional): you can record a message up to 30 seconds long that will be triggered if you are not able to answer.
Note: your visitor will not be able to leave you a message in return, but the will be automatically videoed. - No answer: When a visitor presses the button on your videophone, a video will automatically be recorded on the micro-SD card (not supplied).
Viewing
The videophone is in standby mode to save the battery. You can activate the cameras through your app by going through the videophone interface.
Note: This function is not available when the battery is low.
Security and detection
The videophone has a people detector. When someone goes past the device, a notinication will be sent to you on your smartphone and a zU-second video will be recorded on the micro-SD card (accessible through the app). You can adjust the sensitivity of the detection or switch it oft.
Managing battery consumption
You can display the status of the battery at any time through the videophone settings menu in the DIO One app. You will receive a warning message when the battery charge is below 2096.
Recharge the battery
When the battery charge is less than 20%, you will receive an alert message.
Disconnect the rechargeable battery from the videophone by unscrewing it with the supplied screwdriver. Then, charge it using the 5V power adapter and micro-
USB cable provided.
The charging indicator at the bottom of the battery is red when the battery is charging, it will turn blue when the battery is 100% charged.
- Average autonomy based on 10 triggers per day: 3 months
- Average standby autonomy: 10 months
DiO One app interface
- Account Setup Menu
- To add a new device
- Camera/Video Phone Interface
Videophone interface
- Live Viewing
- Controls for DiO 1.0 devices
- Sound on/off
- Activate the telephone microphone to be able to speak
- Save an image from the video stream
- Record the video stream on the phone
- Motion Detection Captures
- Video Phone Setup Menu
- Viewing recordings
To record your videos, you need to install a micro-SD card. on the videophone.
Interactions
- Opening a gate or electric strike
- Open a second gate, electric strike
- ON – turn on your lighting
- OFF – turn off your lighting
Videophone settings menu
- SD card option ( format, free space, total space )
- Flip the image over
- Activate/ deactivate/ adjust the motion detection sensitivity
- Registration option
- Enable the chime function ( makes a DiO 1.0 chime sound when a visitor rings the doorbell)
Reset
To restore the videophone factory settings, change Wi-Fi network and/or change owner, press the videophone reset button 1 or 2 for 5 seconds and delete the device from your account in the app. You can then reinstall it in your account or another account (see section 3).
Troubleshooting
- The video image is slow or does not load correctly
Make sure that the Wi-Fi network is working properly and/or that the videophone is within range. If it is not, we recommend using a Wi-Fi repeater to extend the range of your Wi-Fi network or move your videophone. - You want to change your Wi-Fi settings
First, remove the device from your app, then press videophone reset button 1 or 2 for 5 seconds. You can then reinstall it with the new Wi-Fi network. - The device does not recognise the installed micro-SD card
Make sure that the micro-SD card is available and formatted as FAT32. Go to the videophone settings menu > 7. Format the SD card - You don’t get a notification on your smartphone if there is a visitor or in the event of detection
You must enable “DiO One” notifications in your smartphone settings to receive push notifications.
Technical specifications
- Video
- HD1080p (1920×1080): / 25 fps
- Angle of view: 145°
- CMOS 1/2.9 ” sensor: Megapixel
- Adjustable motion detection: (low, medium, high or off)
- Night vision up to 5 m with: Infrared filter
- Audio: Built-in speaker and microphone
- Compatible with: Wi-Fi 802.11b /g /n – WPA /WPA2- Personal
- Frequency: Wi-Fi 2.4 GHz + 433.62MHz by DiO
- EIRP: =<100mW
- Power supply:
- Rechargeable battery: 6700mAh
- Average life: 3 months (based on 10 triggers per day)
- Average life in standby mode: 10 months
- Power supply: DC 5V (optional)
- Rechargeable battery: 6700mAh
- External use: IP54
- Operating temperature: -20°C to 50°C
- Dimensions: 58 × 130 × 26 mm (without battery) 58 × 60 × 26 mm (with battery)
Expanding your installation
Expand your installation with DiO solutions to control your heating, lighting, roller shutters, or garden, or to use video surveillance to keep an eye on what is happening at home.
Easy, high-quality, scalable and economical…learn about all of the DiO
Connected Home solutions at www.chacon.com
Direct current (DC)
Recyclling
In accordance with European WEEE directives (2002/96/EC) and in relation to accumulators (2006/66/EC), any electrical or electronic device or accumulator must be collected separately by a local system specialising in the collection of such waste. Do not dispose of these products with ordinary waste. Check the regulations in force. The logo shaped like a waste bin indicates that this product must not be disposed of with household waste in any EU country. To prevent any risk to the environment or human health due to uncontrolled scrapping, recycle the product in a responsible manner. This will promote the sustainable use of material resources. To return your used device, use the return and collection systems, or contact the original dealer. The dealer will recycle it in accordance with regulatory provisions.
Declaration of conformity
- The undersigned, Chacon, declares that the WiFi equipment reference: DIOVDP-B02 is in bconformance with Directive 2014/53/EU
- The complete text of the EU declaration of conformity is available at the following Internet
Address: www.chacon.be-support-téléchargements
There might be specific requirements concerning the installation and use of a surveillance camera in your place of residence (country, municipality, city). You are responsible for finding out about local requirements and applying them accordingly.
Support
www.chacon.com/support
Chacon S.A. – Avenue Mercator 2 -1300 Wavre – Belgium Made In PAC




























