Count on it
Form No. 3450-384 Rev A
Parts Catalog
122cm (48in) Mid-Size
Rear-Discharge Deck
Model No. 02712—Serial No. 410000000 and Up
Ordering Replacement Parts
To order replacement parts, please supply the part number the quantity, and the description of each part desired. Understanding Reference Numbers
Each identified part in an illustration has a reference number. The reference number for a part also appears in the parts list, along with other information about the part.
This catalog uses two special reference number formats, one to indicate parts in a service assembly and another to indicate the quantity of a given part in an illustration. Service Assembly Reference Numbers Parts in service assemblies have reference numbers in the form a:b. The a represents the reference number of the entire service assembly and the b represents a sequential number unique to each part within the service assembly.
For example, a wheel assembly might be identified by reference number 6, the tire by 6:1, the valve by 6:2, and the wheel by 6:3. When you order the assembly identified
by reference number 6, you receive all parts identified by reference numbers 6:1,6:2, and 6:3. However, you may also order any part individually. Reference numbers of this
type appear in illustration and in parts lists.
Reference Numbers Indicating Quantity
In an illustration, if a reference number indicates more than one part, the reference number has the form nX y. The n represents the quantity of the part, the X is the multiplication symbol, and the y represents the reference number. For example, in an illustration, the reference number 2X 37 means that two of the parts identified by reference number 37 are indicated.
48 Inch Deck and Cover Assembly

| Ref. | Part Number | Qty. | Description |
| 1 | 111-1360-01 | 1 | 48 Inch Deck ASM |
| 2 | 111-3922-01 | 1 | Cover-Deck |
| 3 | 111-4929-01 | 1 | Guard-Pipe, Exhaust |
| 4 | 111-1544-01 | 2 | Bracket-Deflector, Side |
| 5 | 111-1545-01 | 1 | Bracket-Deflector, Center |
| 6 | 111-1409-01 | 1 | Guard-Discharge, RH |
| 7 | 111-1410-01 | 1 | Guard-Discharge, LH |
| 8 | 111-1547 | 1 | Deflector-Centre, Rubber |
| 9 | 111-1546 | 2 | Deflector-Side |
| 10 | 139-5557 | 2 | Decal-Danger, CE |
| 11 | 111-1764 | 1 | Decal-Midsize |
| 12 | 32128-20 | 6 | Nut-HF |
| 13 | 9267 | 1 | Washer-Plain |
| 14 | 111-3697 | 1 | Nut-Retainer |
| 15 | 1-323417 | 6 | Washer |
| 16 | 1-303536 | 2 | Stud-Shield, Belt (Long) |
| 17 | 1-303537 | 4 | Stud-Shield, Belt (Short) |
| 18 | 111-2479 | 1 | Belt-V |
| 19 | ZNN3E000U | 11 | Nut-Nyloc |
| 20 | ZDH3E016U | 11 | Screw-HH |
| 21 | 9475 | 22 | Washer |
| 22 | 9320 | 4 | Rivet |
| 23 | 922854 | 1 | Decal-Noise |
| 24 | 117-8339 | 1 | Lanyard-3 Inch |
| 25 | 111-2470-03 | 1 | Guide-Belt |
| 26 | 3162 | 1 | Screw-HH |
| 27 | 9257 | 1 | Washer |
| 28 | 111-3882 | 6 | Cap-End, Rubber |
| 29 | 111-3887 | 1 | Bracket-Guard |
| 29:2 | 111-7683 | 1 | Nut-Rivet |
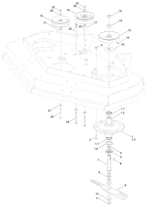
48 Inch Deck Spindle and Pulley Assembly

| Ref. | Part Number | Qty. | Description |
| 1 | 108-6697 | 3 | Spindle Housing ASM |
| 1:01 | 119-7857 | 2 | Bearing-Ball, 1 Inch |
| 1:02 | 110-2116 | 1 | Spacer-Bearing |
| 1:03 | 108-6694 | 1 | Housing-Spindle |
| 1:04 | 32120-8 | 1 | Ring-Snap |
| 2 | 95-1726 | 18 | Screw-Taptite |
| 3 | 3290-357 | 18 | Nut-HSF |
| 4 | 110-4888 | 3 | Washer-Spacer |
| 5 | 103-2535 | 3 | Spacer-Guard, Bottom |
| 6 | 1-807267 | 3 | Key |
| 7 | 1-323529 | 3 | Tube-Spindle, Short |
| 8 | 1-323539 | 12 | Spacer |
| 9 | 107-3195-03 | 3 | Blade-Rotary, 16.5 Inch |
| 10 | 1-513208 | 3 | Blade-Rotary, 16.5 Inch (Atomic) |
| 11 | 1-800861 | 3 | Screw-Cap, HH |
| 12 | 103-1330 | 3 | Guard-Bearing, Top |
| 13 | 1-403183 | 3 | Sheave |
| 14 | 1-323339 | 3 | Washer-Retainer, Sheave |
| 15 | 3219-6 | 3 | Nut-Hex |
| 16 | 1-803310 | 3 | Screw-Set |
| 17 | 1-413113 | 2 | Bushing-Idler |
| 18 | 136-5405 | 1 | Pulley-Idler, Flat |
| 19 | 1-613098 | 1 | Pulley-Idler |
| 20 | 5-0652 | 2 | Spacer |
| 21 | 98-5975 | 3 | Washer-Belleville |
| 22 | 1-403188 | 1 | Spacer |
| 23 | 9353 | 2 | Screw-HH |
| 24 | 323-15 | 1 | Screw-HH |
| 25 | 3296-39 | 3 | Nut-Lock, NI |
Idler Arm Assembly

| Ref. | Part Number | Qty. | Description |
| 1 | 1-324372 | 1 | Pad And Spring ASM |
| 1:01 | 1-323709 | 1 | Pad-Brake ● |
| 1:02 | 1-323710 | 1 | Spring ● |
| 1:03 | 103-0138 | 2 | Rivet-Pop ● |
| 0:00 | 9821 | 2 | Screw-HH |
| 3 | 3296-42 | 2 | Nut-Lock, NI |
| 4 | 322-10 | 1 | Screw-HH |
| 5 | 1-403179 | 1 | Tube-Pivot |
| 6 | 32120-35 | 1 | Ring-Retaining, EXT |
| 7 | ZWP1H000U | 1 | Washer-Plain |
| 8 | 1-322235 | 1 | Arm-Assist, 32/36 |
| 9 | 9267 | 1 | Washer-Plain |
| 10 | ZNN3E000U | 1 | Nut-Nyloc |
| 11 | 1-303238 | 1 | Eyebolt-Thread, RH |
| 12 | 32128-20 | 3 | Nut-HF |
| 13 | 1-303236 | 1 | Body-Turnbuckle |
| 14 | 1-303348 | 1 | Eyebolt-Thread, LH |
| 15 | 702809 | 1 | Screw-HH |
| 16 | 98-5975 | 1 | Washer-Belleville |
| 17 | 132-4718 | 1 | Pulley-Idler, Flat |
| 18 | 1-303434 | 1 | Bushing-Engagement |
| 19 | 103-3600 | 1 | Idler Arm ASM |
| 19:02 | 1-323729 | 2 | Sleeve-Bearing |
| 20 | 32151-103 | 1 | Ring-Retaining, EXT |
| 21 | ZDH3E016U | 1 | Screw-HH |
| 22 | 1-303352 | 1 | Washer-Spindle |
| 23 | 1-806003 | 2 | Pin-Cotter |
| 24 | 111-1355 | 1 | Rod-Brake |
| 25 | 1-323748 | 1 | Ring-Push On |
| ##### | 1-323747 | 1 | Spring-Compression |
| 27 | 1-323746 | 1 | Spacer-Flanged |
| 28 | 3296-42 | 1 | Nut-Lock, NI |
| 29 | 1-323071 | 1 | Spring-Extension |
| 30 | 1-303334 | 1 | Washer-Spring |
| 31 | 10-11-017 | 1 | Fitting-Straight |
| 32 | 111-1629 | 1 | Rod-Linkage, Drive |
| 33 | 9207 | 1 | Nut |
Caster Assembly

| Ref. | Part Number | Qty. | Description |
| 1 | 110-5023 | 2 | Wheel And Tire ASM |
| 1:01 | 1 | Tire ● | |
| 1:02 | 1-513809 | 1 | Bearing |
| 1:03 | 1-513810 | 2 | Bushing |
| 1:04 | 302-61 | 1 | Fitting-Grease |
| 1:05 | 1 | Wheel ● | |
| 2 | 1-513547 | 2 | Spacer |
| 3 | 325-20 | 2 | Screw-HH |
| 4 | 116-7942-01 | 2 | Fork-Caster |
| 5 | 3217-9 | 2 | Nut-HH |
| 6 | 3253-7 | 2 | Washer-Lock |
| 7 | 1-303314 | 8 | Spacer-Caster |
| 8 | 110-2130 | 2 | Support ASM |
| 8:02 | 1-303514 | 2 | Bearing-Flanged |
| 8:03 | 302-52 | 1 | Fitting-Grease |
| 9 | 1-513338 | 2 | Washer-Flat |
| 10 | 1-809020 | 2 | Pin |
| 11 | 3290-357 | 8 | Nut-HSF |
| 12 | ZWQ1J000U | 8 | Washer-Plain |
| 13 | 323-7 | 8 | Screw-HH |
| 14 | 111-1900-01 | 2 | Spacer-Caster |
Guard and Drag Shield Assembly

| Ref. | Part Number | Qty. | Description |
| 1 | 111-1408-01 | 1 | Guard-Discharge, Center |
| 0:00 | 15-11-003 | 2 | Bolt-CARR |
| 0:00 | 9475 | 4 | Washer |
| 0:00 | 9441 | 2 | Nut-Hex, NI |
| 0:00 | 3290-357 | 8 | Nut-HSF |
| 0:00 | 111-1655-01 | 1 | Guard-Underside |
| 7 | 9267 | 2 | Washer-Plain |
| 8 | 9320 | 2 | Rivet |
| 9 | 3162 | 4 | Screw-HH |
| 11 | 111-1986 | 1 | Guard-Drive |
| 11:02 | 111-7683 | 2 | Nut-Rivet |
| 12 | HY103653 | 8 | Screw-HH |
| 13 | ZWQ1J000U | 2 | Washer-Plain |
| 0:00 | 9449 | 2 | Nut |
| 0:00 | 98-5975 | 8 | Washer-Belleville |
| 16 | 103-2056 | 1 | Shield-Drag |
| 17 | 9480 | 2 | Washer-Lock |
| 18 | 111-3697 | 2 | Nut-Retainer |
| 19 | 117-8339 | 2 | Lanyard-3 Inch |
| 20 | 9257 | 2 | Washer |
Notes:……………………….

Register at www.Toro.com.
Original Instructions (EN)

















