Contents hide
B-TECH AV MOUNTS BT7885 Flat Screen Wall Mount

SPECIFICATIONS
- Recommended for screens from 49″ – 86″
- Max. screen weight: 70kg (154Ibs)
- Suitable for displays with VESA” & non-VESA fixings up to 600 x 400mm
- Max. storage load: 8kg (1 Slbs)
- Max. equipment dimensions:
W. 575mm (22.64″) H.361mm (14.21″) D.60mm (2.36″)
INSTALLATION SAFETY INSTRUCTIONS
- CAUTION: This mount is intended for use only with the maximum weights indicated. Use with equipment heavier than the maximum indicated may result in instability causing possible injury.
- Do not attempt to install this product until all instructions and warnings have been read and properly understood.
- Please keep these instructions for future reference.
- Please check carefully to make sure there are no missing or defective parts – defective parts must never be used.
- The product should stop being used if any defects occurs.
- Check the screen’s owner manual to see if there are any special requirements for mounting your display.
- B-Tech AV Mounts, its distributors and dealers are not liable or responsible for damage or injury caused by improper installation, improper use or failure to observe these safety instructions. In such cases, all guarantees will expire.
- General
- B-Tech AV Mounts recommends that a professional AV installer or other suitably qualified person install this product.
- Great care must always be taken during installation as most AV equipment is of a fragile nature, possibly heavy and easily damaged if dropped. If you do not fully understand the instructions or are not sure how to install this product safely, then please consult a professional for advice and/or to install this product for you. Failure to mount this product correctly may cause serious injury or death both during installation and at any time thereafter. Do not mount any AV equipment that exceeds the specific weight limit of the product you are installing. This weight limit will be clearly stated on each product and its packaging and will vary from product to product. The product will not be sufficiently stable if leant or fixed onto any furniture.
- Product location
- Please pay careful attention to where this product is located. This mount is suitable for public or home installation, if located in a public or frequently populated area ensure that the product is out of the immediate reach of people. If any AV equipment is to be in suspended over the likely path or location of people then great care should be taken to secure all parts of the installation from falling. Designed for indoor use only.
- Check load capacity of wall prior to installation as some walls are not suitable for installation. Install this product onto walls made of solid brick, solid concrete or solid wood, if you install this product on drywall it must be securely fixed to a wooden stud, concrete block or other permanent structure behind the drywall board. Do not install into drywall alone, installing on drywall boards alone will not support the weight of most AV equipment.
- When drilling holes in walls it is essential to avoid contact with electrical cables and water or gas pipes contained within.
- Use of a good quality live wire detector and hidden object locator is therefore recommended. Only drill into structures when you are sure it is safe to do so.
- Fixing hardware
It is highly recommended that all fixing screws be used where supplied and that the purpose of all other fixing hardware is fully understood. In some cases more AV equipment fixing hardware will be supplied to accommodate different models of equipment and set up configurations. The installer must be satisfied that the fixing hardware is suitable for each specific installation as the fixing kit supplied with the product may not be suitable for all walls. If any fixing screws or included hardware are deemed not sufficient for a safe installation then please consult a professional or your local hardware store. - Hazard limitation
- When routing cables take advantage of any built in cable management features that the product might provide and ensure that all cables are tidy and secure. Check to see that any moving aspect of the product can do so unhindered by any cabling. Some products have moving parts and the potential to cause injury through the crushing or trapping of fingers or other body parts. Particular attention to the nature of moving parts is required especially when assembling, installing and adjusting during set up. Immediately after installation double-check that the work done is safe and secure. Double-check all necessary fixings are present and are of ample tightness. It is recommended that periodic inspections of the product and its fixing points are made as frequently as possible (no more than 6 months apart) to ensure that safety is maintained.
- If in doubt consult a professional AV installer or other suitably qualified person.
PARTS LIST



| ITEM | PART NAME |
| WALL PLATE | |
| 2 | STORAGE TRAY |
| 3 | INTERFACE ARM |
| 4 | M6 x 40mm SCREW |
| 5 | SHORT CABLE TIE |
| 6 | LONG CABLE TIE |
| 7 | 4mm HEY KEY |
| INTERFACE KIT | |
| A | M4x 12mm SCREW |
| B | M4 x 25mm SCREW |
| C | M4 x 40mm SCREW |
| D | M6 x 16mm SCREW |
| E | M6 x 25mm SCREW |
| F | M6 x 40mm SCREW |
| G | MB x 16mm SCREW |
| H | MB x 25mm SCREW |
| MB x 40mm SCREW | |
| 5mm SPACER | |
| K | 13mm SPACER |
| L | 24mm SPACER |
| M | MULTIWASHER |
| WALL FIXING KIT | |
| Al | MB x 50mm COACH SCREW |
| A2 | MB WASHER |
| A3 | WALL PLUG |
INSTALLATION TOOLS REQUIRED

INSTALLATION INSTRUCTIONS
- REMOVE INTERFACE ARMS FROM WALL MOUNT
Unfasten item 4 from the bottom of item 3 and unhook arms from item 1.

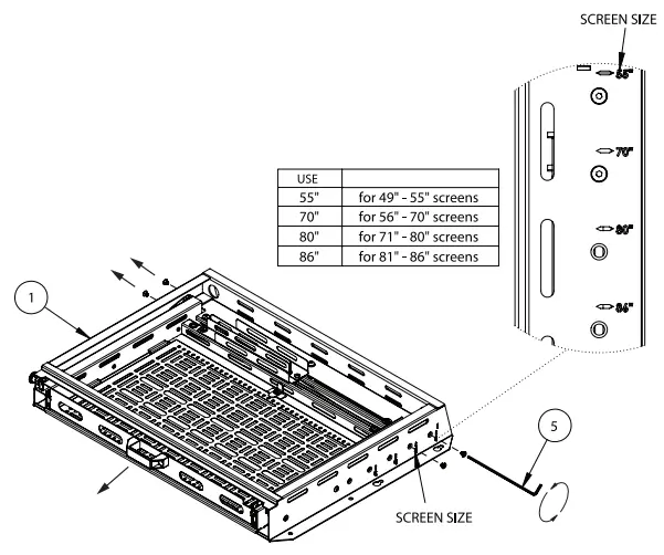
- SET TRAY POSITION
According to the size of the screen being displayed, adjust the position of the pull down tray.
Note: This mount has the pull-down storage tray pre-assembled for 49″ – 55″ screens. If the screen is between 49″ – 55″, skip the below procedure and proceed to Step 3.- Remove the 4 screws on the side of item 7 and adjust the edge of the Centre Section to align with the corresponding screen size on item 7.

- Fix the Centre Section in place with the 4 screws.

- Remove the 4 screws on the side of item 7 and adjust the edge of the Centre Section to align with the corresponding screen size on item 7.
- MOUNTING OPTIONS – WALL MOUNTING
- Mark and drill 6 fixing holes on the wall and insert item A3.
Insert 2pcs x item A 1 into the top row of holes, do not fully tighten. Allow a gap of approx. 10mm (0.4″) to hook on item 1. - Hook item 1 onto item A 1.

- Fasten 4pcs x item A 1 into the 4 bottom holes and fully tighten all fixings.

- Mark and drill 6 fixing holes on the wall and insert item A3.
- ALTERNATIVE MOUNTING OPTIONS
- REMOVE TRAY FOR POLE, COLUMN OR RAIL MOUNTING
Open the key on item 1 and remove item 2.
- POLE MOUNTING
Fix item 1 to the pole mounted collars using the central top and bottom holes on item 1.
- COLUMN MOUNTING
- Mounting onto a BTS3S0 or BT83S1 column.
- Insert 4 x MS sliding nuts (supplied separately as 2 x BT6174) into the column and attach item 1 to the column by tightening the MS x 10mm screws.

- RAIL MOUNTING
Mounting onto a BTS390 rail.- Insert 4pcs x MS sliding nuts (supplied separately as 2pcs x BT6174) into a BT8390 rail.
Fasten 2pcs x MS x 10mm screws (supplied with BT6174) into the top row of sliding nuts, do not fully tighten. - Hook item 1 onto the rail using the MS x 10mm screws.
- Fix 2pcs x MS x 10mm screws into the bottom row of sliding nuts and fully tighten all fixings.

- Insert 4pcs x MS sliding nuts (supplied separately as 2pcs x BT6174) into a BT8390 rail.
- REMOVE TRAY FOR POLE, COLUMN OR RAIL MOUNTING
- FIXING AV HARDWARE ONTO THE STORAGE TRAY
- Pull the plunger on item 1 and fully pull down the storage tray.

- Open the key on item 1 and remove item 2.

- Fix the AV Hardware onto item 2 using items 5 & 6 or with other fixing kits (not supplied).

- Mount item 2 onto item 1 and lock the key securing the shelf.

- Using item 5, attach the AV Hardware cables to the cable management on item 1.

- Pull the plunger on item 1 and using the handle close the storage tray.

- Pull the plunger on item 1 and fully pull down the storage tray.
- ATTACH INTERFACE ARMS TO SCREEN
Fix item 3 to the rear of the screen using the interface kit supplied (items A – M).
- MOUNT SCREEN ONTO WALL PLATE
Hook the screen onto item 1.
OPTIONAL LEVEL SCREEN
If required, adjust item 4 on top of item 3 to level the screen.
- SECURE SCREEN
Tighten item 4 on the bottom of item 3, securing the screen to the mount.
ACCESS AV HARDWARE
To service the AV hardware mounted behind the screen, pull the plunger on the side of item 1 and pull down the tray down using the handle. To close the storage tray, pull plunger and lift tray up.

OPTIONAL LOCK TRAY
To prevent access to the storage tray a padlock (not supplied) can be used to stop the storage tray from being opened.

WALL MOUNTED INSTALLATION

ALTERNATIVE INSTALLATIONS
- COLUMN MOUNTED

- POLE MOUNTED

DIMENSIONS





ABOUT COMPANY
- CONTACT: [email protected]
- ©2022 B-Tech International Design & Manufacturing Ltd. All rights reserved.
- B-Tech AV Mounts is a division of B-Tech International Design & Manufacturing Ltd. B-Tech AV Mounts and the B-Tech logo are registered trade marks.
- All other brands and product names are trademarks of their respective owners. Photographs are for illustrative purposes only. E&OE.
- @ For More Information Visit www.btechavmounts.com







































