
B-TECH AV MOUNTS BT8541 Low Level Flat Screen Display Stand Installation Guide

BT8541
SPECIFICATIONS
- Recommended for screens up to 65″ (165cm)
- Max load: 70kg (1541bs)
- Suitable for displays with VESA9 & non-VESA fixings up to 600 x 400mm
- Tilt adjustment: 0°, 22.5°, 45°, 67.5° and 90°
- Integrated cable management
- Dimensions: H.840mm (33″) W.800mm (31.5″) 0.600mm (23.6″)

INSTALLATION SAFETY INSTRUCTIONS
CAUTION: This stand is intended for use only with the maximum weights indicated. Use with equipment heavier than the maximum indicated may result in instability causing possible injury.
Do not attempt to install this product until all instructions and warnings have been read and properly understood. Please keep these instructions for future reference.
Please check carefully to make sure there are no missing or defective parts – defective parts must never be used. B-Tech AV Mounts, its distributors and dealers are not liable or responsible for damage or injury caused by improper installation, improper use or failure to observe these safety instructions. In such cases, all guarantees will expire.
General
B-Tech AV Mounts recommends that a professional AV Installer or other suitably qualified person install this product. Great care must always be taken during installation as most AV equipment is of a fragile nature, possibly heavy and easily damaged if dropped.
If you do not fully understand the instructions or are not sure how to install this product safely, then please consult a professional for advice and/or to install this product for you. Failure to mount this product correctly may cause serious injury or death, both during installation and at any time thereafter.
Do not mount any AV equipment that exceeds the specific weight limit of the product you are installing.
This weight limit will be clearly stated on each product and its packaging and will vary from product to product.
Product location
Please pay careful attention to where this product is located. Designed for indoor use, this mount is suitable for public or home installation. Check load capacity of the floor prior to installation as some surfaces are not suitable for installation. When verifying the stability of the structure, consider the following external factors: The strength of the floor, exposure to sudden and severe wind and danger arising from contact with people and / or objects (eg installations in passageways, emergency exits), if located in a public or frequently populated area ensure that the product is out of the immediate reach of people. When drilling holes it is essential to avoid contact with electrical cables and water or gas pipes contained within.
Fixing hardware
It is highly recommended that all fixing screws be used where supplied and that the purpose of all other fixing hardware is fully understood. In some cases more AV equipment fixing hardware will be supplied to accommodate different models of equipment and set up configurations. The installer must be satisfied that any supplied fixing hardware is suitable for each specific installation.
If any fixing screws or included hardware are deemed not sufficient for a safe installation then please consult a professional or your local hardware store.
Hazard limitation
When routing cables take advantage of any built in cable management features that the product might provide and ensure that all cables are tidy and secure. Check to see that any moving aspect of the product can do so unhindered by any cabling. Some products have moving parts and the potential to cause injury through the crushing or trapping of fingers or other body parts. Particular attention to the nature of moving parts is required especially when assembling installing and adjusting during set up. Immediately after installation double-check that the work done is safe and secure. Double-check all necessary fixings are present and are of ample tightness.
It is recommended that periodic inspections of the product and its fixing points are made as frequently as possible (no more than 6 months apart) to ensure that safety is maintained.
If in doubt consult a professional AV installer or other suitably qualified person.
B-Tech AV Mounts recommends that this product be installed by a qualified AV technician or other suitably qualified person. B-Tech AV Mounts, its distributors and dealers are not liable or responsible for damage or injury caused by improper installation, improper use or failure to observe these safety instructions. In such cases, all guarantees will expire.
This product must be mounted on a suitable surface and may only be used up to the specified maximum weight.
BT8541 PARTS LIST
PLEASE KEEP THS FOOD FUTURE REFERENCE




1. ATTACH POLES TO BASE
Fix item 5 to items 1 & 2 using items 3 & 4.


2. FIX MOUNTING PLATE ON TO STAND
i. Prepare mounting plate by removing item 6 from item 7 0.
ii. Slide item 6 onto the top of item 5 (2 on each pole). Note: Set the gap between the two collars at 9mm (0.35″).
iii. Tighten the grub screws on the back of item 6.





3. FIX INTERFACE ARMS TO SCREEN
For screens with universal fixings up to 455 x 400mm
Fix items 11 to the back of the screen using the interface kit (items A-M).


4. MOUNT SCREEN ONTO STAND
Hook the screen onto item 7. This may require two people.

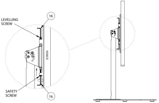
5. MOUNT SCREEN ONTO STAND
Optional: If necessary use the top screw on item 11 the level the height of the screen.
Tighten the safety screws on the bottom of item 11, securing the screen to item 7.

BT8541 DIMENSIONS
PLEASE KEEP THIS FOR FUTURE REFERENCE



THESE INSTRUCTIONS ARE INTENDED AS A GUIDE ONLY AND B-TECH ACCEPTS NO LIABILITY FOR THE ACCURACY OF THE INFORMATION CONTAINED IN THIS DOCUMENT.
![]()
CONTACT:
[email protected]
©2022 B-Tech International Design and Manufacturing Ltd. All rights reserved.
B-Tech AV Mounts is a division of B-Tech International Design and Manufacturing Ltd. B-Tech AV Mounts and the B-Tech logo are registered trade marks.
All other brands and product names are trademarks of their respective owners. Photographs are for illustrative purposes only. E&OE.
AMA-BT8541-V2-0922-BTECH MADE IN THE P.R.C.
@ For More information Visit www.btechavmounts.com

Read More About This Manual & Download PDF:


















