Ambu aScope Gastro Single-Use Gastroscope

For use by trained clinicians/physicians only.
For use in medical facility.
For use with Ambu® aBox™ 2.
Important information – Read before use!
Read the Instructions for Use (IFU) carefully before using the Ambu® aScope™ Gastro. These instructions describe the function, setup and precautions related to operating the Ambu® aScope™ Gastro. Please be aware that these instructions do not describe clinical procedures. Prior to use of the Ambu® aScope™ Gastro, it is important for operators to have received sufficient training in clinical endoscopic techniques and to be familiar with the intended use, warnings, cautions, indications and contraindications mentioned in these instructions. There is no warranty for the Ambu® aScope™ Gastro. In this document Ambu® aScope™ Gastro refers to instructions which apply to the endoscope only, while system often refers to information relevant for the Ambu® aScope™ Gastro and the compatible Ambu® aBox™ 2 displaying unit and accessories. The IFU may be updated without further notice. Copies of the current version are available upon request.
In this document, the term aScope Gastro refers to the Ambu® aScope Gastro™ and aBox 2 refers to Ambu® a Box™ 2.
Intended use/Indications for use
The aScope Gastro is a sterile, single-use, flexible gastroscope intended to be used for endoscopic access to and examination of the upper gastrointestinal anatomy. The aScope Gastro is intended to provide visualization via a compatible Ambu displaying unit and to be used with endotherapy accessories and other ancillary equipment.
Intended patient population
The aScope Gastro is intended to be used in adults; this means patients with an age of 18 years or above. The aScope Gastro is used in patients with indications in the upper gastrointestinal anatomy requiring visualization and/or examination with flexible gastroscopy and use of endotherapy accessories and/or equipment.
Contraindications
No known contraindications.
Clinical benefits
The aScope Gastro, when used with the compatible a Box 2 displaying unit, enables visualization, examination and endoscopic intervention of key anatomical structures in the upper gastrointestinal (GI) tract, particularly oesophagus, gastroesophageal junction, stomach, pylorus, duodenal bulb and descending duodenum. High-definition imaging technology will enable endoscopists to view mucosal and vascular structures. The risk of endoscope-related patient cross-contamination is eliminated compared to reusable endoscopes, as the aScope Gastro is a sterile single-use medical device.
Warnings and cautions
WARNINGS
- For single-use only. Do not reuse, reprocess or resterilize as these processes may leave harmful residues or cause malfunction of the aScope Gastro. Reuse of the aScope Gastro may cause cross-contamination potentially leading to infections.
- Confirm that the opening of the insufflation/rinsing valve is not blocked.
If the opening is blocked, gas is fed continuously and patient pain, bleeding, perforation and/or gas embolism can result. - Prior to use always perform an inspection and functionality check according to sections 4.1 and 4.4. Do not use the device if the aScope Gastro or its packaging is damaged in any way or if the functionality check fails, as this can lead to patient injury or infection.
- Patient leakage currents may be additive, when using energised endotherapy accessories. Do not use energised endotherapy accessories which are not classified as “type CF” or “type BF” applied parts according to IEC 60601-1, as that could lead to too high patient leakage current.
- Do not perform procedures with High Frequency (HF) endotherapy accessories if flammable or explosive gases are present in the gastrointestinal tract as this may result in serious injury to the patient.
- Always observe the live endoscopic image when inserting, withdrawing or operating the aScope Gastro. Failure to do so may result in patient injury, bleeding and/or perforation.
- Ensure that the insufflator is not connected to the auxiliary water inlet as this may cause over insufflation which can result in patient pain, bleeding, perforation and/or gas embolism.
- The distal tip of the aScope Gastro may get warm due to heating from the LEDs. Avoid long periods of contact between the distal tip of the aScope Gastro and the mucosa as sustained contact may cause tissue damage.
- Do not insert or withdraw the aScope Gastro if endotherapy accessory is protruding from the distal end of the working channel as this may result in injury to the patient.
- If the biopsy valve is left uncapped and/or if the biopsy valve is damaged it can reduce the efficacy of the aScope Gastro’s suction functionality, and may leak or spray patient debris or fluids, posing a risk of infection. When the valve is uncapped, place a piece of sterile gauze over it to prevent leakage.
- Always use gauze to pull the endotherapy accessory through the biopsy valve as patient debris or fluids may leak or spray, posing a risk of infection.
- During the procedure always wear personal protective equipment (PPE) to protect against contact with potentially infectious material. Failure to do so may cause contamination potentially leading to infections.
- Using HF endotherapy accessories with aScope Gastro may disturb the image on the displaying unit which may lead to patient injury. To reduce disturbance, try alternative settings on the HF generator with lower peak voltages.
- Portable Radio Frequency (RF) communications equipment (including peripherals such as antenna cables and external antennas) should be used no closer than 30 cm (12”) to any part of the aScope Gastro and the displaying unit, including cables specified by the manufacturer. Otherwise, degradation of the performance of this equipment could result which could lead to patient injury
CAUTIONS
- Only use the aScope Gastro with medical electrical equipment that complies with IEC 60601, and any applicable collateral and/or particular standards. Failure to do so may lead to equipment damage.
- Prior to using any HF endotherapy accessory, check the compatibility with the aScope Gastro. Always follow the IFU of the third-party device. Failure to do so may lead to equipment damage.
- Do not activate energised endotherapy accessories before the distal end of the endotherapy accessory is in the field of view and is extended at an appropriate distance from the distal tip of the endoscope as this may result in aScope Gastro damage.
- Do not apply oil-based lubrication in the working channel as this may increase friction when inserting endotherapy accessories.
- Do not coil the insertion tube or umbilical cord to a diameter of less than 20 cm (8”) as this may damage the aScope Gastro.
- Do not drop, bump, bend, twist or pull any portion of the aScope Gastro with excessive force as the aScope Gastro may get damaged leading to failure in functionality.
- Do not use excessive force to advance an endotherapy accessory through the working channel. Doing so may cause damage to the working channel of the aScope Gastro.
- US Federal Law restricts this device to sale by or on the order of a licensed health care practitioner.
Potential adverse events
Possible complications include (not exhaustive):
- Gas embolism
- Gagging
- Gastric-to-pulmonary aspiration
- Mucosal laceration
- Mucosal bleeding
- Perforation
- Peritonitis
General notes
If, during the use of this device or as a result of its use, a serious incident occurs, please report it to the manufacturer and to your national authority
Device description
The aScope Gastro must be connected to the aBox 2 displaying unit. Please refer to the aBox 2 IFU for more setup details.
aScope Gastro
| Ambu® aScope™ Gastro Sterile and single-use Gastroscope | Part number | Distal end outer diameter | Working channel inner diameter |
![]() 103 cm / 40.6’’ | 483001000US | 9.9 mm 29.7 Fr | 2.8 mm 8.4 Fr |
Description of components and functions
The aScope Gastro is a sterile and single-use gastroscope for use within the upper GI tract. It is intended for left-handed use. The endoscope is inserted into the patient’s upper GI tract through the mouth and is powered by connection to the aBox 2 displaying unit. The aScope Gastro can be used with endotherapy accessories and ancillary equipment for endoscopic procedures.
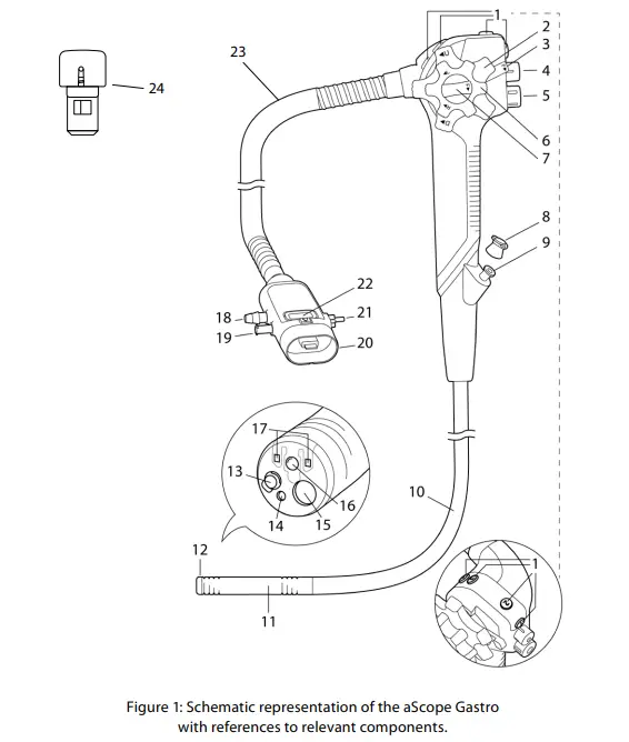
The components of the aScope Gastro are denoted in Figure 1 and are described within the associated table underneath it. The working channel allows for the passage of endotherapy accessories, instillation of fluids, and suction of fluids. The auxiliary water system allows the instillation of fluids. The insufflation/rinsing fluid management system allows the instillation of CO₂ to expand the GI lumen and rinsing of the lens. The optical module in the distal tip consists of a camera housing which contains a camera and LED light sources. The user can angulate the distal tip in multiple planes for visualization of the upper GI tract by turning the control wheels to activate the bending section. The bending section can bend up to 210° enabling a retroflexion to visualize the fundus and esophageal sphincter.

No. | Part | Function |
![]() | Control section | The user holds the aScope Gastro at the control section with the left hand. The control wheels and remote switches/programmable buttons may be manipulated with the left and/or right hand. |
| No. on Fig.1 | Part | Function |
| 1 | Remote switches/ programmable buttons | The user activates functions on the aBox 2. The functions of the remote switches/ programmable buttons are pre-configured from factory and can be re configured according to the user’s preference. Each button can be programmed to be sensitive on both short and long press. See aBox 2 IFU for further details. |
| 2 | Up/Down control wheel | The Up/Down control wheel manipulates the bending section of the endoscope. When this wheel is turned in the “U” direction, the bending section moves UP; when the wheel is turned in the “D” direction, the bending section moves DOWN. |
| 3 | Up/Down angulation lock | Turning this lock in the “F ” direction frees angulation. Turning the lock into the opposite direction locks the bending section at any desired position along the up/down axis. |
| 4 | Suction valve | The removable suction valve controls suction. When pressed down, suction is activated to remove any fluids, debris or gas from the patient. |
| 5 | Insufflation/ rinsing valve | The insufflation/rinsing valve controls insufflation and lens rinsing. Placing a finger on the opening of the valve activates insufflation. When pressed fully down, lens rinsing is activated. |
| 6 | Right/Left control wheel | The Right/Left control wheel manipulates the bending section of the endoscope. When this wheel is turned in the “R” direction, the bending section moves RIGHT; when the wheel is turned in the “L” direction, the bending section moves LEFT. |
| 7 | Right/Left angulation lock | Turning this lock in the “F” direction frees angulation. Turning the lock into the opposite direction locks the bending section at any desired position along the right/left axis. |
| 8 | Biopsy valve | The biopsy valve seals the working channel. |
| 9 | Working channel port | The working channel functions as:
|
| 10 | Insertion tube | The flexible insertion tube is inserted into the patient’s upper GI tract. |
| 11 | Bending section | The bending section is the manoeuvrable part of the aScope Gastro, that can be controlled by the control wheels and angulation locks. |
| 12 | Distal tip | The distal tip holds the camera, the light source (two LEDs), the working channel outlet, the insufflation/rinsing nozzle, and the water jet outlet. |
| 14 | Insufflation/ rinsing nozzle | Nozzle for lens rinsing and insufflation. |
| 15 | Water jet outlet | The water jet system is used for endoscopic irrigation of the patient’s upper GI tract. |
| 16 | Working channel outlet | This is the opening of the working channel at the distal end |
| 17 | Camera | Enables visualization of the upper GI tract. |
| 18 | LEDs | Enables illumination of the upper GI tract. |
| 19 | Suction connector | Connects the aScope Gastro to the suction tube. |
| 20 | Auxiliary water inlet | Connects the aScope Gastro to the irrigation tube of the irrigation pump. The auxiliary water inlet has an integrated oneway valve to reduce the risk of backflow |
| 21 | aScope Gastro connector | Connects the aScope Gastro to the grey output socket of the aBox 2. Ancillary equipment for suction, insufflation, lens rinsing and irrigation can be attached to the aScope Gastro connector. |
| 22 | Insufflation/ rinsing connector | Connects the aScope Gastro to the sterile water bottle to enable insufflation and lens rinsing. |
| 23 | Disconnection button | Press the button when disconnecting the aScope Gastro from the aBox 2. |
| 24 | Umbilical cord | Connects the control section with the aScope Gastro connector. |
| 25 | Spare suction valve | Can be used to replace the existing suction valve. |
Device compatibility
The aScope Gastro can be used in conjunction with:
- The a Box 2.
- Insufflators for endoscopic gastrointestinal procedures as source of medical grade CO₂.
- Standard insufflation/rinsing fluid management tubing sets and sterile insufflation/ rinsing water bottles compatible with Olympus.
- Vacuum source to provide vacuum.
- Standard flexible suction tubes.
- Gastrointestinal endotherapy accessories specified to be compatible with a working channel with an inner diameter (ID) of 2.8 mm / 8.4 Fr or less. There is no guarantee that endotherapy accessories selected using only this minimum working channel size will be compatible with the aScope Gastro.
- Medical-grade water-based lubricants, iodine-based contrast agents, lipiodol, haemostatic agents, lifting agents, antifoaming agents, tattoo for permanent staining, and dyes for vital staining.
- Sterile water.
- HF electrosurgical equipment fulfilling IEC 60601-2-2. To keep HF leakage currents within allowed limits, the maximum sinus peak voltage level of the electrosurgical unit shall not exceed 5.0 kVp.
- Auxiliary irrigation pump for endoscopic gastrointestinal procedures with a Luer-lock connector.
Explanation of symbols used
| Symbol | Description | Symbol | Description |
![]() | Working length of the insertion tube | ![]() | Atmospheric pressure limitation |
![]() | Maximum insertion portion width (maximum outer diameter) | ![]() | Humidity limitation |
![]() | Minimum working channel width (minimum inner diameter) | ![]() | Temperature limitation |
![]() | Field of view |
| Packaging level ensuring sterility |
![]() | Warning |
| Global Trade Item Number |
![]() | Do not use if package is damaged |
| UL Recognized Component Mark for Canada and the United States |
![]() | IFU symbol | ![]() | Maximum relative supply pressure by auxiliary irrigation pump. Values are depicted in kPa/psi |
| Maximum relative supply pressure by CO₂ insufflator. Values are depicted in kPa/psi | ![]() | Maximum relative negative pressure supplied by vacuum source. Values are depicted in kPa/psi |
A full list of symbol explanations can be found on ambu.com/symbol-explanation.
Use of the device
The numbers in grey circles refer to the quick guide on page 2. Before each procedure, prepare and inspect each new aScope Gastro as instructed below. Inspect other equipment to be used with the aScope Gastro as instructed in their respective instruction manuals. Should any irregularity be observed after inspection, follow the instructions as described in section 6 “Troubleshooting”. If the aScope Gastro malfunctions, do not use it. Contact your Ambu sales representative for further assistance.
Inspection of the device 1

- Check that the pouch seal is intact and discard the aScope Gastro if the sterile seal has been damaged. 1a
- Confirm that the aScope Gastro is good to use by checking the expiry date. Discard the device if it has expired.
- Carefully peel off the peel pouch packaging of the aScope Gastro and remove the protective elements from the control section and the distal end. 1b
- Carefully run your hand back and forth over the entire length of the insertion tube, including the bending section and distal tip, of the aScope Gastro to make sure that there are no impurities or damages on the product such as rough surfaces, sharp edges or protrusions which may harm the patient. Make sure to use an aseptic technique when performing the above. Otherwise, the sterility of the product will be compromised. 1c
- Inspect the distal end of the aScope Gastro´s insertion tube for scratches, cracks or other irregularities.
- Confirm that the top opening of the insufflation/rinsing valve is not blocked.
- Turn the Up/Down and Right/Left control wheels in each direction until their respective stops and then return them to their neutral position. Confirm that the bending section functions smoothly and correctly, that the maximum angulation is achieved and that the bending section returns to the neutral position. 1d
- Confirm that the angulation locks are functional by locking and releasing them as described in section 2.1. Turn the control wheels fully in all directions, lock the angulation in a fully angulated position and confirm that the bending section is stable. Release the angulation locks and confirm that the bending section straightens out.
- Using a syringe, flush sterile water into the working channel. Ensure that there are no leakages and that the water is emitted from the distal tip. 1e
- If necessary, confirm compatibility with applicable accessory devices.
- A spare suction valve is available if needed to replace the preinstalled one in the aScope Gastro. The spare suction valve is attached to the mounting card next to the aScope Gastro.
- A new aScope Gastro should be readily available so the procedure can be continued in case a malfunction occurs.
Preparations for use
Prepare and inspect a Box 2, CO₂ insufflator, sterile insufflation/rinsing water bottle, auxiliary irrigation pump, sterile water bottle, vacuum source and suction container including tubes as described in their respective instruction manuals.
- Power up the a Box 2. 2

- Carefully align the arrows on the aScope Gastro connector with the grey port of the a Box 2 to prevent damage to the connectors. 3

- Connect the aScope Gastro to the aBox 2 by plugging the aScope Gastro connector into its corresponding grey port on the aBox 2.
- Check that the aScope Gastro is firmly locked to the aBox 2.
- When using the aScope Gastro, it is recommended to use a mouthpiece to prevent the patient from accidentally biting the insertion tube.
Attaching ancillary equipment
The aScope Gastro is designed to work with most commonly available medical suction and insufflation/rinsing fluid management systems. The aScope Gastro does not itself produce negative pressure and therefore an external vacuum source (e.g. wall suction or medical grade suction pump) will be required to operate the system. As the aScope Gastro has a standard suction connector, standard suction tubes are compatible with the endoscope as long as a firm and tight connection is established. Nomenclature used in this section follows the established convention whereby each container used has multiple connection ports labelled either “To Vacuum” or “To Patient”. However, it is the responsibility of the user to consult and follow all third-party manufacturer instructions and guidance applicable to the endoscopic fluid management system chosen for use with the aScope Gastro. To perform patient examinations or procedures, all fluid containers (sterile water bottles and suction containers) must be properly and securely arranged in order to prevent spillage whereby maintaining a safe working environment. Place the containers in the designated locations and connect them according to the instructions in this section. When using third-party devices with the aScope Gastro, always consult the instructions for use accompanying the third-party device.
Connection to the insufflation/rinsing fluid management system 4

The aScope Gastro is designed to work with a source of medical grade CO₂ for insufflation.
Connect the aScope Gastro using an insufflation/rinsing fluid management tubing set.
A new disposable or sterilized reusable insufflation/rinsing fluid management tubing set and disposable or sterilized reusable insufflation/rinsing water bottle is required for each new procedure
- If ancillary equipment is ON turn OFF.
- Connect the insufflation/rinsing fluid management tubing set to the insufflation/ rinsing connector.
- Confirm that the connector fits properly and that it cannot be rotated.
- Turn the ancillary equipment back ON.
Connection to the auxiliary water jet system 5

- The aScope Gastro has an auxiliary water inlet with an integrated one-way valve to reduce the risk of backflow.
- If ancillary equipment is ON turn OFF.
- Connect the irrigation tube to the auxiliary water inlet. A new disposable or sterilized reusable irrigation tube and water bottle is required for each new procedure.
- Confirm that the connector fits properly.
- Turn the ancillary equipment back ON.
Connection to the suction system 5
Regardless of the vacuum source chosen, the aScope Gastro will require the source to provide a vacuum for the aScope Gastro to operate normally. Failure to provide the minimum vacuum requirements could result in a decreased suction capacity.
Irrespective of the chosen medical suction system, overflow protection must be a feature of the suction container setup utilized to prevent fluids from entering the endoscopic system. This feature is commonly referred to as “self-sealing” feature or a “shut-off-filter”, or similar mechanisms. Please note that a new disposable or sterilized reusable suction tube and new disposable or sterilized reusable suction container is required for each new procedure.
- If ancillary equipment is ON turn OFF.
- Once the irrigation tube is connected, fit the end of the suction tube securely over the suction connector.
- Connect the other end of the suction tube to the suction container and establish a connection to the external vacuum source (wall suction or medical suction pump) from here. Always follow the IFU of ancillary equipment.
- Turn the ancillary equipment back ON.
Inspection of the endoscopic system
Checking the working channel 6

- Confirm that the biopsy valve is attached to the working channel port.
- Gastrointestinal endotherapy accessories labelled for use with a working channel with an inner diameter (ID) of 2.8 mm / 8.4 Fr or less are compatible.
There is no guarantee that endotherapy accessories selected using only this minimum working channel size will be compatible with the aScope Gastro. - Compatibility of selected endotherapy accessories should be tested prior to procedure.
Inspection of the image 7

- Verify that a live video image and correct orientation appears on the monitor by pointing the distal end of the aScope Gastro towards an object, e.g. the palm of your hand.
- Adjust the image preferences on the aBox 2 if necessary. See aBox 2 IFU for further details.
- If the image is impaired and/or unclear, wipe the lens at the distal tip using a sterile cloth.
- The images must not be used as an independent source for diagnosis of any pathology. Physicians must interpret and qualify any findings by other means and in the light of the patient’s clinical characteristics.
Checking the remote switches/programmable buttons
- All remote switches/programmable buttons should be checked to work normally even if they are not expected to be used.
- Press every remote switch/programmable button and confirm that the specified function works as expected.
- Each remote switch/programmable button can be programmed to be sensitive on both short and long press. See aBox 2 IFU for further details.
Checking the suction, rinsing and insufflation functionality
- Check that the suction and insufflation/rinsing valves work as expected by pressing the suction and insufflation/rinsing valves.
- Cover the opening of the insufflation/rinsing valve and confirm that the insufflation function works properly.
- Fully depress the insufflation/rinsing valve and confirm that the rinsing function works properly.
Checking the auxiliary water jet functionality
- Check the auxiliary water jet system by activating the auxiliary irrigation pump and confirm that irrigation function works properly
Operating the device
Insertion of the aScope Gastro 8

- Insert a suitable mouthpiece and place it between the patient’s teeth or gums.
- If necessary, apply a medical-grade lubricant as denoted in sec. 2.2 to the distal section of the endoscope.
- Insert the distal end of the aScope Gastro through the opening of the mouthpiece, then from the mouth to the pharynx while viewing the endoscopic image. Do not insert the aScope Gastro beyond the proximal end maximum length mark.
Holding and manoeuvring the aScope Gastro
- The control section of the aScope Gastro is designed to be held in the operator’s left hand.
- The suction and insufflation/rinsing valves can be operated using the left index and middle fingers.
- The Up/Down control wheel can be operated using the left thumb and supporting fingers.
- The operator’s right hand is free to manipulate the distal section via the Insertion Tube of the endoscope.
- The right hand is intended to adjust the Right/Left control wheel and the angulation locks.
Angulation of the distal end
- Operate the angulation control wheels as necessary to guide the distal end during insertion and observation.
- The aScope Gastro’s angulation locks are used to hold the angulated distal end in position.
Insufflation/rinsing
- Cover the opening of the insufflation/rinsing valve to feed CO₂ from the insufflation/ rinsing nozzle at the distal tip.
- Fully depress the insufflation/rinsing valve to feed sterile water onto the objective lens.
Instillation of fluids
- Fluids can be injected through the working channel by inserting a syringe into the working channel port of the aScope Gastro. Insert the syringe completely into the port and press the plunger to inject fluid.
- Make sure you do not apply suction during this process, as this will redirect the injected fluids into the suction system.
Auxiliary water jet system
- Activate the auxiliary water jet system to apply irrigation.
- A delay in irrigation may be experienced if the auxiliary water jet system has not been pre-filled during the pre-procedural preparation.
Suction
- Press the suction valve to aspirate excess fluids or other debris obscuring the endoscopic image.
- For optimal suction capability, it is recommended to remove endotherapy accessories entirely during suction.
- Should the suction valve on the aScope Gastro clog, remove and clean it or replace it with the spare suction valve attached on the mounting card.
Insertion of endotherapy accessories
Always make sure to select the correct size of gastrointestinal endotherapy accessories for use in combination with the aScope Gastro by consulting respective IFUs. Accessories should be compatible if they are designed for working channels with an inner diameter (ID) of 2.8 mm/8.4 Fr or less. However, there is no guarantee that accessories selected using only this minimum working channel size will be compatible with the aScope Gastro. Thus, compatibility of selected accessories should be assessed prior to the procedure.
- Inspect the endotherapy accessory before use. Replace it if there is any irregularity in its operation or external appearance.
- Confirm that the tip of the endotherapy accessory is closed or retracted into its sheath.
- Insert the endotherapy accessory through the biopsy valve into the working channel. Hold the accessory approximately 4 cm (1.5″) from the biopsy valve and advance it slowly and straight towards the biopsy valve using short strokes while observing the endoscopic image. Advance the accessory carefully through the working channel until it exits the working channel outlet and can be seen on the monitor.
Withdrawal of endotherapy accessories
- Ensure that the accessory is in a neutral position before withdrawing it from the aScope Gastro through the biopsy valve.
- If the accessory cannot be removed, retract the aScope Gastro as described in the next paragraph while observing the endoscopic image.
Withdrawal of the aScope Gastro 9

- Stop using the image magnification (zoom) function of the a Box 2.
- Aspirate accumulated air, blood, mucus or other debris by activating the suction valve.
- Move the Up/Down angulation lock to the “F” direction to release the angulation.
- Turn the Right/Left angulation lock to the “F” direction to release the angulation.
- Carefully withdraw the aScope Gastro while observing the endoscopic image.
- Remove mouthpiece from the patient´s mouth.
After use
Detach all tubes and tubing sets from the aScope Gastro connector. 10

Press the disconnection button and disconnect the aScope Gastro from the aBox 2. 11

Check the aScope Gastro for any missing parts, evidence of damage, cuts, holes, sagging, or other irregularities on the bending and insertion section including the distal tip. 12

Should any irregularities exist, immediately determine if any parts are missing and take the necessary corrective action(s).
Disposal of the aScope Gastro 13

Discard the aScope Gastro including all packaging and the spare suction valve in accordance with local guidelines for medical waste with electronic components.
Returning devices to Ambu
Should it be necessary to return an aScope Gastro to Ambu for evaluation, please contact your representative at Ambu for instructions and/or guidance. To prevent infection, it is strictly forbidden to ship contaminated medical devices. As a medical device, aScope Gastro must be decontaminated on site prior to shipment to Ambu. Ambu reserves the right to return contaminated medical devices to the sender.
Device specifications
Standards applied
The aScope Gastro conforms with:
- IEC 60601-1 Medical electrical equipment – Part 1: General requirements for basic safety and essential performance.
- IEC 60601-1-2 Medical electrical equipment – Part 1-2: General requirements for basic safety and essential performance – Collateral standard: Electromagnetic disturbances – Requirements and tests.
- IEC 60601-2-18 Medical electrical equipment – Part 2-18: Particular requirements for the basic safety and essential performance of endoscopic equipment.
- ISO 10993-1 Biological evaluation of medical devices – Part 1: Evaluation and testing within a risk management process.
- ISO 8600-1 Endoscopes – Medical endoscopes and endotherapy devices – Part 1: General requirements.
Technical device specifications
| No. | Product specification | ||
| 1 | Insertion section dimensions | ||
| 1.1 | Bending angle | Up: Down: Left: Right: | 210° 90° 100° 100° |
| 1.2 | Max. insertion portion outer diameter | 10.4 mm / 0.41” / 31.2 Fr | |
| 1.3 | Distal tip diameter | 9.9 mm / 0.39” / 29.7 Fr | |
| 1.4 | Working length | 103 cm / 40.6” | |
| 2 | Working channel | ||
| 2.1 | Min. working channel width | 2.8 mm / 0.11″ / 8.4 Fr | |
| 3 | Optics | ||
| 3.1 | Field of view | 140° | |
| 3.2 | Direction of view | 0° (forward pointing) | |
| 3.3 | Depth of field | 3 – 100 mm / 0.12 – 3.94″ | |
| 3.4 | Illumination method | LED | |
| 4 | Connections | ||
| 4.1 | The insufflation/rinsing connector connects to a medical grade CO₂ insufflator | Max. 80 kPa / 12 psi (relative pressure) | |
| 4.2 | The suction connector connects to a vacuum source | Max. -76 kPa / -11 psi (relative pressure) | |
| 4.3 | The auxiliary water inlet connects to an auxiliary irrigation pump | Max. 500 kPa / 72.5 psi (relative pressure) | |
| 5 | Operating environment | ||
| 5.1 | Temperature | 10 – 40 °C / 50 – 104 °F | |
| 5.2 | Relative humidity | 30 – 85 % | |
| 5.3 | Atmospheric pressure | 80 – 106 kPa / 12 – 15 psi | |
| 6 | Sterilization | ||
| 6.1 | Method of sterilization | Ethylene oxide (EtO) | |
| 7 | Biocompatibility | ||
| 7.1 | aScope Gastro is biocompatible | ||
| 8 | Storage and transportation conditions | ||
| 8.1 | Transportation temperature | -10 – 55 °C / 14 – 131 °F | |
| 8.2 | Storage temperature | 10 – 25 °C / 50 – 77 °F | |
| 8.3 | Relative humidity | 10 – 95 % | |
| 8.4 | Atmospheric pressure | 50 – 106 kPa / 7.3 – 15 psi | |
Troubleshooting
The following tables show the possible causes of and countermeasures against challenges that may occur due to equipment setting errors or damage to the aScope Gastro. Make sure to contact your local Ambu representative for detailed information if indicated.
Prior to use please do the pre-check as described in section 4
Angulation and angulation locks
| Possible problem | Possible cause | Recommended action |
| Increased resistance during control wheel operation. | The angulation lock is activated. | Release the angulation lock. |
| One or more of the control wheels do not turn. | Control wheel angulation locks are activated. | Release the angulation lock. |
| Angulation lock is not working. | Angulation lock is not correctly activated. | Activate the locking function by turning the angulation lock to the end stop. |
| Bending section does not angulate when control wheel is operated. | aScope Gastro is defective. | Withdraw the aScope Gastro and connect a new endoscope. |
| Max. bending angles cannot be reached. | aScope Gastro is defective. | Withdraw the aScope Gastro and connect a new endoscope. |
| Bending section angulates in the opposite direction. | aScope Gastro is defective. | Withdraw the aScope Gastro and connect a new endoscope. |
Rinsing and insufflation
| Possible problem | Possible cause | Recommended action |
| Rinsing impaired or not possible. | Insufflation/rinsing fluid management tubing set not properly connected. | Connect the rinsing tubing properly to the aScope Gastro. |
| The water bottle is empty. | Replace the water bottle with a new one. | |
| CO₂ regulator is not working or not switched on. | Refer to the CO₂ regulator IFU. | |
| Sterile water source setup suboptimal. | Confirm that water source is installed according to its IFU. | |
| Insufflation/rinsing valve not fully activated. | Fully depress the insufflation/ rinsing valve. | |
| aScope Gastro is defective. | Withdraw the aScope Gastro and connect a new endoscope. | |
| Insufflation not possible or insufficient. | CO₂ regulator is not connected, switched on or otherwise not working correctly. | Connect or switch on compatible regulator. Adjust regulator settings. Refer to the CO₂ regulator IFU. |
| Insufflation/ rinsing fluid management tubing set not properly connected. | Connect the insufflation/rinsing fluid management tubing set to the aScope Gastro. | |
| Sterile water source setup suboptimal. | Confirm that water source is installed according to its IFU. | |
| CO₂ – source is empty or remaining pressure too weak. | Connect a new CO₂ – source. | |
| Suction is activated. | Deactivate suction. | |
| aScope Gastro is defective. | Withdraw the aScope Gastro and connect a new endoscope. | |
| Continuous insufflation without operating insufflation/rinsing valve. | Insufflation/rinsing valve opening is blocked. | Withdraw the aScope Gastro and connect a new endoscope. |
Suction
| Possible problem | Possible cause | Recommended action |
| Diminished or no suction. | Vacuum source/suction pump is not connected or not switched ON. | Connect the vacuum source/ suction pump and power ON. |
| Suction container is full or not connected. | Change the suction container if it is full. Connect a suction container. | |
| Suction valve is blocked. | Remove the valve and rinse with sterile water using a syringe and reuse the valve. Or replace the part with the spare suction valve. | |
| Biopsy valve is not properly connected. | Attach valve correctly. | |
| Biopsy valve cap is open. | Close cap. | |
| Vacuum source/suction pump too weak. | Increase vacuum pressure. | |
| Vacuum source/suction pump is defective. | Replace with a new vacuum source/suction pump. | |
| Working channel is blocked. | Flush sterile water with a syringe through the working channel. | |
| aScope Gastro is defective. | Withdraw the aScope Gastro and connect a new endoscope. | |
| Continuous suction. | Suction valve remains depressed. | Gently pull the suction valve up to the off position. |
Working channel and use of accessories
| Possible problem | Possible cause | Recommended action |
| Working channel access is constricted or blocked (endotherapy accessories do not pass through channel smoothly). | Endotherapy accessory is not compatible. | Select a compatible endotherapy accessory. |
| Endotherapy accessory is open. | Close the endotherapy accessory or retract it into its sheath. | |
| Working channel is blocked. | Try to unblock it by flushing sterile water into the working channel with a syringe. | |
| Biopsy valve is not open. | Open the cap of the biopsy valve. | |
| Insertion or withdrawal of endotherapy accessories is difficult. | Bending section in (partial-) retroflection. | Straighten the bending section as much as possible without losing the endoscopic image. |
Image quality and brightness
| Possible problem | Possible cause | Recommended action |
| No video image. | aBox 2 or ancillary equipment is not switched ON. | Switch a Box 2 and ancillary equipment ON. |
| aScope Gastro connector is not properly connected to the aBox 2. | Connect the aScope Gastro connector properly to the aBox 2. | |
| aScope Gastro is defective. | Withdraw the aScope Gastro and connect a new endoscope. | |
| aBox 2 is defective. | Contact your Ambu representative. | |
| Image suddenly darkens. | Camera or illumination failure. | Withdraw the aScope Gastro and connect a new endoscope. |
| Blurry image. | Objective lens is dirty. | Rinse the objective lens. |
| Water drops on the outside of the lens. | Insufflate and/or rinse to remove water drops from the lens. | |
| Condensation on the inside of the lens. | Increase the water temperature in the water bottle and continue to use the aScope Gastro. | |
| aBox 2 image settings incorrect. | See aBox 2 IFU. | |
| Flickering images. | Signal interference from activated HF endotherapy accessory. | Use alternative mode or settings on the HF-generator with lower peak voltage (pV). |
| Dark or over- illuminated image. | aBox 2 image settings incorrect. | See aBox 2 IFU. |
| aScope Gastro is defective. | Withdraw the aScope Gastro and connect a new endoscope. | |
| The color tone of the endoscopic image is unusual. | aScope Gastro is defective. | Withdraw the aScope Gastro and connect a new endoscope. |
| Picture is frozen. | aScope Gastro is defective. | Withdraw the aScope Gastro and connect a new endoscope. |
| aBox 2 is defective. | Contact your Ambu representative. |
Remote switches/programmable buttons
| Possible problem | Possible cause | Recommended action |
| The remote switches are not working or not working properly. | aScope Gastro connector is not properly connected to the aBox 2. | Connect the aScope Gastro Connector properly to the aBox 2. |
| Remote switch configuration changed. | Return to standard configuration of the Remote Switches or change the settings. | |
| Wrong remote switch operated. | Operate the correct remote switch. | |
| aScope Gastro is defective. | Withdraw the aScope Gastro and connect a new endoscope. | |
| aBox 2 is defective. | Contact your Ambu representative. |
CUSTOMERS SUPPORT
Ambu A/S
Baltorpbakken 13
2750 Ballerup
Denmark
T +45 72 25 20 00
ambu.com
Ambu® is a registered trademark and aScope™ and aBox™ are trademarks of Ambu A/S.






























