Huazheng HZ5374 4000A High Current Generator

Huazheng Electric Manufacturing (Baoding) Co., Ltd
Dear user: Thank you for choosing HZ5374 4000A high current generator. We hope that this instrument can make your work easier and more enjoyable, so that you can get the feeling of office automation in the test and analysis work. Before using the instrument, please read this manual, and operate and maintain the instrument according to the manual to prolong its service life. “Just a light press, the test will be completed automatically” is the operating characteristics of this instrument. If you are satisfied with this instrument, please tell your colleagues; if you are not satisfied with this instrument, please call (0312) 6775656 to tell you to serve you at all times-Baoding Huazheng Electric Manufacturing Co., Ltd., our company will definitely make you satisfied !
Overview
HZ5374 4000A high current generator (referred to as upconverter), our own self-developed test equipment, it combines the advantages of similar products at home and abroad, using CNC technology, strong anti-interference ability, compared with the previous generation upconverter Because of the use of low-power, large-capacity
self-coupling voltage regulator and high permeability iron core converter, it has the advantages of large output power, small size and light weight. Mainly used in primary bus protection and various current transformer transformation ratio test projects, it is widely used in electric power, railway, petrochemical, metallurgy and mining companies such as scientific research, production and electrical test site.
Performance characteristics
- Aesthetic and elegant PVC panel
- Directly display the test values of primary current and secondary current, which is convenient for experimental observation and recording.
- High measurement accuracy, 0.5 level
- High power, small size, strong load capacity
- Small size and light weight, the volume is only 30% to 70% of similar products, so it is very convenient to carry.
- Six and a half liquid crystal display of voltage and current, with higher display accuracy and more accurate test results
- 128*64 dot matrix liquid crystal display, the display data is more intuitive and the reading is faster
- Indicator display lock function, especially for the more accurate and faster reading during the transformer ratio test
- Polarity measurement, automatic transformer polarity measurement, no need for separate test
- New self-locking function
- Automatic ratio detection function
Technical characteristics
Name and Classification
- Name: HZ5374 4000A high current generator.
- Environmental group: It belongs to the group III instrument in GB6587.1-86 “General Survey of Environmental Measurement of Electronic Measuring Instruments” (that is, it can be used in outdoor environments).
- Input voltage: AC380V ±10%
- Power: 40KVA
- Output current: AC0~4000A stepless adjustable, panel with digital display ammeter
- Output voltage:(> 10V
- Output waveform: The output current is a standard sine wave with small glitches, which is better than the power system requirements index standard, and the ripple coefficient is less than 0.3%. Standard sine wave.
- Measurement accuracy: (Using 0.2S grade material) The actual is about 0.3; each current can be smoothly and continuously adjusted, the accuracy is higher than 0.5. The current and voltage meter shows true and effective value, high accuracy and high stability.
- Output current mode: true effective value is continuously adjustable;
- Current stability: 0.2%
- Structural form: one
- Wiring method: according to requirements
- Current stability: 0.2%;
- Protection settings: overcurrent and overvoltage;
Operating
- After the wiring is completed, you should check it again to see if there is a wiring error and whether the connector is in good contact.
- During the test, if there is a fire, and there is no abnormality such as no display when starting up, immediately turn off the power and recheck the wiring.
- During actual wiring, the current output terminal should form a loop, otherwise the instrument will not output current.
- The current riser is provided with a random output wire; the output external copper wire is selected according to 10A/mm2. (Standard configuration is two 3-meter test lines)
- The capacity of the equipment is designed for short-term work of 5 minutes. If it is used for batch testing, the working time should be less than 2.5 minutes. For temperature rise (30 minutes-24 hours), it should be prepared according to long-term working temperature rise.
Main functions and features
Principle block diagram

working principle
- The instrument measurement circuit includes a current measurement loop and a polarity measurement loop. (Voltage test can be added as required) Expandable volt-ampere characteristic function.
- The current measurement loop includes micro-current zero-impedance CT, program-controlled amplifier circuit and sampling circuit.
- The voltage measurement loop includes PT isolated signal acquisition circuit, program-controlled amplifier circuit and sampling circuit.
- The 16-bit single-chip microcomputer uses a computerized digital real-time acquisition method. By measuring the amplitude of the voltage signal, the high-voltage
measurement voltage value can be calculated according to the voltage proportional relationship. By comparing the measured voltage signal amplitude with the set voltage value, automatic timing Function, according to the current proportional relationship, the current output by the device can be calculated, and the current/voltage signal amplitude can be compared with the set value to achieve the function of overcurrent protection.
Method of operation
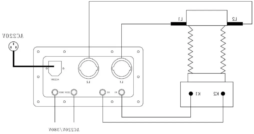
- Working power switch: press the switch, ammeter and control circuit to start working.
- Working power switch: press the switch, ammeter and control circuit to start working. Output adjustment knob: after starting test, the adjusting knob output current from the “L1 and L2” ends.
- Primary current: monitor the output current value of “L1, L2” terminal.
- Secondary current: monitor the input current value of “K1, K2” (≤5A).
- Before the power line is connected, first turn the “current regulation” handle to the zero position anticlockwise. The current output terminal is connected to the primary side of the measured current transformer, and the secondary side of the measured current transformer is connected to the current meter of the equipment.
- After the power supply is connected, turn on the instrument power switch, set the “power control” switch to the “on” position, and then turn the “current regulation” handle clockwise to call out the required output current, and then conduct characteristic test on the equipment under test (the primary ammeter displays the primary current value, and the secondary ammeter displays the secondary current at this time, which can be calculated according to the primary and secondary current values Transformation ratio of measured transformer).
- When doing impact test, it is necessary to call out the required current first, press the “impact” switch to cut off the power of the equipment, release and connect the power supply, and then the impact test can be carried out on the tested equipment
System wiring

Precautions
- For the safety of the operator and the instrument, ensure that the instrument is well grounded.
- Connect the ground wire first when preparing for the test, and finally remove the ground wire when the work is completed.
- The power supply connected to the instrument is required to withstand 30A current impact.
- When connecting the instrument and the test product, pay attention to check whether the wiring is wrong, so as to avoid damage to the equipment due to the wiring error.
- Set the maximum current value of overcurrent protection should not exceed the rated output current value of the instrument.
- Do not plug or unplug any wires while the power is on.
Packing list
| No. | Item | Qty |
| 1 | High current generator host | 1 |
| 2 | High current test line | 2 |
| 3. | power cable | 1 |



![Westinghouse Wgen5300s Portable Generator [5300 Running Watts, 6600 Peak Watts] User Manual Westinghouse Wgen5300s Portable Generator [5300 Running Watts, 6600 Peak Watts] User Manual](https://static-data1.manualsee.com/1/img/41/61758/2021/02/Westinghouse-WGen5300s-Portable-Generator-5300-Running-Watts-6600-Peak-Watts-User-Manual.jpg)












