A-iPower AP5000 5000W REV00 Portable Generator Owner's Manual

INTRODUCTION
Read This Manual Thoroughly
⚠ WARNING
Read and understand manual completely before using product. Failure to completely understand manual and product could result in death or serious injury.
If any section of this manual is not understood, contact customer Service at 1-855-888-3598, or www.a-ipower.com for starting, operating and servicing procedures. The owner is responsible for proper maintenance and safe use of the unit. SAVE THESE INSTRUCTIONS for future reference. This manual contains important instructions that must be followed during placement, operation and maintenance of the unit and its components. Always supply this manual to any individual that will use this unit.
The information in this manual is accurate based on products produced at the time of publication. The manufacturer reserves the right to make technical updates, corrections and product revisions at any time without notice.
⚠ WARNING
Operating, servicing, and maintaining this equipment can expose you to chemicals including engine exhaust, carbon monoxide, phthalates, and lead, which are known to the State of California to cause cancer and birth defects or other reproductive harm. To minimize exposure, avoid breathing exhaust, and wear gloves or wash your hands frequently when servicing this equipment. For more information go to www.P65warnings.ca.gov.
SAFETY
The words DANGER, WARNING, CAUTION, and NOTICE are used throughout this manual to highlight important information. Make sure that the meanings of this safety information is known to all who operate, perform maintenance on, or are nearthe generator.
⚠ This safety alert symbol appears with most safety statements. It means attention, become alert, your safety is involved! Please read and abide by the message that follows the safety alerts symbol.
The manufacturer cannot possibly anticipate every possible circumstance that might involve a hazard. The warnings in this manual and the tags and decals affixed to the unit are therefore not all-inclusive. If you use a procedure, work method or operating technique that the manufacturer does not specifically recommend you must satisfy yourself that it is safe for you and others. You must also make sure that the procedure work method or operating technique that you choose does not render the generator unsafe.
DEFINITIONS AND SYMBOLS
⚠ DANGER
Indicates a hazard which, if not avoided, will result in death or serious injury.
⚠ WARNING
Indicates a hazard which, if not avoided, could result in death or serious injury.
⚠ CAUTION
Indicates a hazard which, if not avoided, could result in minor or moderate injury.
⚠ NOTICE
Indicates information considered important, but not hazard-related (e.g., messages relating to property damage).
![]()
GENERAL SAFETY PRECAUTIONS

⚠ DANGER
POISONOUS GAS HAZARD
Engine exhaust contains carbon monoxide, a poisonous gas that could kill you in minutes. You CANNOT smell it, see it, or taste it. Even if you do not smell exhaust fumes, you could still be exposed to carbon monoxide gas.
⚠ DANGER
The exhaust system must be properly maintained. Do not alter or modify the exhaust system as to render it unsafe or make it noncompliant with local codes and/or standards. Failure to do so will result in death or serious injury.
⚠ WARNING
Always, install battery operated carbon monoxide alarm indoors and installed according to the manufacturer’s instruction.
- Operate this product ONLY outside far away from windows, doors and vents to reduce the risk of carbon monoxide gas from accumulating and potentially being drawn towards occupied spaces. DO NOT run this product inside homes, garages, basements, crawl spaces, sheds, or other partially-enclosed spaces even if using fans or opening doors and windows for ventilation. Carbon monoxide can quickly build up in these spaces and can linger for hours, even after this product has shut off.
- ALWAYS place this product downwind and point the engine exhaust away from occupied spaces. If you start to feel sick, dizzy, or weak while using this product, shut it off and get to fresh air RIGHT AWAY. See a doctor. You may have carbon monoxide poisoning.
⚠ WARNING
If you start to feel sick, dizzy or weak while using the portable generator, you may have carbon monoxide poisoning. Get out side to fresh air immediately and call 911 for emergency medical attention. Very high levels of CO can rapidly cause victims to lose consciousness before they can rescue themselves. DO NOT attempt to shut off the generator before moving to fresh air. Entering an enclosed space where a generator is or has been running may put you at greater risk of CO poisoning.
CORRECT USAGE
Example location to reduce risk of carbon monoxide poisoning
- ONLY use outside and downwind, far away from windows, doors and vents.
- Direct exhaust away from occupied spaces.

INCORRECT USAGE
Do not operate in any of the following locations:
- Near any door, window or vent
- Garage
- Basement
- Crawl Space
- Living Area
- Attic
- Entry Way
- Porch
- Mud Room

⚠ WARNING
Starter cord kickback (rapid retraction) will pull hand and arm toward engine faster than you can let go which could cause broken bones, fractures, bruises, or sprains resulting in serious injury.
- When starting engine, pull cord slowly until resistance is felt and then pull rapidly to avoid kickback.
- NEVER start or stop engine with electrical devices plugged in and turned on.
⚠ DANGER
![]()
Fuel and its vapor are extremely flammable and explosive. Add fuel in a well ventilated area. Keep sparks, open flames and other ignition sources away. Failure to do so will result in death and serious injury.
⚠ DANGER
Do not overfill tank. Allow space for fuel expansion. If fuel spills wait until it evaporates before starting engine. Failure to do so will result in death and serious injury.
WHEN ADDING OR DRAINING FUEL
- Turn generator engine OFF and let it cool at least 2 minutes before removing fuel cap. Loosen cap slowly to relieve pressure in tank.
- Fill or drain fuel tank outdoors.
- DO NOT overfill tank. Allow space for fuel expansion.
- If fuel spills, wait until it evaporates before starting engine.
- Keep fuel away from sparks, open flames, pilot lights, heat, and other ignition sources.
- Check fuel lines, tank, cap, and fittings frequently for cracks or leaks. Replace if necessary.
- DO NOT light a cigarette or smoke.
WHEN STARTING EQUIPMENT
- Ensure spark plug, muffler, fuel cap, and air
cleaner are in place. - DO NOT crank engine with spark plug removed.
WHEN OPERATING EQUIPMENT
- DO NOT operate this product inside any building,
carport, porch, mobile equipment, marine applications, or enclosure. - DO NOT tip engine or equipment at angle which causes fuel to spill.
- DO NOT stop engine by moving choke control to “Start” position.
WHEN TRANSPORTING, MOVING OR REPAIRING EQUIPMENT
- Transport/move/repair with fuel tank EMPTY or
with fuel shutoff valve OFF. - DO NOT tip engine or equipment at angle which causes fuel to spill.
- Disconnect spark plug wire.
WHEN STORING FUEL OR EQUIPMENT WITH FUEL IN TANK
- Store away from furnaces, stoves, water heaters,
clothes dryers, or other appliances that have pilot light or other ignition source because they could ignite fuel vapours.
⚠ DANGER
Generator voltage could cause electrical shock or burn will result in death or serious injury.
⚠ DANGER
Never use generator in wet or damp locations. Never expose generator to rain, snow, water spray while in use. Protect generator from all hazardous weather conditions. Moisture, or ice can cause a short circuit or other malfunction in the electric circuit. Water contact with a power source if not avoided, will result in death or serious injury.
⚠ DANGER
Contact with terminals, bare wires and electrical connections when generator is running will result in death or serious injury.
DANGER
Fire and electrocution hazard. Do not connect to a building’s electrical system unless the generator and transfer switch have been properly installed and the electrical output has been verified by a qualified electrician. The connection must isolate the generator power from utility power and must comply with all applicable laws and electrical codes.
- Use a ground fault circuit interrupter (GFCI) in any damp or highly conductive area, such as metal decking or steel work.
- DO NOT use generator with electrical cords which are worn, frayed, bare or otherwise damaged.
- DO NOT allow unqualified persons or children to operate or service generator.
⚠ WARNING
Exhaust heat/gases could ignite combustibles, structures or damage fuel tank causing a fire, resulting in death or serious injury. Contact with muffler area could cause burns resulting in serious injury.
⚠ WARNING
When operating machine, do not touch hot surfaces. Keep machine away from combustibles during use. Hot surfaces could result in severe burns or fire.
- Allow equipment to cool before touching.
- Replacement parts must be the same and installed in the same position as the original parts.
- It is a violation of California Public Resource Code, Section 4442, to use or operate the engine on any forest-covered, brush-covered, or grass-covered land unless the exhaust system is equipped with a spark arrester, as defined in Section 4442, maintained in effective working order. Other states or federal jurisdictions may have similar laws. Contact the original equipment manufacturer, retailer, or dealer to obtain a spark arrester designed for the exhaust system installed on this engine.
⚠ WARNING
Unintentional sparking could cause fire or electric shock resulting in death or serious injury.
WHEN ADJUSTING OR MAKING REPAIRS TO YOUR GENERATOR
- Disconnect the spark plug wire from the spark plug
and place the wire where it cannot contact spark plug.
WHEN TESTING FOR ENGINE SPARK
- Use approved spark plug tester.
- DO NOT check for spark with spark plug removed.
⚠ WARNING
Starter and other rotating parts could entangle hands, hair, clothing, or accessories. Keep away from rotating parts, failure to do so could result in death or serious injury.
- DO NOT wear loose clothing, jewelry or anything that could be caught in the starter or other rotating parts.
⚠ CAUTION
Excessively high operating speeds could result in minor injury. Excessively low operating speeds impose a heavy load.
- DO NOT tamper with governor spring, links or other parts to increase engine speed. Generator supplies correct rated frequency and voltage when running at governed speed.
- DO NOT modify generator in any way.
⚠ NOTICE
Exceeding generators wattage/amperage capacity could damage generator and/or electrical devices connected to it.
- DO NOT exceed the generator’s wattage amperage
capacity. - Start generator and let engine stabilize before
connecting electrical loads. - Connect electrical loads in OFF position, then turn ON for operation.
- Turn electrical loads OFF and disconnect from generator before stopping generator.
⚠ NOTICE
Improper treatment of generator could damage it and shorten its life.
- Use generator only for intended uses.
- If you have questions about intended use, ask dealer or contact local service center.
- Operate generator only on level surfaces.
- DO NOT expose generator to excessive moisture, dust, dirt, or corrosive vapors.
- DO NOT insert any objects through cooling slots.
- If connected devices overheat, turn them off and disconnect them from generator.
- Shut off generator if:
-Electrical output is lost.
-Equipment sparks, smokes, or emits flames.
-Unit vibrates excessively.
⚠ WARNING
Medical and Life Support Uses.
- In case of emergency, call 911 immediately.
- NEVER use this product to power life support devices or life support appliances.
- NEVER use this product to power medical devices or medical appliances.
- Inform your electricity provider immediately if you
or anyone in your household depends on electrical equipment to live. - Inform your electrical provider immediately if a loss of power would cause you or anyone in your household to experience a medical emergency.
UNPACKING THE GENERATOR
- Open carton completely. Remove and verify carton content prior to assembly. Your generator ships with following items.
- Call our customer service at 1-855-888-3598 with the unit model and serial number for any missing item.
- Record model, serial number, and date of purchase on front cover of this manual for your own record.
Parts Included
Your gasoline powered generator ships with the following parts:


ASSEMBLY
Your generator requires some assembly prior to usage.
⚠ CAUTION
Assembly the generator will require lifting the unit. Always have assistance when lifting the generator.
⚠ WARNING
Do not plug in or turn on the generator until it is fully assembled according to the instructions. Failure to completely understand manual and product could result in death or serius injury.
Call our customer service at 1-855-888-3598 for any assembly issues or concerns. Please have model and serial number available.
Install the Wheel Kit
NOTE: The wheels are not intended for over-the-road use.
1 – place generator on a flat surface.
2 – Tip the generator on a piece of cardboard or other soft material to protect the frame paint and prevent the generator from sliding.
3 – Slide axle pin (A) through the wheel (B), flat washer (C) and generator frame axles hole (D).
4 – Secure everything with cotter pin (E). Repeat on opposite side.

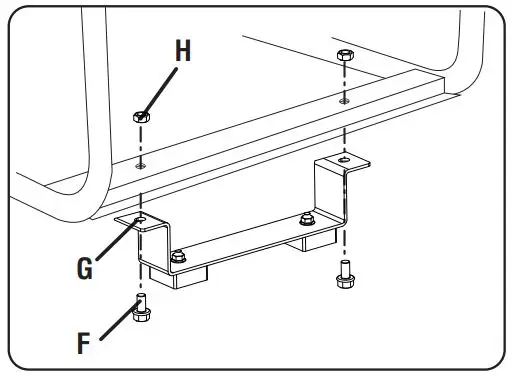
Install the Support Leg
5 – Insert bolts (F) through the support leg (G) and holes on the generator frame as shown.
6 – Tighten bolts (F) and nuts (H) to the frame.

Install the Handle Assy
7 – Unscrew bolts (I) and nuts (K) on the handle.
8 – Insert bolts (I) throught the handle (J) and holes on the generator frame as shown.
9 – Tighten bolts (I) and nuts (K).
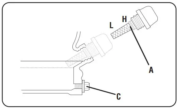
IMPORTANT: Before operating the generator the shock-absorbing seat (N) must be adjusted for clearance. Loosen the lock nut (L) and adjust the shock absorbing seat (N) so there is about 3-4mm gap between the top of the seat and the bottom of the alternator bracket (M). Re-tighten the lock nut after adjustment.

CONTROLS AND FEATURES

- Choke Lever
- Fuel Valve
- Control Panel
- Frame
- Fuel Tank
- Fuel Cap
- Fuel Gauge
- Spark Plug
- Air Filter
- Recoil Starter
- Engine
- Oil Filler Cap/Dipstick
- Handle
- Alternator Cover
- Support Leg
- Muffler/Spark Arrester
- Carbon Canister
- Carburettor
- Wheel
CONTROL PANEL FEATURES

- Engine Control Switch: Flip the switch to the “ON (l)” position and pull the recoil starter to start the generator. Turn to the “OFF (O)” position to turn off the generator.
- Hour Meter: Displays and records how many hours your generator has run (up to 9,999.9).
- Low Oil Indicator: The Light will be illuminated when the engine oil level is low. Add oil.
- 120/240V AC, 30A Twist Lock, Single Phase, 60 Hz Outlet (NEMA L14-30R): This outlet can supply either 120 Volt or 240 Volt output up to 30 amps.
- Circuit Breaker: Protects the generator against electrical overloads.
- 120V AC, 20A Duplex, Single Phase, 60 Hz Outlets (NEMA 5-20R): Each outlet is capable of carrying a maximum of 20 Amp on a single outlet or a combination of both outlets.
- Ground Terminal: The ground terminal is used to ground the generator.
NOTE: Total power drawn from all outlets must not exceed the nameplate rating. Page 10
SPECIFICATIONS
Generator Specifications

⚠ NOTICE
This product is designed and rated for continuous operation at ambient temperatures up to 104°F(40°C). If needed, this product can be operated at temperatures ranging from 5°F(15°C) – 122°F(50°C) for short periods. If the product is exposed to temperatures outside of this range during storage, it should be brought back within this range before operation. This product must always be operated outdoors in awell-ventilated area and far away from doors, windows, and other vents. Maximum wattage and current are subject to and limited by such factors as fuel BTU content, ambient temperature, altitude, engine conditions, etc. Maximum power decreases about 3.5% for each 1,000 feet above sea level, and will also decrease about 1% for each 10°F(6°C) above 60°F( 16°C) ambient temperature.
Add Engine Oil
We recommend using SAE 10W-30 APISJ oil for best performance. Other high-quality detergent oils (APISJ or higher) are acceptable. Do not use special additives. Ambient temperature determines the proper oil viscosity for the engine. Use the chart to select the proper oil for the outdoor temperature range expected.
⚠ NOTICE
Do not attempt to crank or start the engine before it has been properly filled with the recommended type and amount of oil. Damage due to operation with no oil will void your warranty.
Recommended Engine Oil Type
- Place generator on a flat, level surface.
- Clean area around oil fill and remove yellow oil fill
cap/dipstick (A). - Wipe dipstick clean.
- Using oil funnel, slowly pour contents of provided oil bottle into oil filler neck (B) to the “H” mark on dipstick. Be careful do not overfill. Overfilling with oil could cause the engine to not start or hard starting.
- Reinstall oil fill cap/dipstick (A) and fully tighten.
- Oil level should be checked prior to each use or at least every 8 hours of operation. Keep oil level maintained.

The engine is equipped with a low oil shut-off and will stop when the oil level in the crankcase falls below the threshold level.
⚠ NOTICE
We consider the first 5 hours of run time to be the break-in period for the unit. During the break in period stay at or below 50% of the running watt rating and vary the load occasionally to allow stator windings to heat and cool. Adjusting the load will also cause engine speed to vary and help seat piston rings.
Low Oil Shutdown
The unit is equipped with a low oil shutdown. If the oil level becomes lower than required, the sensor will activate a warning device or stop the engine. If generator shuts off and the oil level is within specifications, check to see if generator is sitting at an angle that forces oil to shift. Place on an even surface to correct this. If engine fails to start, the oil level may not be sufficient to deactivate low oil level switch. Make sure the sump is completely full of oil.
Add Fuel
⚠ DANGER
![]()
Fuel and its vapor are extremely flammable and explosive. Add fuel in a well ventilated area. Keep sparks, open flames and other ignition sources away. Failure to do so will result in death and serious injury.
⚠ DANGER
Do not overfill tank. Allow space for fuel expansion. If fuel spills wait until it evaporates before starting engine. Failure to do so will result in death and serious injury.
Fuel must meet these requirements:
- Clean, fresh, unleaded gasoline.
- Use regular UNLEADED gasoline with the generator
engine with a minimum 87 octane / 87 AKI (91 RON). Do not use E85 or E15. For high altitude use, see “Operation at High Altitude”. - DO NOT mix oil in gasoline.
- DO NOT modify engine to run on alternate fuels.
WHEN ADDING FUEL
- Fill fuel tank outdoors.
- DO NOT overfill tank. Allow space for fuel expansion. If the tank is overfilled, fuel can overflow onto a hot engine and cause fire or explosion.
- If fuel spills, wait until it evaporates before starting engine.
- Keep fuel away from sparks, open flames, pilot lights, heat, and other ignition sources.
- Check fuel lines, tank, cap and fittings frequently for cracks or leaks. Replace if necessary.
- DO NOT light a cigarette or smoke when filling the fuel tank.

- Remove the fuel cap (A) slowly.
- Slowly add unleaded fuel to fuel tank. Be careful not to fill above the red fuel level indicator (B). This allows adequate space for fuel expansion.
- Install fuel cap and let any spilled fuel evaporate before starting engine .
⚠ NOTICE
It is important to prevent gum deposits from forming in fuel system parts such as the carburettor, fuel hose or tank during storage. Alcohol-blended fuels (called gasohol, ethanol or methanol) can attract moisture, which leads to separation and formation of acids during storage. Acidic gas can damage the fuel system of an engine while in storage. To avoid engine problems, the fuel system should be emptied before storage of 30 days or longer. See the “Long Term Storage” section. Never use engine or carburetor cleaner products in the fuel tank as permanent damage may occur.
Operation at High Altitude
At altitudes over 5,000 feet(1524 meters), a minimum 85 octane gasoline is acceptable. Engine power and generator output will be reduced approximately 3.5% for every 1000 feet (305 m) of elevation above sea level. High altitude may cause hard starting, increased fuel consumption and spark plug fouling. To operate at high altitudes A-iPower can provide a high altitude carburetor main jet. The alternative main jet and installation instructions can be obtained by contacting Customer Support.
⚠ NOTICE
Operation using an alternative main jet at elevations lower than the recommended minimum altitude can damage the engine. For operation at lower elevations, the standard main jet supplied must be used. Operating the engine with the wrong main jet may increase exhaust emissions, fuel consumption and reduce performance.
Grounding
⚠ WARNING
Shock hazard. Failure to properly ground the generator can result in electric shock.
The national electrical requires your generator must be connected properly to an appropriate ground to help prevent electric shock. The generator has a system ground that connects the generator frame components to the ground terminals on the AC output receptacles. There may be Federal or State regulations, local codes, or ordinances that apply to the intended use of the generator. Consult a qualified electrician, electrical inspector, or the local agency having jurisdiction. This generator is not intended to be used at a construction site or similar activity as defined by NFPA 70-2020 (NEC) section 590.6.
Connecting to a Building’s Electrical System
Connections to your home’s electrical system must use a listed transfer switch installed by a licensed electrician. The connection must isolate the generator power from the utility power and comply with all applicable laws and electrical codes.
OPERATION
Generator Location
⚠ WARNING
Make sure you review each warning in order to prevent fire hazard.

⚠ DANGER
Never use generator in wet or damp locations. Never expose generator to rain, snow, water spray or standing water while in use. Protect generator from all hazardous weather conditions. Moisture, or ice can cause a short circuit or other malfunction in the electric circuit. Water contact with a power source if not avoided, will result in death or serious injury.
- Keep area clear of inflammables or other hazardous materials.
- Select a site that is dry, well ventilated and protected from the weather.
- Keep exhaust pipe clear of foreign objects.
- Keep generator away from open flame.
- Keep generator on a stable and level surface.
- Do not block generator air vents with paper or other material.
Surge Protection
Electronic devices, including computers and many programmable appliances use components that are designed to operate within a narrow voltage range and may be affected by momentary voltage fluctuations. While there is no way to prevent voltage fluctuations, you can take steps to protect sensitive electronic equipment.
Install UL1449, CSA-listed, plug-in surge suppressors on the outlets feeding your sensitive equipment. Surge suppressors come in single- or multi-outlet styles. They’re designed to protect against virtually all short-duration voltage fluctuations.
Starting the Generator
- Before starting the generator, check for loose or missing parts and for any damage which may have occurred during shipment.
- Check oil level and fuel.

- Disconnect all electrical loads from the generator. Never start or stop the generator with electrical devices plugged in or turned on.

- Turn the fuel valve to the “ON” position.

- Flip the engine switch to the “ON”(l) position.

- Move the choke lever to the “START” position.

- Pull the starter cord slowly until resistance is felt and then pull rapidly.

- Do not over-choke. As soon as engine starts and warms up, move the choke lever to the “RUN” position.

- Allow generator to run at no load for few minutes upon each initial start-up to permit engine and generator to stabilize.
⚠ WARNING
Starter cord kickback (rapid retraction) will pull hand and arm toward engine faster than you can let go which could cause broken bones, fractures, bruises, or sprains resulting in serious injury. When starting engine, pull cord slowly until resistance is felt and then pull rapidly to avoid kickback.
NOTE: Keep choke lever in “START” position for only 1 pull of the recoil starter. After first pull, move choke lever to the “RUN” position for up to the next 3 pulls of the recoil starter. Too much choke leads to sparkplug fouling/engine flooding due to the lack of incoming air. This will cause the engine not to start. If engine starts after 3 pulls but fails to run. Or if unit shuts down during operation, make sure unit is on a level surface and check for proper oil level in crankcase. This unit may be equipped with a low oil protection device. If so, oil must be at proper level for engine to start.
Connecting Electrical Loads
This unit has been pretested and adjusted to handle its full capacity. Before starting the generator, disconnect all loads. Apply load only after generator is running. Voltage is regulated via the engine speed adjusted at the factory for correct output. Re-adjusting will void warranty.
NOTE: When applying a load, do not exceed the maximum wattage rating of the generator when using one or more receptacles. Also, do not exceed the amperage rating of any one receptacle. Do not apply heavy electrical load during break-in period (the first five hours of operations).
- Let engine stabilize and warm up for a few minutes after starting.
- Ensure circuit breaker on control panel is in on position.
- Plug in and turn on the desired 120 or 240 Volt AC, single phase, 60Hz electrical loads. It is better to attach the item with largest load first.

Stopping the Engine
- Turn off and remove entire electrical loads.
Never start or stop the generator with electrical devices plugged in or turned on. Let the generator run at no-load for two minutes to stabilize internal temperatures of the engine and generator.
- Press the engine switch to the “OFF”(O) position. Do not leave the generator until it has completely stopped.

- Turn the fuel valve to the “OFF”(O) position.

⚠ WARNING
Fuel and its vapours are extremely flammable and explosive which could cause burns, fire or explosion resulting in death or serious injury. DO NOT stop engine by moving choke control to “START” position.
NOTE: Always ensure that the fuel valve is in the “OFF” position when the engine is not in use. If the engine will not be used for a period of two weeks or longer, please see the Storage section for proper engine and fuel storage.
Low Oil Shutdown
If the engine oil drops below a preset level, an oil switch will stop the engine. Check oil level with dipstick. If oil level is between LOW and HIGH mark on dipstick:
- DO NOT try to restart the engine.
- Contact an Authorized Service Dealer.
- DO NOT operate engine until oil level is corrected. If oil level is below LOW mark on dipstick:
- Add oil to bring level to HIGH mark.
- Restart engine and if the engine stops again a low oil condition may still exist. DO NOT try to restart the engine.
- Contact Customer Service.
- DO NOT operate engine until oil level is corrected.
Do Not Overload Generator
Overloading a generator in excess of its rated wattage capacity can result in damage to the generator and to connected electrical devices. To prolong the life of your generator and attached devices, follow these steps to add electrical load:
- Start the generator with no electrical load attached.
- Allow the engine to run for several minutes to stabilize.
- Plug in and turn on the first item. It is best to attach the item with the largest load first.
- Allow the engine to stabilize.
- Plug in and turn on the next item.
- Allow the engine to stabilize.
- Repeat steps 5-6 for each additional item.
MAINTENANCE AND STORAGE
MAINTENANCE SCHEDULE
Regular Maintenance will improve the performance and extend the life of your generator. Follow maintenance schedule intervals whichever occurs first according to use.
NOTE: Adverse conditions will require more frequent services.
Walk-Around Inspection Before starting the engine perform a visual inspection of the unit. Look for:
- Proper engine oil level
- Proper fuel level
- Fluid leaks
- Loose clamps and bolts
- Cracked fuel line
- Loose or frayed wiring
- Built up debris

* To be performed by authorized service center
NOTE: Change oil every month when operating under heavy load or high temperatures. Clean the air filter more often under dirty or dusty operating conditions. Replace air filter if they cannot be adequately cleaned.
NOTE:
Maintenance should be performed more frequently when generator is used in dusty areas. When generator has exceeded the maximum figures specified in the table, maintenance should still be cycled according to the intervals of time or hours stated herein.
General Recommendations
Regular maintenance will improve the performance and extend the life of the generator. See any authorized dealer for service. The generator’s warranty does not cover items that have been subjected to operator abuse or negligence. To receive full value from the warranty, the operator must maintain the generator as instructed in this manual. Some adjustments will need to be made periodically to properly maintain your generator. All service and adjustments should be made at least once each season. Follow the requirements in the Maintenance Schedule chart above.
ENGINE MAINTENANCE
To prevent accidental starting, remove and ground spark plug wire before performing any service.
Engine Oil Level Check
⚠ CAUTION
Avoid skin contact with engine oil. Wear protective clothing and equipment. Wash all exposed skin with soap and water.
⚠ NOTICE
Always use the specified engine oil. Failure to use the specified engine oil can cause accelerated wear and/or shorten the life of the engine.
When using the generator under extreme, dirty, dusty conditions or in extremely hot weather, change the oil more frequently. Ambient air temperature will affect engine oil performance. Change the type of engine oil used based on weather conditions.

Check the engine oil level before each use or every 8 hours of operation.
- Place the generator on a level surface and allow the engine to cool for several minutes.
- With a damp rag, clean around the oil dipstick.
- Remove the oil dipstick (A).
- Wipe the dipstick clean, then screw dipstick into filler neck (B). Remove the dipstick and verify that the oil level is within safe operating range.
- If low, add recommended engine oil incrementally and recheck until the level is between the L and H marks on the dipstick. DO NOT overfill. If over the full mark on the dipstick, drain the oil to reduce the oil level to the full mark.
- Reinstall the oil dipstick and hand-tighten.

Change Engine Oil
Change engine oil per maintenance schedule. If you are using your generator under extremely dirty or dusty conditions, or in extremely hot weather, change the oil more often.
⚠ WARNING
Risk of burns. Allow engine to cool before draining oil or coolant. Failure to do so could result in death of serious injury.
⚠CAUTION
Avoid prolonged or repeated skin contact with used motor oil.
- Remove the oil cap (A) and wipe dipstick clean.
- Place a container underneath the oil drain plug to collect used lubricant as it drains.
- Unscrew the oil drain plug (C) and remove.
- Allow lubricant to drain completely.
NOTE: Drain the lubricant while the engine is still warm but not hot. Warm lubricant will drain quickly and more completely. - Reinstall the oil drain plug (C) and tighten securely.
- Fill the engine with oil until it reaches the HIGH(H) level on the oil filler cap.
- Reinstall the oil cap.

If contaminated or deteriorated oil is used or the quantity of the engine oil is not sufficient, engine damage will result and its life will be greatly shortened. Maximum oil capacity: 18.6 fl.oz (0.55 L)
Spark Plug Maintenance
The spark plug must be properly gapped and free of deposits in order to ensure proper engine operation. To check:
- Remove the spark plug cap (B).
- Clean any dirt from around base of spark plug.
- Remove spark plug (A) using provided wrench.
- Inspect spark plug for damage, and clean with a wire brush before reinstalling. If insulator is cracked or chipped, spark plug should be replaced.
- Measure plug gap. The correct gap is 0.028-0.031 in. (0.7-0.8 mm). To widen gap, if necessary, carefully bend the ground (top) electrode. To lessen gap, gently tap ground electrode on a hard surface.
- Seat spark plug in position; thread in by hand to prevent cross-threading.
- Tighten with wrench to compress washer. If spark plug is new, use 1/2 turn to compress washer appropriate amount. If reusing old spark plug, use 1/8 to 1/4 turn for proper washer compression. NOTE: An improperly tightened spark plug will become very hot and could damage the engine.
- Reinstall the spark plug cap (B).

Air Filter Maintenance
For proper performance and long life, keep air filter clean.
- Turn the knob (A) on the bottom of air the filter cover to release. Remove cover (B) and set aside.
- Remove the filter element (C).
- If the filter element is dirty, clean with warm, soapy water. Rinse and let dry.
- Apply a light coat of engine lubricant to the element, then squeeze it out
- Reinstall the element (C) in the air filter unit.
- Reinstall the air filter cover (B) and fasten knob (A).

Cleaning the Spark Arrestor
- Allow the engine to cool completely before servicing the spark arrestor.
- Loosen the screw (A) to be able to remove clamp (B) and cover plate (C).
- Remove the spark arrestor screen (D).
- Carefully remove the carbon deposits from the spark arrestor screen with a wire brush.
- Replace the spark arrestor if it is damaged.
- Position the spark arrestor on the muffler and attach with the screws removed in step 2.
NOTE: This product is equipped with a spark arrestor that has been evaluated by the USDA Forest Service; however, product users must comply with Federal, State, and local fire prevention regulations. Check with appropriate authorities. Contact customer service or a qualified service center to purchase a replacement spark arrestor.
Valve Clearance
Important: Please contact Authorized Service Center for service assistance. Proper valve clearance is essential for prolonging the life of the engine. Check valve clearance per maintenance schedule.

⚠ NOTICE
Checking and adjusting valve clearance must be done when the engine is cold.
GENERATOR MAINTENANCE
Make certain that the generator is kept clean and stored properly. Only operate the unit on a flat, level surface in a clean, dry operating environment. DO NOT expose the unit to extreme conditions, excessive dust, dirt, moisture or corrosive vapours.
NOTE: DO NOT use a garden hose to clean the generator. Water can enter the generator through the cooling slots and damage the generator windings. Use a damp cloth to clean exterior surfaces of the generator. Use a soft bristle brush to remove dirt and oil. Use an air compressor 25 PSI (172 kPa) to clear dirt and debris from the generator. Inspect all air vents and cooling slots to ensure that they are clean and unobstructed.
STORAGE
It is recommended to start and run the generator for 30 minutes, every 30 days. If this is not possible, refer to below short term and long term storage.
Short Term Storage
Fill the tank with fresh gasoline and add gasoline stabilizer. Drain the carburetor float bowl.
- Add a properly formulated FUEL STABILIZER to the tank if it is not already added.
- Run the engine for 10-15 minutes to circulate stabilizer throughout fuel system.
- Allow the generator to cool a minimum of 30 minutes and then drain the carburetor float bowl.
- Clean the generator and store in a cool, dry and well ventilated area out of direct sunlight.
Long Term Storage (over one year)
For long term storage, the gasoline tank and carburetor must be drained of gasoline.
- After engine cools down, remove all gasoline from the fuel tank using non-conductive siphon.
- To remove the remaining gasoline in fuel system: a-Keep the fuel valve open and run the engine until it stops from lack of fuel. Or b-Keep the fuel valve open and drain carburetor float bowl.
- Change the engine oil.
- Remove the spark plug.
- Pour tablespoon( 5-10cc) of clean engine oil into cylinder.
- Pull starter recoil several times to distribute oil in cylinder.
- Install spark plug.
- Pull recoil slowly until resistance is felt. This close valves so moisture cannot enter engine cylinder. Gently release recoil.
- Clean the generator and store in a cool, dry and well ventilated area out of direct sunlight.

DRAINING THE FLOAT BOWL
- Turn the fuel tank valve to the OFF position.
- Locate the drain screw on the bottom of the carburettor float bowl.
- Place an appropriate gasoline container under the drain screw to catch the drained fuel.
- Loosen the float bowl drain screw and allow the fuel to drain. Tighten the float bowl drain screw.
⚠ DANGER
Explosion and Fire. Fuel and vapors are extremely flammable and explosive. Store fuel in a well ventilated area. Keep fire and spark away. Failure to do so will result in death or serious injury.
⚠WARNING
Risk of Fire. Verify machine has properly cooled before installing cover and storing machine. Hot surfaces could result in fire.
Float bowl Drain screw

TROUBLE SHOOTING


PARTS DIAGRAM AND PARTS LIST
PARTS DIAGRAM

Parts List




Circuit Diagram

WARRANTY
LIMITED WARRANTY
KEEP YOUR RECEIPT. Proof of purchase will be required to substantiate any warranty claim.
WHAT IS COVERED: A-iPower Corp. warrants to the original retail purchaser in the United States of America, or Canada that this product is free of defects in material and workmanship and agrees, at A-iPower Corp’s direction, to either repair, provide replacement parts for, or replace (without charge for parts or labor) any product or component with a material defect for a period of 2 years from the date of purchase, except as limited below. Warranty service and replacement parts are warranted only for the duration of the warranty on the original product.
All replaced parts or products become a property of A-iPower Corp. This product is also covered by an Emissions Control
System Warranty which is separate from and in addition to the warranty.
WARRANTY
A-iPower Limited Warranty – 2 Years Residential and
1 Year Commercial
2 year Residential warranty applies as follow: 1st year Parts & Labor / 2nd year Parts ONLY
Thank you for choosing A-iPower products. To ensure proper registration of your product warranty, please submit your warranty registration along with proof of purchase within 10 days of the date of purchase, this can be done by
a) Completing the Warranty Registration form at the back of this manual and mailing to: A-IPOWER CORP
10887 COMMERCE WAY UNIT A FONTANA CA 92337 USA
b) Visit us at www.a-ipower.com and click the product registration icon
Warranty Term
A-iPower will provide warranty for any of its products purchased through any authorized AiPower dealer in North America to the original purchaser and will be warranted against defects in material or workmanship for a period of two (2) years for Consumer use from date of purchase, subject to exclusions noted herein. Commercial and Rental applications are warranted for a period of one (1) year from date of purchase.
“Consumer Use” – residential household use by a retail consumer
“Commercial Use” – all other use – commercial , business, industrial, or rental purpose
How to Obtain Warranty Service
Please call our Customer Service Dept.
1-855-888-3598
or e-mail to [email protected]
Please have necessary information available – Model
Number, Serial Number, Proof of Purchase
DO NOT RETURN THE PRODUCT TO THE PLACE
OF PURCHASE
A-iPower Customer Service Dept will assist with all product related questions and will help troubleshoot issues and will send any replacement parts as necessary while product is within the warranty period at no charge. If the issue cannot be resolved then A-iPower Customer Service Dept at its discretion determine and authorize diagnosis and repair through one of its authorized Service Centers. A-iPower Corp at its discretion may choose to provide replace of part, component, or product. Service or replacement of parts at any unauthorized repair facility without prior authorization will not be covered by this warranty.
Warranty Exclusions
This warranty does not cover the following: Regular wear and maintenance – this warranty will not cover repair when normal use has exhausted the lifetime of a part(s) or engine.
Installation and Maintenance – this warranty does not cover improper or unauthorized assembly, alteration, modification or any other damage resulting from misuse or neglect.
Normal maintenance parts – this warranty does not cover spark plugs, air filters, adjustments, or other related service due to obstructions and other build ups resulting from improper maintenance.
Additional exclusions – this warranty does not cover wearable parts such as filers, spark plugs, o-rings, batteries etc. It does not cover any cosmetic defects such as scratches to paint, decals etc. It does not cover any damage resulting from use of non-original
manufacturer’s parts, use of aftermarket parts. It does not cover any failures due to acts of God and other force majeure events beyond the control of the manufacturer.
Warranty limits and Implications and Consequential Damages
A-iPower is not obligated to cover any loss of time, use of product, freight cost, or any other incidental or consequential claim from the use of this product. This warranty is in Lieu of all other warranties, express or implied.
This warranty gives you specific legal rights which vary from state to state.
MERCHANDISE RETURN GUIDELINES
- All products must be returned in original or equivalent packaging. Improperly packaged returns will not be accepted.
- Must have adequate packing for transportation.
- Federal Law requires that all machines that utilize gasoline, oil, or other flammable liquids must be drained Completely & Thoroughly prior to shipment.
- Gas caps and oil plugs must be left off for 24 hours prior to shipping. Please note: liability for this violation of the law resides with the sender of the shipment.
- Return to address provided in return authorization, using the parcel service required. Units returned without authorization will not be honored.
- Please Note: Refunds will not be granted for items that have been modified or damaged by abuse or usage not in accordance with product instructions.

Fontana, CA 92337 USA
Phone: 1-855-888-3598
[email protected]
www.a-ipower.com
A-iPOWER WARRANTY REGISTRATION FORM
Register your product by emailing this form to [email protected] or register on-line at: www.a-ipower.com.
Registering your product is important , it provides the following protections:
- You have record of product purchased
- Customer Service can Better serve you for Warranty related issues
- We can contact you in the unlikely event should notification is necessary


Privacy Statement: A-ipower is committed to respecting your privacy and to complying with the regulations regarding the protection of personal data. The survey data we collect is for the purposes of marketing or product support and demographic information about the entire audience registering their products.


























