anslut 019957 LED Spotlight

Care for the environment!
Recycle discarded product in accordance with local regulations.
Jula reserves the right to make changes.
For latest version of operating instructions, see www.jula.com
SAFETY INSTRUCTIONS
- Only intended for indoor use.
- Do not connect the product to the mains when it is still in the pack.
- Do not look directly into the light source.
- Do not store the product in a damp or very cold/hot place, this can damage the electronics.
- The electronics in the product are sensitive to knocks and blows. Avoid dropping it.
- No parts of the product can be replaced, or repaired. The whole product must be discarded if any part is damaged.
- The power cord on this product is not replaceable, if damaged discard the complete product.
- Do not use the product in a bathroom, or in damp or wet areas.
- The light source is not replaceable. Discard the product if the light source stops working.
- Switch off the product before cleaning.
- Do not touch the power cord or the plug with wet hands or wet parts of your body.
SYMBOLS
- Read the instructions.
- Only intended for indoor use.
- Safety class II.
- Non-replaceable light source.
- Non-replaceable actuator.
- Approved in accordance with the relevant directives.
- Recycle discarded product in accordance with local regulations.
TECHNICAL DATA
- Rated voltage 230 V ~ 50 Hz
- Output 4 W
- Luminous flux 320 lm
- Colour temperature 3000 K
- Diffusion angle 80°
- Life span 30000 h
- Off/On 15000 times
- Energy class
This product contains a light source of energy efficiency class <F>. - Safety class II
- Protection rating IP20
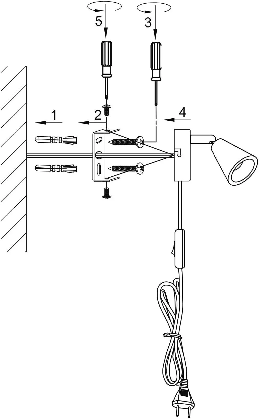
INSTALLATION
See figure for installation instructions.
FIG. 1
USE
- Plug the plug into the power point.
- Press the switch to switch on the light.
- Press the switch to switch off the light.
DISMANTLING
- Remove the top cover with a screwdriver.
- Undo the 2 screws on the sides.
- Release the soldered wire by melting the solder with a soldering iron.
- Remove the aluminum cover with a screwdriver.
- Release the soldered wire by melting the solder with a soldering iron.
- Done!


















