anslut 019962 LED Spotlight Instruction Manual

SAFETY INSTRUCTIONS
- Only intended for indoor use.
- Switch off the power supply before installation.
- Do not connect the product to the mains when it is still in the pack.
- Do not look directly into the light source.
- Do not store the product in a damp or very cold/hot place, this can damage the electronics.
- The electronics in the product are sensitive to knocks and blows. Avoid dropping it.
- No parts of the product can be replaced, or repaired. The whole product must be discarded if any part is damaged.
- The power cord on this product is not replaceable, if damaged discard the complete product.
- Do not use the product in a bathroom, or in damp or wet areas.
- The light source is not replaceable. Discard the product if the light source stops working.
- Switch off the product before cleaning.
- Only clean the product with a dry cloth.
Do not use detergent or any other liquid to clean electrical parts. - Do not touch the power cord or the plug with wet hands or wet parts of your body.
- The light source is not replaceable.
Discard the product if the light source stops working.
ELECTRICAL SAFETY
New installations and extensions to existing systems should always be carried out by an authorised electrician. If you have the necessary experience and knowledge (otherwise contact an electrician), you can
replace power switches and wall sockets, it plugs, extension cords and light sockets.
Incorrect installation can result in fatal injury and the risk of fire.
SYMBOLS

TECHNICAL DATA

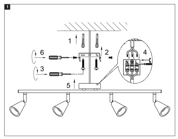
INSTALLATION
- Make sure the power supply is disconnected.
- Carefully unpack the product.
- Mark out where to drill the mounting holes.
- Drill holes.
- Hang the cord on the hook.
- Open the junction box and connect the wires as shown in the figure
- Replace the lid and screw in the screws.
- Reconnect the power supply.

FIG. 1
DISMANTLING
- Remove the top cover with a screwdriver.
- Undo the 2 screws on the sides.
- Release the soldered wire by melting the solder with a soldering iron.
- Remove the aluminium cover with a screwdriver.
- Release the soldered wire by melting the solder with a soldering iron.
- Done!



















