
OG-PLUS6.2 KODAK Solar Off-Grid Inverter
User Manual
Please read this manual carefully before installing and operating the inverter.
Please keep this manual with you for further reference
ABOUT THIS MANUAL
Purpose
This manual describes the assembly, installation, operation and troubleshooting of this unit. Please read this manual carefully before installations and operations. Keep this manual for future reference.
Scope
This manual provides safety and installation guidelines as well as information on tools and wiring.
SAFETY INSTRUCTIONS
WARNING: This chapter contains important safety and operating instructions. Read and keep this manual for future reference.
- Before using the unit, read all instructions and cautionary markings on the unit, the batteries and all appropriate sections of this manual.
- CAUTION – To reduce risk of injury, charge only deep-cycle lead acid type rechargeable batteries. Other types of batteries may burst, causing personal injury and damage.
- Do not disassemble the unit. Take it to a qualified service center when service or repair is required. Incorrect re-assembly may result in a risk of electric shock or fire.
- To reduce risk of electric shock, disconnect all wirings before attempting any maintenance or cleaning. Turning off the unit will not reduce this risk.
- CAUTION – Only qualified personnel can install this device with battery.
- NEVER charge a frozen battery.
- For optimum operation of this inverter/charger, please follow required spec to select appropriate cable size. It’s very important to correctly operate this inverter/charger.
- Be very cautious when working with metal tools on or around batteries. A potential risk exists to drop a tool to spark or short circuit batteries or other electrical parts and could cause an explosion.
- Please strictly follow installation procedure when you want to disconnect AC or DC terminals. Please refer to INSTALLATION section of this manual for the details.
- Fuses are provided as over-current protection for the battery supply.
- GROUNDING INSTRUCTIONS -This inverter/charger should be connected to a permanent grounded wiring system. Be sure to comply with local requirements and regulation to install this inverter.
- NEVER cause AC output and DC input short circuited. Do NOT connect to the mains when DC input short circuits.
- Warning!! Only qualified service persons are able to service this device. If errors still persist after following troubleshooting table, please send this inverter/charger back to local dealer or service center for maintenance.
- WARNING: Because this inverter is non-isolated, only three types of PV modules are acceptable: single crystalline, poly crystalline with class A-rated and CIGS modules. To avoid any malfunction, do not connect any PV modules with possible current leakage to the inverter. For example, grounded PV modules will cause current leakage to the inverter. When using CIGS modules, please be sure NO grounding.
- CAUTION: It’s required to use PV junction box with surge protection. Otherwise, it will cause damage on inverter when lightning occurs on PV modules.
INTRODUCTION
This is a multi-function inverter, combining functions of inverter, solar charger and battery charger to offer uninterruptible power support in a single package. The comprehensive LCD display offers user-configurable and easy-accessible button operations such as battery charging current, AC or solar charging priority, and acceptable input voltage based on different applications.
Features
- Pure sine wave inverter
- Customizable status LED ring with RGB lights
- Touchable button with 4.3” colored LCD
- Built-in Wi-Fi for mobile monitoring (APP is available)
- Supports USB On-the-Go function
- Data log events stored in the inverter
- Built-in anti-dusk kit
- Reserved communication port for BMS
- Battery independent function
- Parallel operation up to 9 units
Basic System Architecture
The following illustration shows basic application for this unit. It also required the following devices to have a complete running system:
- Generator or Utility mains.
- PV modules
Consult with your system integrator for other possible system architectures depending on your requirements.
This inverter can power various appliances in home or office environment, including motor-type appliances such as tube light, fan, refrigerator and air conditioners.

Product Overview
NOTE: For parallel installation and operation, please check Appendix I.
- RGB LED ring (refer to LCD Setting section for the details)
- LCD display
- Touchable Function keys
- PV connectors
- AC output connectors (Load connection)
- AC input connectors
- Battery connectors
- Current sharing port
- Parallel communication port
- Circuit breaker
- Power switch
- Dry contact
- USB port as USB communication port and USB function port
- RS-232 communication port
- BMS communication port: CAN, RS-485 or RS-232
INSTALLATION
Unpacking and Inspection
Before installation, please inspect the unit. Be sure that nothing inside the package is damaged. You should have received the following items inside of package:

Preparation
Before connecting all wirings, please take off bottom cover by removing two screws as shown below.

Mounting the Unit
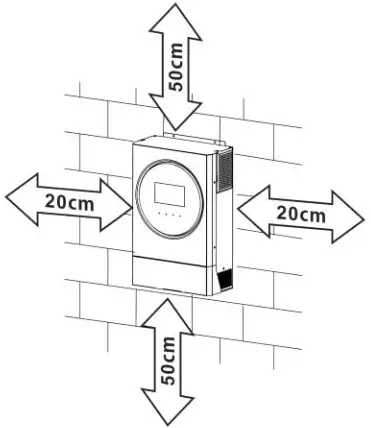
Consider the following points before selecting where to install:
- Do not mount the inverter on flammable construction materials.
- Mount on a solid surface
- Install this inverter at eye level in order to allow the LCD display to be read at all times.
- The ambient temperature should be between -10°C and 50°C to ensure optimal operation.
- The recommended installation position is to be adhered to the wall vertically.
- Be sure to keep other objects and surfaces as shown in the right diagram to guarantee sufficient heat dissipation and to have enough space for removing wires.

SUITABLE FOR MOUNTING ON CONCRETE OR OTHER NONCOMBUSTIBLE SURFACE ONLY.
Install the unit by screwing three screws. It’s recommended to use M4 or M5 screws.

Battery Connection
CAUTION: For safety operation and regulation compliance, it’s requested to install a separate DC over-current protector or disconnect device between battery and inverter. It may not be required to have a disconnect device in some applications, however, it’s still required to have over-current protection installed. Please refer to typical amperage in below table as required fuse or breaker size.
WARNING! All wiring must be performed by a qualified personnel.
WARNING! It’s very important for system safety and efficient operation to use appropriate cable for battery connection. To reduce risk of injury, please use the proper recommended cable and terminal size as below.
Recommended battery cable and terminal size:
| Model | Typical Amperage | Battery Capacity | Wire Size | Ring Terminal | Torque Value | ||
| Cable mm2 | Dimensions | ||||||
| D (mm) | L (mm) | ||||||
| 6.2KW | 155A | 200AH | 1*2AWG or 2*4AWG | 28 | 6.4 | 42.7 | 2~3 Nm |
Please follow below steps to implement battery connection:
- Assemble battery ring terminal based on recommended battery cable and terminal size.
- Insert the ring terminal of battery cable flatly into battery connector of inverter and make sure the nuts are tightened with torque of 2-3 Nm. Make sure polarity at both the battery and the inverter/charge is correctly connected and ring terminals are tightly screwed to the battery terminals.

| WARNING: Shock Hazard Installation must be performed with care due to high battery voltage in series. | |
| CAUTION!! Do not place anything between the flat part of the inverter terminal and the ring terminal. Otherwise, overheating may occur. CAUTION!! Do not apply anti-oxidant substance on the terminals before terminals are connected tightly. CAUTION!! Before making the final DC connection or closing DC breaker/disconnector, be sure positive (+) must be connected to positive (+) and negative (-) must be connected to negative (-). |
AC Input/Output Connection
CAUTION!! Before connecting to AC input power source, please install a separate AC breaker between inverter and AC input power source. This will ensure the inverter can be securely disconnected during maintenance and fully protected from over current of AC input.
CAUTION!! There are two terminal blocks with “IN” and “OUT” markings. ENSURE that utility AC input is connected to IN and load AC to OUT and not the wrong way round and also that Line and Neutrals are connected correctly.
WARNING! All wiring must be performed by a qualified personnel.
WARNING! It’s very important for system safety and efficient operation to use appropriate cable for AC input connection. To reduce risk of injury, please use the proper recommended cable size as below.
Suggested cable requirement for AC wires
| Model | Gauge | Torque Value |
| 6.2KW | 10 AWG | 1.2~ 1.6 Nm |
Please follow below steps to implement AC input/output connection:
- Before making AC input/output connection, be sure to open DC protector or disconnector first.
- Remove insulation sleeve 10mm for six conductors. And shorten phase L and neutral conductor N 3 mm.
- Insert AC input wires according to polarities indicated on terminal block and tighten the terminal screws.
Be sure to connect PE protective conductor (
) first.
→Ground (yellow-green)
L→LINE (brown or black)
N→Neutral (blue)
WARNING:
Be sure that AC power source is disconnected before attempting to hardwire it to the unit. - Then, insert AC output wires according to polarities indicated on terminal block and tighten terminal screws. Be sure to connect PE protective conductor (
) first.
→Ground (yellow-green)
L1→LINE (brown or black)
N1→Neutral (blue)
L2→LINE (brown or black)
N2→Neutral (blue)
- Make sure the wires are securely connected.
CAUTION: Important
Be sure to connect AC wires with correct polarity. If L and N wires are connected reversely, it may cause utility short-circuited when these inverters are worked in parallel operation.
CAUTION: Appliances such as air conditioner are required at least 2~3 minutes to restart because it’s required to have enough time to balance refrigerant gas inside of circuits. If a power shortage occurs and recovers in a short time, it will cause damage to your connected appliances. To prevent this kind of damage, please check manufacturer of air conditioner if it’s equipped with time-delay function before installation. Otherwise, this inverter/charger will trig overload fault and cut off output to protect your appliance but sometimes it still causes internal damage to the air conditioner.
PV Connection
CAUTION: Before connecting to PV modules, please install separately a DC circuit breaker between inverter and PV modules.
CAUTION: Please install a surge protection device between inverter and PV modules and the recommended voltage is 500V.
WARNING! Do switch off the inverter before connecting to PV modules. Otherwise, it will cause inverter damage.
WARNING! Do NOT connect negative and positive terminal of PV modules to the ground.
WARNING! All wiring must be performed by a qualified personnel.
WARNING! It’s very important for system safety and efficient operation to use appropriate cable for PV module connection. To reduce risk of injury, please use the proper recommended cable size as below.
| Model | Typical Amperage | Cable Size | Torque |
| 6.2KW | 27A | 10AWG | 1.2~1.6Nm |
PV Module Selection:
When selecting proper PV modules, please be sure to consider below parameters:
- Open circuit Voltage (Voc) of PV modules not exceeds max. PV array open circuit voltage of inverter.
- Open circuit Voltage (Voc) of PV modules should be higher than min. battery voltage.
| Solar Charging Mode | |
| INVERTER MODEL | 6.2KW |
| Max. PV Array Open Circuit Voltage | 500 Vdc |
| PV Array MPPT Voltage Range | 120~450Vdc |
| MPP Number | 1 |
Please follow below steps to implement PV module connection:
- Remove insulation sleeve 10 mm for positive and negative conductors.
- Check correct polarity of connection cable from PV modules and PV input connectors. Then, connect positive pole (+) of connection cable to positive pole (+) of PV input connector. Connect negative pole (-) of connection cable to negative pole (-) of PV input connector.

Recommended PV module Configuration
| PV Module Spec. (reference) | Total solar input power | Solar input | Q’ty of modules |
| – 250Wp | 1500W | 6 pieces in series | 6 pcs |
| – Vmp: 30.7Vdc | 2000W | 8 pieces in series | 8 pcs |
| – Imp: 8.15A | 2750W | 11 pieces in series | 11 pcs |
| – Voc: 37.4Vdc – Isc: 8.63A | 3000W | 6 pieces in series 2 strings in parallel | 12 pcs |
| – Cells: 60 | 4000W | 8 pieces in series 2 strings in parallel | 16 pcs |
| 5000W | 10 pieces in series 2 strings in parallel | 20 pcs | |
| 6000W | 12 pieces in series 2 strings in parallel | 24 pcs |
Final Assembly
After connecting all wirings, please put bottom cover back by screwing two screws as shown below.

Communication Connection
Serial Connection
Please use the supplied serial cable to connect between the inverter and your PC. Install the monitoring software from the bundled CD and follow the on-screen instructions to complete your installation. For detailed software operation, refer to the software user manual on the bundled CD.
Wi-Fi Connection
This unit is equipped with a Wi-Fi transmitter. Wi-Fi transmitter can enable wireless communication between off-grid inverters and monitoring platform. Users can access and control the monitored inverter with downloaded APP. You may find “WatchPower” app from the Apple® Store or “WatchPower Wi-Fi” in Google® Play Store. All data loggers and parameters are saved in iCloud. For quick installation and operation, please refer to Appendix III – The Wi-Fi Operation Guide for details.
BMS Communication
It is recommended to purchase a special communication cable if you are connecting to Lithium-Ion battery banks. Please refer to Appendix II – BMS Communication Installation for details.
Dry Contact Signal
There is one dry contact (3A/250VAC) available on the rear panel. It could be used to deliver signal to external device when battery voltage reaches warning level.
| Unit Status | Condition | Dry contact port: ![]() | |||
| NC & C | NO & C | ||||
| Power Off | Unit is off and no output is powered. | Close | Open | ||
| Power On | Output is powered from Battery power or Solar energy. | Program 01 set as USB (utility first) or SUB (solar first) | Battery voltage < Low DC warning voltage | Open | Close |
| Battery voltage > Setting value in Program 13 or battery charging reaches floating stage | Close | Open | |||
| Program 01 is set as SBU (SBU priority) | Battery voltage < Setting value in Program 12 | Open | Close | ||
| Battery voltage > Setting value in Program 13 or battery charging reaches floating stage | Close | Open | |||
OPERATION
Power ON/OFF
Once the unit has been properly installed and the batteries are connected well, simply press On/Off switch to turn on the unit.

Operation and Display Panel
The operation and the LCD module, shown in the chart below, includes one RGB LED ring, four touchable function keys and a LCD display to indicate the operating status and input/output power information.

Touchable Function Keys
| Function Key | Description | |
| ESC | To exit the setting | |
| USB function selector | To enter USB function setting | |
| Up | To last selection | |
| Down | To next selection | |
| Enter | To confirm/enter the selection in setting mode |
LCD Display Icons

| Icon | Function description |
| Input Source Information | |
![]() | Indicates the AC input voltage and frequency. |
![]() | Indicates the PV voltage, current and power. |
![]() | Indicates the battery voltage, charging stage, configured battery parameters, charging or discharging current. |
| Configuration Program and Fault Information | |
![]() | Indicates the setting programs. |
![]() | Indicates the warning and fault codes. Warning: Fault: |
| Output Information | |
![]() | Indicate the output voltage, load in VA, load in Watt and output frequency. |
| The ICON flashing indicates the unit with AC output and setting programs 60, 61 or 62 different from default setting. |
| Battery Information | |
| Indicates battery level in battery mode and charging status in line mode by 0-24%, 25-49%, 50-74% and 75-100%. |
When battery is charging, it will present battery charging status.
| Status | Battery voltage | LCD Display |
| Constant Current mode/ Constant Voltage mode | <2V/cell | 4 bars will flash in turns. |
| 2 ~ 2.083V/cell | The right bar will be on and the other three bars will flash in turns. | |
| 2.083 ~ 2.167V/cell | The right two bars will be on and the other two bars will flash in turns. | |
| > 2.167 V/cell | The right three bars will be on and the left bar will flash. | |
| Floating mode. Batteries are fully charged. | 4 bars will be on. | |
In battery mode, it will present battery capacity.
| Load Percentage | Battery Voltage | LCD Display |
| Load >50% | < 1.85V/cell | |
| 1.85V/cell ~ 1.933V/cell | ||
| 1.933V/cell ~ 2.017V/cell | ||
| > 2.017V/cell | ||
| Load < 50% | < 1.892V/cell | |
| 1.892V/cell ~ 1.975V/cell | ||
| 1.975V/cell ~ 2.058V/cell | ||
| > 2.058V/cell |
| Load Information | ||
| Indicates overload. | ||
|
| Indicates the load level by 0-24%, 25-49%, 50-74% and 75-100%. | |
| 0%~24% | 25%~49% | |
| 50%~74% | 75%~100% | |
| Charger Source Priority Setting Display | ||
| Indicates setting program 16 “Charger source priority” is selected as “Solar first”. | ||
| Indicates setting program 16 “Charger source priority” is selected as “Solar and Utility”. Indicates setting program 16 “Charger source priority” is selected as “Solar only”. | |
| Output source priority setting display | |
| Indicates setting program 01 “Output source priority” is selected as “Utility first”. | |
|
| |
| Indicates setting program 01 “Output source priority” is selected as “SBU”. | |
| AC Input Voltage Range Setting Display | |
| UPS | Indicates setting program 03 is selected as “ |
| APL | Indicates setting program 03 is selected as “ |
| Operation Status Information | |
| Indicates unit connects to the mains. | |
| Indicates unit connects to the PV panel. | |
| Indicates battery type. | |
| Indicates parallel operation is working. | |
| Indicates unit alarm is disabled. | |
| Indicates Wi-Fi transmission is working. | |
| Indicates USB disk is connected. | |
14 pass kra ace ….?????
![]()
![]()
version 1.0


![]()
![]()
![]()
![]()
![]()




























