Micro Inverter
Use Manual

WVC-2800
User Manual
Green Energy Smart Inverter
Expert

WVC series communication type intelligence Micro grid-connected inverter
- Maximum power point tracking
- Reverse power transmission
- I / 0, fully isolated
- No installation, no maintenance
- Adaptive voltage/frequency
- Internal high precision meter
- App monitoring system
- Forward full-bridge topology
| model | WVC-2800 |
| Maximum input power | 3000Watt |
| Output voltage mode | 120/230V Auto switch |
| PV Open circuit voltage | 30-60VOC |
| Operating voltage range | 22-60V |
| Starting voltage range | 22-60V |
| short-circuit current | 128A |
| Maximum working current | 107A |
| Output parameters | @120V | @230V |
| Output peak power | 3000Watt | 3000Watt |
| Rated output power | 2800Watt | 2800Watt |
| Output current | 23.5A | 12.2A |
| AC voltage range | 80-160VAC | 180-280VAC |
| AC frequency range | 48-51Hz/58-61Hz | 48-51Hz/58-61Hz |
| Power factor | >95% | >95% |
| A number of branch connections. | 2PCS(Single) | 4PCS(Single) |
| Output efficiency | @120V | @230V |
| Static MPPT efficiency | 99.50% | 99.50% |
| Max output efficiency | 95% | 95% |
| Loss of power at night | <0.5W | <0.5W |
| Total current harmonics | <5% | <5% |
| Appearance and technical features | |
| Temperature range | -40°C to +65°C |
| Size(L×W×H) | 370mm×300mm×41.6mm |
| Net amount | 3.0kg |
| Waterproof grade | Ip65 NEMA3R |
| Heat dissipation mode | Self-cooling |
| Communication mode | 433MHz/WiFi |
| Power transmission mode | Reverse transmission, Load priority |
| monitoring system | Mobile phone APP、Browser |
| Electromagnetic Detection | EN61000-6-1:2007 EN6100-6-3:2007+A1:2011+AC:2012 |
| Power Grid standard | EN50549-1、EN 50549-2、NBR 16149:2013、UL1741 |
| Power grid detection | IEC/EN 62109-1、 IEC/EN 62109-2、 IEC 62116、IEEE 1547 |
| Certificate | CE,ETL,INMETRO,Patented technology |
Packing weight
| Specifications | Each(Packing) | Box(4PCS) |
| weight | 4.36KG | 18.38KG |
| Size | 430×375×140mm | 430×405×380mm |
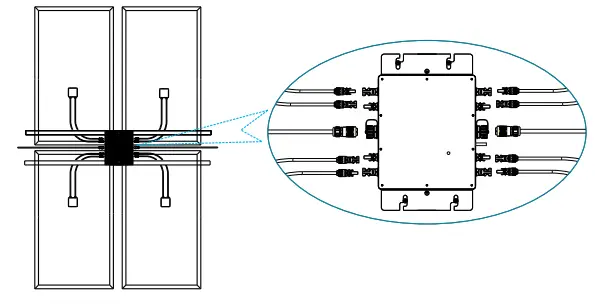
System diagram

Description of the connector and cable core of the microinverter

Note: You can purchase a professionally customized AC bus with a T-type connector.
Use this AC bus as the AC bus for each branch. Connect it hand in hand to form a modular micro-inverter branch wiring system.
LED indicator function of micro-inverter
- Red light is on—The micro-inverter is powered on, the red light is on, and the equipment is ready to work;
- Red light flashes—-The micro-inverter is fully prepared and enters the delayed startup state;
- Flashing green——MPPTMaximum PowerPoint search status;
- Greenlight is on—-MPPTMaximum PowerPoint locked state;
- The green light turns red—-a. island protection; b. Frequency protection; c. AC over/under-voltage protection;
d. DC voltage over and under-voltage protection; e. fault; f. software shutdown;
Normal working indicator flashing process:
Connect the micro-inverter to the AC and DC terminals, and then turn on the power …. the red light will be on for 3 seconds …. the red light will flash for 30 seconds …. the green light will flash quickly (MPPT maximum PowerPoint search)- The green light is on, (MPPT lock).
Appearance description of micro-inverter

Preparation before installation:
- Please install Kayden micro inverter series products as shown in the following figure.
- Please note that only qualified personnel can install and/or replace Kaideng micro-inverters.
- Before installing or using Kaideng Micro Inverter, please read all instructions and technical instructions and the warning mark system and photovoltaic array on Kay Microinverter.
- When installing the inverter handshake cable, please plan that your AC branch circuit cannot exceed the current limit, so that the maximum number of micro-inverters in each branch can be reasonably allocated.
- Implement all national electrical codes (NEC), ANSI / NFPA 70 in accordance with all local electrical codes and all relevant regulations.
- Please do not try to repair the Kaideng micro-inverter. It does not contain user-serviceable parts. If it fails, please contact Kaideng customer service to obtain the ID number and start the replacement process. Tampering or opening the Kaideng microinverter will invalidate the warranty.
- Please make sure that the installation operation is performed before the AC power is disconnected, and do not install the Kaideng micro-inverter with power on.
- After the installation of the power station is completed, please install a ground wire on the photovoltaic support, install and use lightning protection, and/or surge suppression equipment protection system in the AC junction box. It is very important to have a switch device that automatically protects against lightning strikes and surges.
- In addition to Kaideng Energy’s WVC series micro-inverters, you must also purchase photovoltaic brackets / AC boxes / electrical cables and other related materials. The
the current of each channel of the WVC series micro-inverters at the branch of the installed circuit cannot exceed 40 Amp, if the rated current is exceeded, it may lead to an unsafe factor. - Check if you still have the following related equipment: AC junction box, tools: screwdriver, wire cutter, voltmeter, torque wrench, socket and wrench for installing hardware, etc.
| Inverter model | Number of branches |
| WVC-295 | 30PCS |
| WVC-300 | 30PCS |
| WVC-350 | 25PCS |
| WVC-600 | 15PCS |
| WVC-700 | 12PCS |
| WVC-1000 | 10PCS |
| WVC-1200 | 8PCS |
| WVC-1400 | 6PCS |
| WVC-1600 | 5PCS |
| WVC-2000 | 5PCS |
| WVC-2400 | 3PCS |
| WVC-2800 | 3PCS |
*Each region may be different. Please refer to local requirements to define the number of micro-inverters per branch in your area.
WVC-2800 microinverter installation drawing
Inverter installation steps
Step1
Install the inverter on the bracket of the photovoltaic panel with the screws provided with the machine, as shown in the following figure:
Step2
Connect the positive and negative poles of the DC connection MC4 plug on the photovoltaic board to the DC input terminal of the inverter, as shown below:

Step3
Open the waterproof cover of the AC output connector of the inverter and connect the AC cable to the AC waterproof plug. The connection method is as shown in the plug connection diagram:

Step 4
Connect the AC output cable to the AC main cable;
Step 5
Repeat steps 1 to 3, install and connect all inverters;
Step 6
Connect the AC main cable to the utility grid to start your green energy journey.

Note: Before installing WVC series microinverter products, please read this manual and pay attention to the installation details.
This manual contains important instructions that should be followed when installing and maintaining reduced the risk of electric shock and ensure safe installation and operation of Kaideng MicroInverters, Always follow the following safety symbols present in this document to indicate hazardous conditions and important safety Instructions.
Wiring Diagram WVC-2800 Triple Phase

Distribution network preparation tool
When installing the KDM monitoring system, it is necessary to configure the KDM monitoring system in advance. Please use the two-dimensional scanning function to download and install the MxEasyLink network distribution tool.
(IOS SYSTEM Download Password:Mxchip)
![]() | ![]() |
Monitoring system distribution network instructions
Press the reset button (A-1), release the button (A-2) when the indicator light flashes quickly, and operate in the MxEasyLink interface of the mobile phone. (Please explain the parameters below for Android and IOS) When the network configuration is completed, the Ready and Link lights of the collector will become a constant light display (A-3).

Android client configuration
Connect the wireless network of your mobile phone to your home wireless signal source and open the MxEasyLink client B-1, fill in the wireless SSID and password in the software. When the collector is in the (A-2) state, click the send command button B-2, The system will automatically configure the network until the data string is received, and the network configuration is successful (B-3).

IOS Client configuration
Open the MxEasyLink client, click “+” in the upper right corner C-1 to create network configuration settings and fill in the SSID and password, and select the mode as “EasyLink AWS”. When the collector flashes quickly as shown in Figure(A-2), click the “Start EasyLink AWS Mode” button is like C-2. When the distribution network receives the module data and returns C-3. Click “Confirm” to complete the network configuration.

KDM Monitoring System
Ready to work:
Install the “KDM Monitoring System” tool on your Android Phone
Download: http://jzi6.cn/MiTp6q (You can scan the QR to Download)

Note: This application only supports Android. If you have an iPhone, please operate in your browser and log in to the website: kdm.kaidengdg.com
Create account
Open KDM software D-1, first use KDM monitoring system, please click Register D-2, register KDM account and save D-3

ADD Station
After logging account, click “Add Station” Like Figure E-1, fill in the Information, and fill in the 8-digit code on the back of the Modem into the corresponding items. For example, E-2. For the electrical box option, please select “None”, and fill in “1” “Figure E-3

ADD Inverter
When the creation of the power station is completed, the page will automatically jump to the interface for adding an inverter (make sure the inverter has been installed correctly), fill in the 8-digit ID on the inverter and click Add such as F1, after the addition is completed You can return to query the working status of the inverter F-2 and view the basic operating status of the power station F-3.

* The Wi-Fi modem changes its working mode (press and hold the reset button until the following display appears):
TCP/IP mode: Release the Ready indicator from “off→on-off”;
Internet of Things mode: Release the Ready indicator from “off→on”;
Inverter installation steps




















