
WPa Series (*)
PANELS AND CONTROLS
Wall-mounted Analogue Remote Controls

USER MANUAL
(*) Includes U.S.A, UBWPaVOL and UBWPaCNXJRC format panels
v.20220426
IMPORTANT REMARK

WARNING: SHOCK HAZARD- DO NOT OPEN
The lightning flash with the arrowhead symbol, within an equilateral triangle, is intended to alert the user to the presence of uninsulated “dangerous voltage” within the product’s enclosure that may be of sufficient magnitude to constitute a risk of electric shock to persons.
The exclamation point within an equilateral triangle is intended to alert the user to the presence of important operating and maintenance (servicing) instructions in the literature accompanying the appliance.
WARNING (If applicable): The terminals marked with the symbol “
” may be of sufficient magnitude to constitute a risk of electric shock. The external wiring connected to the terminals requires installation by an instructed person or the use of ready-made leads or cords.
WARNING: To prevent fire or shock hazards, do not expose this equipment to rain or moisture.
WARNING: An apparatus with Class I construction shall be connected to a mains socket-outlet with a protective earthing connection.
IMPORTANT SAFETY INSTRUCTIONS
- Read these instructions.
- Keep these instructions.
- Heed all warnings.
- Follow all instructions.
- Do not use this apparatus near water.
- Clean only with a dry cloth.
- Do not block any ventilation openings. Install in accordance with the manufacturer’s instructions.
- Do not install near any heat sources such as radiators, heat registers, stoves, or other apparatus (including amplifiers) that produce heat.
- Do not defeat the safety purpose of the polarized or grounding-type plug. A polarized plug has two blades one wider than the other. A grounding-type plug has two blades and a third grounding prong. The wide blade or the third prong is provided for your safety. If the provided plug does not fit into your outlet, consult an electrician for the replacement of the obsolete outlet.
- Protect the power cord from being walked on or pinched particularly at the plugs, convenience receptacles, and at the point where they exit from the apparatus.
- Only use attachments/accessories specified by the manufacturer.
- Unplug the apparatus during lightning sorts or when unused for long periods of time.
- Refer all servicing to qualified personnel. Servicing is required when the apparatus has been damaged in any way, such as a power supply cord or plug is damaged, liquid has been spilled or objects have fallen into the apparatus, the apparatus has been exposed to rain or moisture, does not operate normally, or has been dropped.
- Disconnecting from mains: Switching off the POWER switch all the functions and light indicators of the amplifier will be stopped, but fully disconnecting the device from the mains is done by unplugging the power cord from the mains input socket. For this reason, it always shall remain readily operable.
- Equipment is connected to a socket-outlet with earthing connection by means of a power cord.
- The marking information is located at the bottom of the apparatus.
- The apparatus shall not be exposed to dripping or splashing and no objects filled with liquids, such as vases, shall be placed on the apparatus.
NOTE: This equipment has been tested and found to comply with the limits for a Class A digital device, pursuant to part 15 of the FCC Rules. These limits are designed to provide reasonable protection against harmful interference when the equipment is operated in a commercial environment. This equipment generates, uses, and can radiate radio frequency energy and, if not installed and used in accordance with the instruction manual, may cause harmful interference to radio communications. Operation of this equipment in a residential area is likely to cause harmful interference in which case the user will be required to correct the interference at his own expense.
WARNING: This product must not be discarded, under any circumstance, as unsorted urban waste. Take to the nearest electrical and electronic waste treatment centre.
NEEC AUDIO BARCELONA, S.L. accepts no liability for any damage that may be caused to people, animals,s or objects due to failure to comply with the warnings above.
IMPORTANT NOTE
Thank you for choosing our Ecler WPA Wall-mounted Analogue Remote Control!
It is VERY IMPORTANT to carefully read this manual and to fully understand its contents before any connection in order to maximize your use and get the best performance from this equipment.
To ensure optimal operation of this device, we strongly recommend that its maintenance be carried out by our authorized Technical Services. Ecler WPA series comes with a 3-year warranty.
INTRODUCTION
WPA is a series of wall-mounted remote-control panels for equipment, together with audio signal interconnection. It is a development of its predecessor, the WPm series, with
up-to-date aesthetics, elegant and discrete, and designed in collaboration with Italdesign Giugiaro. Surface-mounted installation box is included in the full WPA series.

VOLUME CONTROLS / SOURCE SELECTION
5.1. WPaVOL / UBWPaVOL
WPaVOL / UBWPaVOL is a wall-mounted remote control for volume management. It is
compatible with all devices with 0-10VDC ports. For information of its connection,
check the Connection tables and diagrams chapter.

5.2 WPaVOL-J
WPaVOL-J has the same specifications as the WPaVOL, plus a stereo 1/8” jack on the front panel. For information of its connection, check the Connection tables and diagrams chapter.

5.3 WPaVOL-SR
WPaVOL-SR is a wall-mounted remote control for volume management and source/pre-adjust the selection. It is compatible with all devices with 0-10VDC ports. For information of its connection, check the Connection tables and diagrams chapter.

5.4 WPaVOL-SR-J
WPaVOL-SR-J has the same specifications as the WPaVOL-SR, plus a stereo mini-jack on the front panel. For information of its connection, check the Connection tables and diagrams chapter.

5.5 Connection tables and diagrams
| Pin 1 | White Orange | GND | ![]() |
| Pin 2 | Orange | REMOTE VOL (10V÷0V → MIN÷MAX) | |
| Pin 3 | White Green | GND | |
| Pin 4 | Blue | N.C. | |
| Pin 5 | White Blue | N.C. | |
| Pin 6 | Green | VCC (+12V/+10V) | |
| Pin 7 | White Brown | GND | |
| Pin 8 | Brown | REMOTE ZONE (0, 3, 5, 7, 10V → OFF, Z1, Z2, Z3, Z4) |
Table 1: RJ-45 connection diagram
| Terminal Block Diagram (mini-Jack) | ||
| Pin 1 | SLEEVE | ![]() |
| Pin 2 | RING | |
| Pin 3 | TIP | |
Table 2: Mini-jack connection diagram




REMOTE ATTENUATORS
6.1 WPaH-AT6
The WPaH-AT6 is a 70/100 V line attenuator, with an integrated 24 VDC priority relay. Maximum output power: 6 W

6.2. WPaH-AT40
Woah-AT40 is a 70 / 100V line attenuator with an integrated 24VDC priority relay.
Maximum power output: 40W.

Note: This panel, unlike the rest, has a depth of 50mm
6.3 WPaH-AT100
The WPaH-AT100 is a 70/100V line attenuator, with an integrated 24 VDC priority relay.
Maximum output power: 100 W


6.4 WPaH-SL4
The WPaH-SL4 is a 70/100V line selector (it selects one of the four music programs).


WPaMIX-T
The WPaMIX-T is a two-channel micro-mixer with the standard WPA series wall panel format. It allows an unbalanced stereo signal (RCA) to be mixed with a microphone signal (XLR) to produce a balanced mono signal output.
The microphone input includes a two-band equalizer (Bass/Treble) and can operate with priority on the line signal when the microphone exceeds the preset detection threshold.

7.1. Function diagram
- Volume control at the microphone input
- Bass (100 Hz) and treble (10kHz) tone control at the microphone input (±10 dB).
- Volume control at the line input
- XLR connector at the microphone input (balanced signal)
• Sensitivity: -20 to -40 dBV - RCA line input connectors (unbalanced signal)
• Sensitivity: -10 dBV.

The Line and Microphone signals are mixed with relative levels depending on their respective VOL volume controls. This mixing is available at the Euroblock connector output terminals of the unit (unbalanced signal, line level is 0 dB). Furthermore, the microphone signal may use the Talkover function in order to automatically attenuate the line signal when the microphone signal reaches the Talkover detection threshold (see 06.2 for details of Talkover activation)
7.2. Configuration diagram
- MIC sensitivity selection -20 dBV (jumper removed) or -40 dBV (jumper installed – default position)
- Talkover function (*): ON (jumper installed – default position) / OFF (jumper removed).
- Phantom power supply for the MICRO input: ON (jumper installed) / OFF (jumper removed- default position).

In order to access the configuration jumpers, the circuit must be removed from the rear of the unit by simply pulling on it to unplug it from its connectors and then reinsert it after making the required changes. This operation must be performed with the unit power supply switched off.
(*) Talkover attenuation over the line input: 30 dB Talkover maintenance time three seconds
7.3. Connection terminal block diagram
- Balanced audio output + terminal
- Balanced audio output earth terminal
- Balanced audio output – terminal
- Power supply input: 0VDC terminal – (**)
- Power supply input: +24VDC terminal + (**)
- Power supply input: +15VDC terminal + (**)

(**) The WPaMIX-T requires an external 24VDC power supply (connected to terminals 4 and 5, min 30mA) or 15VDC (connected to terminals 4 and 6, min 30mA). We suggest using the Ecler WP24-PSU, which can power up to twenty WPaMIX-T units (depending on voltage losses caused by cable lengths and sections).
Recommendation: Since the WPaMIX-T does not incorporate any electromagnetic shielding, we strongly recommend that it is installed well away from power sources and high-voltage cables.
For the installation of an eMCONTROL1 unit next to a WPaMIX-T wall panel, on the surface or flush mounting, see the eMCONTROL1 user manual.
REMOTE CONNECTORS
8.1. WPaCNX-CBO
WPaCNX-CBO is a wall-mounted remote control, with an XLR female, 3-pin + stereo jack (combo connector). This connector can be screwed at the rear (does not require any
soldering).

| Terminal Block Diagram (combo connector) | ||
| Pin 1 | SLEEVE/GND | ![]() |
| Pin 2 | RING/COLD | |
| Pin 3 | TIP/HOT | |
Table 3: Combo connector connection
8.2. WPaCNX-JRCA / UBWPaCNXJRC
WPaCNX-JRCA / UBWPaCNXJRC is a wall-mounted remote control, with a stereo 1/8” plug connector + two RCA connectors. This connector can be screwed at the rear (does not require any soldering).

| Terminal Block Diagram (mini-jack / AUX1) | ||
| Pin 1 | SLEEVE | ![]() |
| Pin 2 | RING | |
| Pin 3 | TIP | |
Table 4: Mini-jack connection
| Terminal Block Diagram (RCA / AUX2) | ||
| Pin 1 | GND (earth) | ![]() |
| Pin 2 | RIGHT CHANNEL | |
| Pin 3 | LEFT CHANNEL | |
Table 5: RCA connection
TECHNICAL SPECIFICATIONS
WPa
| Finished colour Dimensions with surface-mount box WPa series:WPaH-AT40 WPaH-AT100: | White (RAL 9016) (W x D x H) 86 x 38 x 86mm 86 x 50 x 86mm 172 x 38 x 86mm |
WPaMIX-T
| Input Sensitivity/Impedance Output Level/ Minimum Load Frequency Response THD CARR Signal Noise Ratio Tone Control Talk-over Phantom voltage External power supply Power Consumption Finished color Dimensions (WxHxD) Weight | LINE: -10dBV / 10kΩ MIC: -40 or -20dBV* / >1kΩ 0dBV / 600Ω (max. +17dBV) LINE: 5Hz – 30kHz MIC: 10Hz – 40kHz LINE:<0.005% MIC: <0.01% MIC: >55dB @ 1kHz LINE: >105dB MIC: >90dB BASS: 100Hz ± 10dB TREBLE: 10kHz ± 10dB -30dB/ 3s aprox. +15VDC 15VDC (min. 30mA) or 24VDC (min. 30mA) Recommended external power supply: Ecler WP24-PSU 25mA White (RAL 9016) 86x86X30mm / 3.2”x3.2”x1.2” 125g. |
UBWPaCNX-JRC
| Format Connectors Finished Colour Dimensions Weight | NEMA Single gang Euroblock 3-pin White (RAL 9003) 35x65x35mm / 1.4×2.5×1.4 in (WxHxD) 30 grs / 0.07 lb. |
UBWPaVOL
| Format Potentiometer value Connectors Finished Colour Dimensions Weight | NEMA Single gang 20kΩ RJ45 White (RAL 9003) 35x65x35mm / 1.4×2.5×1.4 in (WxHxD) 30 grs / 0.07 lb. |
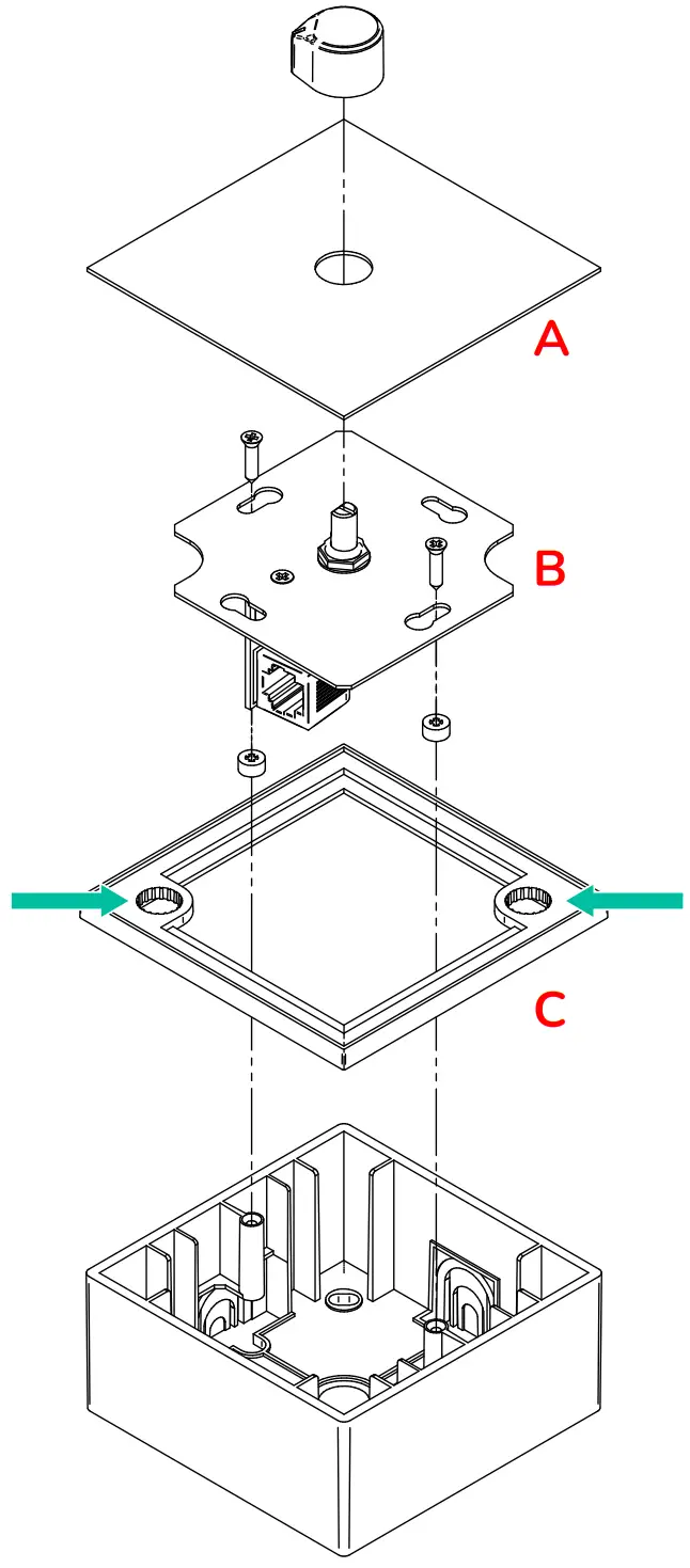
MOUNTING DRAWINGS
10.1. WPaVOL, WPaVOL-J, WPaVOL-SR, WPaVOL-SR-J WPaMIX-T WPaCNX-CBO WPaCNX-JRCA
ATTENTION
The C frame magnets exert considerable force.
The assembly of parts A and B must be done with caution in order to avoid damaging the C frame lining.

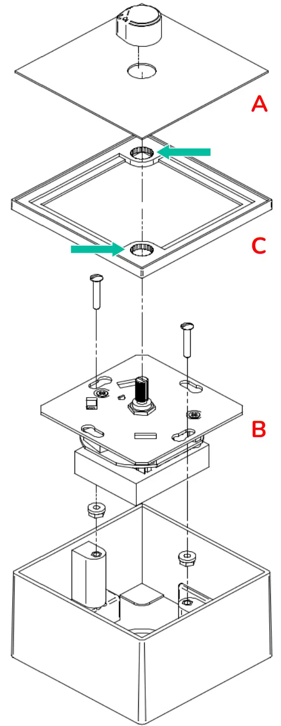
10.2. UBWPaVOL, UBWPaCNXJRC

10.3. WPaH-AT6, WPa-SL4
ATTENTION
The C frame magnets exert considerable force.
The assembly of parts A and B must be done with caution in order to avoid damaging the C frame lining.

10.4. WPaH-AT40
ATTENTION
The C frame magnets exert considerable force.
The assembly of parts A and B must be done with caution in order to avoid damaging the C frame lining.

10.5. WPaH-AT100
ATTENTION
The C frame magnets exert considerable force.
The assembly of parts A and B must be done with caution in order to avoid damaging the C frame lining.


All product characteristics are subject to variation due to production tolerances.
NEEC AUDIO BARCELONA S.L. reserves the right to make changes or improvements in the design or
manufacturing that may affect these product specifications.
For technical queries contact your supplier, or distributor or complete the contact form on our website,
in Support / Technical requests.
Motors, 166‐168 08038 Barcelona ‐ Spain ‐ (+34) 932238403 | [email protected] | www.ecler.com





















