ecler WPaBT Remote Controls and Interfaces Bluetooth Receiver Wall Panel

IMPORTANT REMARK
The lightning flash with arrowhead symbol, within an equilateral triangle, is intended to alert the user to the presence of uninsulated “dangerous voltage” within the product’s enclosure that may be of sufficient magnitude to constitute a risk of electric shock to persons.
The exclamation point within an equilateral triangle is intended to alert the user to the presence of important operating and maintenance (servicing) instructions in the literature accompanying the appliance.
WARNING (If applicable): The terminals marked with symbol of “ ” may be of sufficient magnitude to constitute a risk of electric shock. The external wiring connected to the terminals requires installation by an instructed person or the use of ready-made leads or cords.
WARNING: To prevent fire or shock hazard, do not expose this equipment to rain or moisture.
WARNING: An apparatus with Class I construction shall be connected to a mains socket-outlet with a protective earthing connection.
IMPORTANT SAFETY INSTRUCTIONS
- Read these instructions.
- Keep these instructions.
- Heed all warnings.
- Follow all instructions.
- Do not use this apparatus near water.
- Clean only with dry cloth.
- Do not block any ventilation openings. Install in accordance with the manufacturer’s instructions.
- Do not install near any heat sources such as radiators, heat registers, stoves, or other apparatus (including amplifiers) that produce heat.
- Do not defeat the safety purpose of the polarized or grounding type plug. A polarized plug has two blades with one wider than the other. A grounding type plug has two blades and a third grounding prong. The wide blade or the third prong are provided for your safety. If the provided plug does not fit into your outlet, consult an electrician for replacement of the obsolete outlet.
- Protect the power cord from being walked on or pinched particularly at the plugs, convenience receptacles, and at the point where they exit from the apparatus.
- Only use attachments/accessories specified by the manufacturer.
- Unplug the apparatus during lightening sorts or when unused for long periods of time.
- Refer all servicing to qualified personnel. Servicing is required when the apparatus has been damaged in any way, such as power supply cord or plug is damaged, liquid has been spilled or objects have fallen into the apparatus, the apparatus has been exposed to rain or moisture, does not operate normally, or has been dropped.
- Disconnecting from mains: When switching off the POWER switch, all the functions and light indicators of the unit will be stopped, but fully disconnecting the device from mains is done by unplugging the power cable from the mains input socket. For this reason, it always shall remain easily accessible.
- Equipment is connected to a socket-outlet with earthing connection by means of a power cord.
- The marking information is located at the bottom of the unit.
- The apparatus shall not be exposed to dripping or splashing and that no objects filled with liquids, such as vases, shall be placed on apparatus.
NOTE: This equipment has been tested and found to comply with the limits for a Class A digital device, pursuant to part 15 of the FCC Rules. These limits are designed to provide reasonable protection against harmful interference when the equipment is operated in a commercial environment. This equipment generates, uses, and can radiate radio frequency energy and, if not installed and used in accordance with the instruction manual, may cause harmful interference to radio communications. Operation of this equipment in a residential area is likely to cause harmful interference in which case the user will be required to correct the interference at his own expense.
WARNING: This product must not be discarded, under any circumstance, as unsorted urban waste. Take to the nearest electrical and electronic waste treatment centre.
NEEC AUDIO BARCELONA, S.L. accepts no liability for any damage that may be caused to people, animal or objects due to failure to comply with the warnings above.
IMPORTANT NOTE
It is VERY IMPORTANT to carefully read this manual and to fully understand its contents before any connection in order to maximize your use and get the best performance from this equipment.
To ensure optimal operation of this device, we strongly recommend that its maintenance be carried out by our authorised Technical Services.
Ecler WPaBT comes with a 3-year warranty.
INTRODUCTION
WPaBT is a Class 1 Bluetooth® receiver with balanced stereo Euroblock output. Surface installation box included.
The main features of the WPaBT Bluetooth® Receiver Wall Panel are:
- Bluetooth® receiver in WPa wall panel format (standard UE).
- Bluetooth® class 1 (range 25m), version V5.0. A2DP profile.
- Balanced stereo Euroblock output dual-mono configurable.
- PAIR button with blue LED activity indicator. This can be turned off in dark rooms so as not to disturb.
- Easy device name configuration, PIN, stereo/mono output and other adjustments via the Ecler Bluetooth® Manager application for Windows devices.
- External 24VDC power supply (WP24-PSU, optional), via terminal strip. Compatible with WPaBT power bus
- GPO: to indicate that an A2DP audio connection is active (automatic priority management)
- USB-C configuration port: not visible, behind the front cover. Easily accessed by removing only the front cover; it is not necessary to remove the device from the wall. USB-C cable not included
- Compatible with round electrical boxes that are 60mm in diameter.
- Surface mounting box included
- Compatible with WPa2FMBOX and WPa2SMBOX mounting boxes
CONNECTIONS
Mains Connection and Switching On
WPaBT requires an external power supply, 24VDC (connected to the DC IN terminals). It is recommended to use the Ecler WP24-PSU power supply, which can power up to 10 WPaBT units (depending on voltage lost as a result of the length and cross-section of the cables)
Recommendation: Given that the WPaBT has no electromagnetic shielding, it is strongly recommended to avoid installing it close to any radiation sources or high-voltage cables, such as power supply cables, light cables or similar.
Output Audio Connections
WPaBT has 2 balanced audio outputs (left and right) with 3-pin Euroblock connectors, in the following layout:
- Hot or direct signal > Terminal +
- Cold or inverted signal > Terminal –
- Ground > Terminal ⊥
When connecting an output channel to an amplifier or audio device with a balanced input, the +, – and ⊥ terminals must be connected point-to-point between the two devices. When connecting an output channel to an amplifier or device with an unbalanced audio input, don’t connect the – terminal to anything.

Remote Control GPO Ports
WPaBT has 1 NO/NC (normally open/normally closed) relay output on its rear panel. This output’s change of status is associated with the detection of active A2DP audio connections. This makes it possible for it to interact with external equipment, such as motors for projection screens or movable partitions, lights, sirens, GPI inputs from other equipment, etc.
eMCONTROL1 Connection
WPaBT can provide a remote audio input for a HUB device, using it in combination with eMCONTROL1. Additionally, an external power supply is not required, as power is supplied by the HUB device via eMCONTROL1.

Figure 2: WPaBT + eMCONTROL1 connection diagram
Note: Either LEFT or RIGHT outputs can be connected. Ensure that the output is set to mono using the Ecler Bluetooth® Manager configuration application.
Note: As regards the maximum distances for the CAT5 or higher cabling that connects an eMCONTROL1 to a HUB unit, these are determined by the AWG category of the cable used. Examples:
AWG24 Cable | AWG23 Cable | AWG22 Cable | |
WPaBT | Maximum length 270 metres | Maximum length 340 metres | Maximum length 425 metres |
| WPaBT + eMCONTROL1 | Maximum length 85 metres | Maximum length 105 metres | Maximum length 130 metres |
If the cable is too long, eMCONTROL1 may work correctly, but noise may appear on top of the signal that is input to WPaBT. The solution to this problem is to use an external 24VDC power supply to power the eMCONTROL1 digital control (it is recommended to use the Ecler WP24-PSU power supply unit*). The digital data connection between the HUB unit and the eMCONTROL1 unit has been successfully tested with a wiring distance of 600 meters, using an external power supply and a good quality CAT5E cable.

Figure 3: eMCONTROL1 + WP24-PSU
* Note: This connection must be made by inserting the WP24-PSU’s positive and negative cables directly into the eMCONTROL1 Euroblock connector’s positive and negative terminals.
INSTALLATION
The installation of a WPaBT unit consists of the following steps.
Installation of a Single Unit, on the Surface or Flush
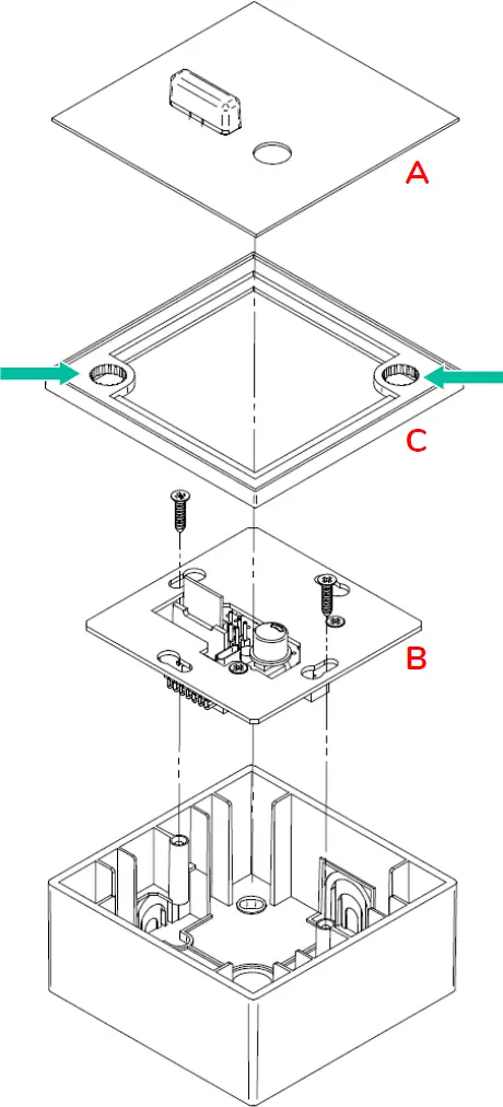
- Remove the front panel cover, which is held in place by magnets. You can use the magnet provided as a tool, touching it to the upper right corner of the front cover and pulling it gently. Take care not to damage the Bluetooth® antenna
- Connect the audio, GPO control and external power supply (see CONNECTIONS chapter).
- Screw the device to the surface box or the flush box.
- Replace the front panel and attach the rotating encoder knob (see MOUNTING DIAGRAM chapter).
Installation of a WPaBT unit, together with an eMCONTROL1 control panel, on the surface or flush
Note: A WPa2FMBOX double box is required in order to mount both devices flush next to each other, or a WPa2SMBOX double box is required for surface mounting. Both WPa2FMBOX and WPa2SMBOX are sold separately.
- Remove the front panel covers from both devices (WPaBT and eMCONTROL1), which are held in place by magnets. You can use the magnet provided as a tool, touching it to the upper right corner of the front cover and pulling it gently.
- Mount both devices on the WPa2SMBOX or WPa2FMBOX frame. They are mounted AFTER the frame.
- Connect the RJ-45 connector of the CAT5 or higher cable, which will run to one of the REMOTE inputs of the HUB device. If necessary, connect an external power supply (see CONNECTIONS chapter).
- Connect the WPaBT and eMCONTROL1 together using the cable supplied on both devices (see CONNECTIONS chapter).
- Screw the device to the surface box or the flush box.
- Replace the front panels and attach the rotating encoder knob.
CONNECTION TO PC
- Make sure that the device is connected to the mains and switched on (see CONNECTIONS chapter).
Note: WP24-PSU external power supply is sold separately - Remove the front cover using the magnet. Be careful not to damage the Bluetooth® antenna (see INSTALLATION chapter)
- Connect the WPaBT device to one of the USB ports of your computer (Windows®) using a USB-C to USB-A ***cable
Note: Only applicable to units with serial numbers 001 to 100. - Download and run the Ecler Bluetooth® Manager application. The latest available version of the firmware is provided with the application.
DOWNLOAD LINK
Note: configuration application available only for Windows® - Select the corresponding COM port
Note: If the COM port is not suitable for WPaBT, an error message will be displayed, and you should try another COM port.
- If the connection is successfully established, a success message will be displayed on the screen. Press OK to continue.

CONFIGURATION
The Ecler Bluetooth® Manager application automatically detects the device. It allows you to make the following adjustments. To apply a certain configuration, modify the parameters in line with your needs and press the WRITE button located in the lower right-hand corner of the window to apply the changes.

- DEVICE: corresponds to the commercial name of the detected device.
- VERSION: indicates the current version of the device’s firmware.
- NAME: name under which it appears on other Bluetooth® devices. By default, this is Ecler-WPaBT. This name can be modified, in order to be easily identifiable by a user.
- PIN: 4-digit numeric PIN password for pairing the device. To add a level of security, an access PIN can be set.
Note: by default (factory settings), no PIN is required. If the device you are trying to pair requires a PIN, enter the default values of “0000” or “1234”. - STEREO/MONO: allows you to set the device output to stereo (Left – Right) or mono. If this is set to mono, stereo is converted to mono internally in the device. Both “Left” and “Right” outputs will transmit the same signal (dual-mono).
- MAX DEVICES: sets the maximum number of devices remembered by the WPaBT device. A remembered device does not need to be paired again, and the connection will be established automatically when both devices are in range. The most recently paired device will take priority over older devices. If this is set to 1, it will only remember one device, so it will only connect to the most recently paired device automatically. Any other new or old device (that has already been paired) will need to be paired again.
- GPO TYPE: GPO contact closure setting, Normally open or Normally closed. The contact closure will switch when there is an active A2DP audio connection. Useful for establishing priorities or automation with other devices.
- RESTORE CTRL: if selected, this allows you to reset all the settings of the device to factory defaults by pressing the PAIR button on the front panel.
- LED CTRL: allows you to activate or deactivate the front LED using the PAIR button on the front panel.
- RESTORE DEFAULTS BUTTON: resets all the settings of the device to factory defaults.
- WRITE BUTTON: applies the configuration changes to the device.
- BROWSE BUTTON: allows the firmware to be updated manually. Pressing the button opens a dialogue box that enables you to browse and select the firmware file.
OPERATION
WPaBT has a PAIR button and an activity LED on the front panel.
- Waiting for Connection: LED flashes once every second (heartbeat). This indicates that there is no active connection.
- Pairing: To pair two devices, press and hold the PAIR button for approximately 2-3 seconds. The LED will start to flash rapidly, indicating that the device is now visible and ready to pair with other Bluetooth® devices. On your Bluetooth® device (mobile phone, tablet, computer, etc.) go to the Bluetooth® settings and select the “Ecler-WPaBT” device. WPaBT will remain in pairing mode for one minute. If no pairing is established after one minute has elapsed, it will return to the “waiting for connection” state.
- Connected: once the devices are paired, when the connection is established, the LED will light up continuously. If the connection to the device is lost, it will return to the “waiting for connection” state.
In addition, the pairing button allows you to: - Disable/Enable LED: If this feature is enabled, you can disable/enable the LED when the device is in “waiting for connection” mode or “connected” mode with a short press of the PAIR button. If the device enters pairing mode, when the process is finished (whether it is paired or not), the LED will always be in the active state.
- Reset to factory settings: If this function is enabled, you can press and hold the PAIR button for approximately 10 seconds to reset it to factory settings. Press and hold the PAIR button until it stops flashing rapidly and the LED lights up continuously.
DIAGRAM OF FEATURES

- Front panel cover
- Bluetooth® Antenna
- PAIR button
- USB-C configuration port
- Power supply
- Audio R
- Audio L
- GPO
TECHNICAL CHARACTERISTICS
| WPaBT | |
| Bluetooth® | |
| Type | Class 1, 5.0 |
| Range | 25m |
| Profiles | A2DP1.3/AVRCP1.6/ HFP1.7.2/HSP1.2 |
| Decoder support | AAC, SBC |
| Channels | |
| Number of output channels | 2 |
| Output connection type | Euroblock, 3 pin per channel |
| Output configuration | Stereo / Mono (configurable via E.B.T) |
| Number of input channels | 2 |
| Input connection type | Bluetooth® |
| Input configuration | None |
| Signal | |
| Max output level | 2,2dBu / 0dBV |
| Frequency response | 20Hz – 20kHz |
| Installation options | In-ceiling, in-wall |
| THD + Noise | <0,03% |
| SNR | >100dB |
| AC Mains Power | |
| Power supply | 24VDC External Power Supply (not included) |
| AC Mains requirement | N/A |
| AC mains connector | N/A |
| Power Consumption | 1,2W @ 24VDC |
| Others | |
| GPOs | One GPO, Bidirectional. Configurable NO – NC vía Ecler Bluetooth Manager® |
| Pair button | Front push – button |
| Pair LED | Front LED, BLUE color |
| Programing and control | ECLER BLUETOOTH® MANAGER via USB – C |
| Physical | |
| Type | Bluetooth® Receiver |
| Format | Double Gang EU Format |
| Installation options | Surface, In – wall |
| Certifications | – |
| Enclosure material | Zincor front panel, plastic frame |
| Operating temperature | Min: 0°C ; 32°F Max: 35°C ; 95°F |
| Operating humidity | <85% HR |
| Storage temperature | Min: -10°C ; 14°F Max: 50°C ; 122°F |
| Storage humidity | <90% HR |
| Included accessories | Euroblock connectors, Surface mount box, Warranty card, Getting started card, Magnet and Screws |
MOUNTING DIAGRAM

PACKAGE CONTENTS
- WPaBT
- Frame for mounting in single-unit systems
- Cover
- Magnet for cover removal
- Euroblock terminals for power, audio and GPO connections
- Surface box
- Screws for attachment to surface box or to optional mounting boxes WPa2FMBOX and WPa2SMBOX
- Warranty card
All product specifications are subject to variation due to production tolerances. NEEC AUDIO BARCELONA S.L. reserves the right to make changes or improvements to the design or manufacture of the product that may affect its specifications.
For technical inquiries, please contact your supplier, distributor or fill in the contact form on our website under Support/Technical Inquiries.
Motors, 166-168 08038 Barcelona – Spain – (+34) 932238403 | [email protected] | www.ecler.com

Note: Only applicable to units with serial numbers 001 to 100.
Note: If the COM port is not suitable for WPaBT, an error message will be displayed, and you should try another COM port.



















