HINKLEY 17501 Dawson Large Post Top or Pier Mount Lantern
Post Mounting
- Find a clear area in which you can work.
- Unpack fixture and glass from carton.
- Carefully review instructions prior to assembly.
SAFETY WARNING: READ WIRING AND GROUNDING INSTRUC-TIONS (I.S. 18) AND ANY ADDITIONAL DIRECTIONS. TURN POWER SUPPLY OFF DURING INSTALLATION. IF NEW WIRING IS REQUIRED, CONSULT A QUALIFIED ELECTRICIAN OR LOCAL AUTHORITIES FOR CODE REQUIREMENTS
Make electrical connections from supply wire to fixture lead wires. Refer to instruction sheet (I.S. 18) and follow all instructions to make all necessary wiring connections. Then refer back to this sheet to complete installation of this fixture.
NOTE: MAKE SURE ALL WIRE NUTS USED ON ELECTRICAL CONNECTIONS ARE SILICONE FILLED
- Now follow instruction sheet (IS-18) make all necessary wiring connections.
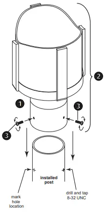
- After wiring is complete slip post fitter (1) of fixture body (2) over installed post and and tighten the three machine screws (3) in post fitter (1) to secure fixture to post
OPTIONAL :
The following mounting is optional, but recommended in high wind areas or coastal regions.
- Take main body assembly (2) and slide the post fitter (1) over install post and mark the location of the three threaded mounting holes.
- Now remove fixture body from installed post and using a #29 drill bit (3.5mm). Drill holes at the marked locations.
- Tap drilled holes with an 8-32 UNC tap.
- Next do all wiring connections follow (IS-18) provided, then slip wires into post and slide post fitter (1) over installed post. Align holes previously drilled and tapped and thread in screws to secure fixture
CAGE ASSEMBLY
- To complete installation release fixture cage (Z) by removing screws (S)
- Lamp fixture with appropriate bulb
- Slide glass panels (M) into cage (Z)
- Secure panels by bending tabs (T)
- Replace screws (S) and fixture cage (Z)
- Fixture power can now be restored

Glass Assembly
I.S. 18 wiring grounding instructions
SAFETY WARNING: READ WIRING AND GROUNDING INSTRUCTIONS (IS 18) AND ANY ADDITIONAL DIRECTIONS. TURN POWER SUPPLY OFF DURING INSTALLATION. IF NEW WIRING IS REQUIRED, CONSULT A QUALIFIED ELECTRICIAN OR LOCAL AUTHORITIES FOR CODE REQUIREMENTS
Indoor Fixtures
- Connect positive supply wire (A) (typically black or the smooth, unmarked side of the two-conductor cord) to positive fixture lead (B) with appropriately sized twist on connector
- Connect negative supply wire (C) (typically white or the ribbed, marked side of the two-conductor cord) to negative fixture lead (D).
- Please refer to the grounding instructions below to complete all electrical connections
Outdoor Fixtures
- Connect positive supply wire (A) (typically black or the smooth unmarked side of the two-conductor cord) to positive fixture lead (B) with appropriately sized twist on connector
- Connect negative supply wire (C) (typically white or the ribbed, marked side of the two-conductor cord) to negative fixture lead (D).
- Cover open end of connectors with silicone sealant to form a watertight seal.
- If installing a wall mount fixture, use caulk to seal gaps between the fixture mounting plate (backplate) and the wall.
- This will help prevent water from entering the outlet box. If the wall surface is lap siding, use caulk and a fixture mounting platform specially.
- Please refer to the grounding instructions below to complete all electrical connections.
Grounding instructions
Flush Mount Fixtures
For positive grounding in a 3-wire electrical system, fasten the fixture ground wire (E) (typically copper or green plastic coated) to the fixture mounting strap (M) with the ground screw (S)

Chain Hung Fixtures
Loop fixture ground wire (E) (typically copper or green plastic coated) under the head of the ground screw (S) on fixture mounting strap (M) and connect to the loose end of the fixture ground wire directly to the ground wire of the building system with appropriately sized twist-on connectors

Post-Mount Fixtures
Connect fixture ground wire (E) (typically copper or green plastic coated) to power supply ground with appropriately sized twist-on connector inside post. Cover open end of connector with silicone sealant to form a watertight seal





















