ELEGANT 3503F18BK Monroe 1 Light 18 Inch Black Flush Mount Ceiling Light

Thank you for choosing our product(s). Our Company is actively involved in every step of the production.
Our product(s) are designed to be utilized for every application that graces your home or business. We pride ourselves in providing the most prompt and courtesy service to all of the valued customers. Please find the enclosed detailed instruction and read carefully for proper installation. If you have any questions, please contact the retailer Where the purchased was made.
SAFETY
Warning: MAKE SURE THE ELECTRICITY TO THE WIRES YOU ARE WORKING ON IS SHUT OFF.BY EITHER REMOVING THE FUSE OR TURNING OFF THE CIRCUIT BREAKER.
CAUTION
- Before assembling the lighting fixture, please read all instructions carefully.
- All frame & crystal components are fragile, please handle with care.
- Required supply circuit : 110 – 130V/60Hz
- Labeled wires are “L” for live wire, “N” for neutral wire, “E” for ground wire.
- Never install fixture on damp ceiling, the room should be dry and well ventilated
- All electrical components must be installed by a licensed electrician and in accordance with the National Electrical Code and the appropriate local electrical codes.
Unpack the Package
Please open the box carefully and check all the items are inside the box. If you have any installation, assembling and missing parts questions. where you purchase from and any other relevant information ready, our customer service team will provide comprehensive and worry free service to our valued customers.
Frame Assembly Diagram

Step 1
Please use the partslist to ensure you are not missing any parts.
PARTS LIST
| Parts number | Picture | Description | Qty | Diagram number |
| MB9R26 | | Ceiling Plate | 1 | ZA |
| P-3503F18BK-1 | ![]() ![]() | canopy M5 screw cap | 1 4 | ZB ZD |
| P-3503F18BK-2 | ![]() | screw ends pipe short | 2 | POl |
![]() | 1 | P02 | ||
| D17. 7nupside iron slice | 1 | P03 | ||
| 2.4″ metal pipe | 10 | P04 | ||
| D17. 7ndownside S. S slice | 1 | P05 | ||
| 4W high voltage LED PCB | 5 | P06 | ||
| RC620-3-CL | ![]() | 1. 2″*3ncrystal | 65 | A |
| RC2020-30-CL | ![]() | 1.2n*l. 2″crystal | 30 | B |
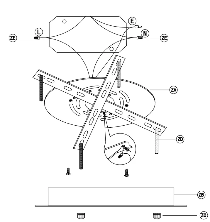
Step 2
Canopy Installation Instruction

IMPORTANT: Test sockets with bulb before dressing the fixture.
- Use two screws (ZG) to fix the Ceiling Plate(ZA) on the ceiling; which are not supplied and should already be in your box.
- Be sure when connecting the wire use electrician approved junction caps(ZE).
- Stow the excess wire in the canopy(ZB).
- Align the canopy (ZB) with the hanging plate screw (ZE), fix the lamp on the ceiling, tighten and fix it with a M5 screw cap (ZD).
Step 3
Frame Assembly Diagram

Frame Assembly Instructions
Installation:
Please read all instructions carefully. Before you proceed to install, make sure that the power supply is turned off and remains off until installation is complete. Please note that each part has been assigned a number. Please proceed in a numerical order
- Fixed the Ceiling Cover on the Mounting Bracket, then put the screws tightened.
Crystal Dressing Diagram

Congratulations !
You are now done installing your Elegant Lighting fixture. Sit back and admire each crystal as it will become the statement piece for your room/house.
Thank you.
Cleaning and Maintenance of Chandelier Frame
The finish on our chandelier frames and fixture frames is protected by a durable coating of lacquer. To clean, use a clean soft, dry cloth.Do not use any metal polishes, cleaners, abrasives or any substance which could remove the protective finish. Failure to follow these instructions automatically voids the guarantee.
Cleaning and Maintenance of Crystals
Wet a soft cotton fabric in clean warm water and wipe gently, then polish with a dry soft cotton fabric.
To Order Crystal Replacement Parts
Should you require replacement crystals or pins (the metal connectors attaching the crystals), contact the store where the product was purchased or contact us. For ease of ordering, you may use the original crystal trimming instructions provided with this product and circle the items you wish to order, indicating the quantity by writing the number needed adjacent to the circle. You will be contacted with prices prior toshipment. All orders must be pre-paid.
Elegant Lighting Warranty
The finish and frame of your new chandelier or fixture are warranted for a period of one (1) year from the date of purchase. Our company will, at its option, repair or replace any frame that has a defect in the materials or workmanship during the warranty period. All crystals are guaranteed for their original quality during the life of the chandelier. Breakage is not covered by this warranty.
To make a claim under this warranty, contact our customer service department. A written return authorization form will be sent to you with specific instructions.
Returns and Conditions of Warranty
Returns must be pre-authorized by contacting our customer service department .Returns will only be accepted with a written return merchandise authorization and return shipping charges pre-paid. We reserve the right to inspect all returned merchandise to fully determine the nature of any defect. This guarantee shall not apply to any product that has been changed, altered or otherwise modified, nor shall it apply to any product that has been repaired or altered by anyone other than a pre-authorized facility. We will not be responsible for any breakage or damages incurred during transit, nor for crystal parts or metal frame part that have been subject to misuse, negligence, accident or inappropriate handling. Also, we will not be held responsible for damage incurred during improper installation or wiring by others, nor for damages resulting from a failure to follow the recommended maintenance or installation procedures. This guarantee is issued in lieu of any and all other guaranteed or warrantee, whether written or implied and any and all other obligations or liabilities. Further, we neither authorize nor permit any other person or firm to assume for us, any liability in connection with the sale of our products.
Dimensions: D17. 7nxH5. ln
Collection: Monroe
Bulb Type: LED PCB 22.5W 3OOOK
Lamp Weight: 13.2LBS
Total Weight: 16.O6LBS




















