HAMPTON BAY 1007259777 1 Light Exterior Wall Lantern

Safety Information
- Consult a qualified electrician if you have any electrical questions.
- CAUTION: Inspect the wire insulation for any cuts, abrasions, or exposed copper that may have resulted during shipping. If there is a defect in the wire, do not attempt installation. Please call our Customer Service Team at 1-855-HD-HAMPTON.
- WARNING: Before starting the installation of this fixture or removal of a previous fixture, disconnect the power by turning off the circuit breaker or by removing the fuse at the fuse box.
Limited Warranty
WHAT IS COVERED
The manufacturer warrants this lighting fixture to be free from defects in materials and workmanship for a period of three (3) years from date of purchase. This warranty applies only to the original consumer purchaser and only to products used in normal use and service. f this product is found to be defective, the manufacturer’s only obligation, and your exclusive remedy, is the repair or replacement of the product at the manufacturer’s discretion,provide that product has been damaged through misuse,abuse, or accident. modifications, alterations, neglect or mishandling. This warranty shall not apply to any product that is found to have been improperly installed, set up, or used in any way not in accordance with the instructions supplied with the product. This warranty shall not apply to a failure of the product as a result of an accident, misuse, abuse, negligence, alteration, or faulty installation, or any other failure not relating to faulty material or workmanship. This warranty shall not apply to the finish on any protion of the product,such as surface and/or weathering,as this is considered normal wear and tear.
WHAT IS NOT COVERED
The manufacturer does not warrant and specially disclaims any warranty, whether express or implied, of fitness for a particular purpose, other than the warranty contained herein. The manufacturer specifically disclaims any liability and shall not be liable for any consequential or incidental loss or damage, including but not limited to any labor/expense costs involved in the replacement or repair of said product Contact the Customer Service Team at 1-855-HD-HAMPTON or visit WWW.HAMPTONBAY.COM.
Pre-Installation
TOOLS REQUIRED (NOT INCLUDED)

HARDWARE INCLUDED
NOTE: Hardware not shown to actual size.
| Part | Description | Quantity |
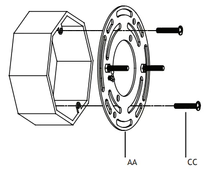
| AA | Mounting bracket | 1 |
| BB | Mounting screw (Pre-assembled to mounting bracket (AA)) | 2 |
| CC | Outlet box screw | 2 |
| DD | Green ground screw (Pre-assembled to mounting bracket (AA)) | 1 |
| Part | Description | Quantity |
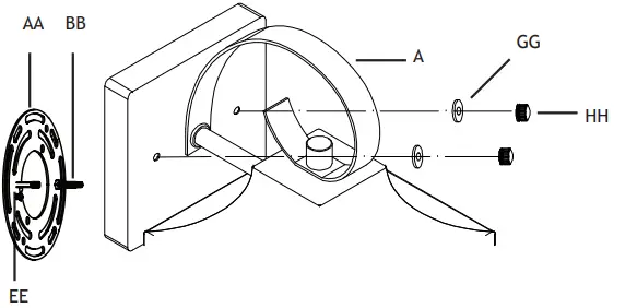
| EE | Hex nut | 2 |
| FF | Wire connector | 3 |
| GG | Rubber washer | 2 |
| HH | Cap nut | 2 |
PACKAGE CONTENTS

| Part | Description | Quantity |
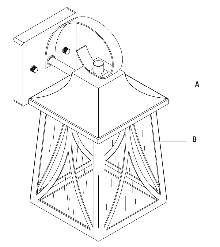
| A | Fixture body | 1 |
| B | Glass piece | 4 |
Installation
Installing the mounting bracket
- Unscrew the two cap nuts (HH) and rubber washer(GG) from the mounting screws (BB). Remove the mounting bracket (AA)from the fixture body (A), and keep the cap nuts (HH) and rubber washer (GG) for later use. Loosen the hex nuts (EE) on the mounting screws (BB) and adjust the mounting screws (BB) so that they extend long enough to protrude the canopy of the fixture body (A), then secure the mounting screws (BB) in place using the hex nuts (EE).

- Fasten the mounting bracket (AA) onto the outlet box using two outlet box screws (CC).The side of the mounting bracket (AA) marked “GND” must face out.

Connecting the wires
- Connect the white wire from the light fixture to the white supply wire from the junction box using a connector (FF). Connect the black wire from the light fixture to the black supply wire from the junction box using a connector (FF). Connect the ground wire from the light fixture to the ground supply wire from the junction box using a connector (FF). Push the wires into the junction box. Mount the fixture body (A) onto the mounting bracket (AA) and secure with the mounting screws (BB).

Installing the light fixture
- Place the fixture body (A) over the outlet box, and ensure the heads of the mounting screws (BB) come through the holes of the fixture body (A). Place the rubber washers (GG) over the mounting screws (BB), and tighten the cap nuts (HH) onto the mounting screws (BB) until the fixture body (A) is held firmly against the wall. Use weather resistant caulk (not included) to seal around the top and side perimeter of the back plate of the fixture body (A). Do not caulk the bottom of the back plate to allow for condensation evaporation.

Care and Cleaning
- Do not use any cleaners with chemicals, solvents, or harsh abrasives. Use only a dry, soft cloth to dust or wipe carefully.
- To clean the fixture, disconnect power by turning off the circuit breaker or by removing the fuse at the fuse box. Use a dry or slightly dampened, clean cloth to wipe the exterior surface of the fixture.
Troubleshooting
| Problem | Possible Cause | Solution |
| The bulb will not light. | The bulb is burned out. | Replace the bulb. |
| The power is off. | Ensure the power supply is turned on. | |
| The power cord is not plugged in. | Ensure the power cord is plugged into the outlet. | |
| The circuit breaker is off. | Ensure the circuit breaker is set to the “ON” position. | |
| The fuse blows, or the circuit breaker trips, when the light is turned on. | There are crossed wires, or the power wire is grounding out. | Discontinue use of the lamp. Check the wire connections. Contact a qualified electrician or call the Customer Care Service Team at 1-855-HD-HAMPTON. |
Service Parts
MODEL TYPE : 28235 28236

| Part | Description | Quantity |
| AA | Mounting bracket | 1 |
| BB | Mounting screw (Pre-assembled to mounting bracket (AA)) | 2 |
| CC | Outlet box screw | 2 |
| DD | Green ground screw (Pre-assembled to mounting bracket (AA)) | 1 |
| Part | Description | Quantity |
| EE | Hex nut | 2 |
| FF | Wire connector | 3 |
| GG | Rubber washer | 2 |
| HH | Cap nut | 2 |



















