HAMPTON BAY HDP00833 Chartwell 1-Light Small Lantern

Product Information
- Item #: 1007183438
- Model #: HDP00833
- Product Name: Chartwell 1-Light Small Lantern
- Manufacturer: Hampton Bay
- Warranty: 3-year limited warranty
Product Description:
The Chartwell 1-Light Small Lantern is a lighting fixture that can be used to enhance the aesthetic of your home. This lantern requires one 120V, 60Hz, 60-Watt max., medium-base type A bulb (not included) and has a pre-assembled socket and cap, and a glass shade. The package includes a mounting plate, hardware such as screws, wire nuts, and a ground screw.
Product Usage Instructions
Safety Information:
- Consult a qualified electrician with any electrical questions you may have.
- Inspect the wire insulation for any cuts, abrasions, or exposed copper that may have occurred during shipping. If there is a defect in the wire, do not continue the assembly process. Please call Hampton Bay Customer Service at 1-855-HD-HAMPTON.
Pre-Installation:
- Read all instructions before assembly.
- To avoid damaging this product, assemble it on a soft, non-abrasive surface such as carpet or cardboard.
- Inspect each part for defects that may have occurred during shipping.
- Keep your receipt and these instructions for proof of purchase.
- This lantern requires the use of one 120V, 60Hz, 60-Watt max., medium-base type A bulb (not included). Do not exceed the recommended wattage.
Tools Required:
- Safety goggles
- Phillips screwdriver
- Flathead screwdriver
- Pliers
- Wire strippers
- Wire cutters
- Ladder
Installation:
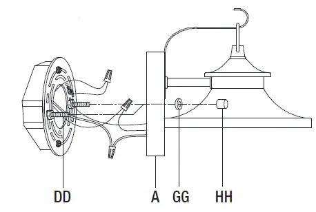
- Remove the mounting plate (BB) and two rubber washers (GG) from the lantern body (A) by unscrewing two finials (HH).
- Install the mounting plate (BB) onto the outlet box with two outlet box screws (CC).
- Connect the black wire from the lantern body (A) to the black wire from the outlet box, and secure them with a wire nut (AA). Repeat this process for the white wires.
- Attach the grounding wire from the outlet box to the grounding screw (EE) on the mounting plate (BB) using a small nut (FF).
- Attach the lantern body (A) to the mounting plate (BB) with two mounting screws (DD).
- Install the glass shade (D) onto the socket ring (E), and then attach the socket ring (E) onto the socket (B).
- Screw in a bulb (not included) into the socket (B).
- Attach the cap (C) onto the socket (B).
- Screw in two finials (HH) onto the top and bottom of the lantern body (A), securing the mounting plate (BB) and glass shade (D).
Care and Cleaning:
- Turn off power to the lantern before cleaning.
- Clean the lantern with a soft, damp cloth. Do not use any abrasive cleaners or solvents.
Troubleshooting:
- If the lantern does not turn on, check that the bulb is securely screwed into the socket and that it is not burned out. Also, make sure that power is being supplied to the outlet box.
Questions, problems, missing parts? Before returning to the store, call Hampton Bay Customer Service 8 a.m. – 7 p.m., EST, Monday – Friday, 9 a.m. – 6 p.m., EST, Saturday 1-855-HD-HAMPTON HAMPTONBAY.COM.
THANK YOU
We appreciate the trust and confidence you have placed in Hampton Bay through the purchase of this lantern. We strive to continually create quality products designed to enhance your home. Visit us online to see our full line of products available for your home improvement needs. Thank you for choosing Hampton Bay!
Safety Information
- Consult a qualified electrician with any electrical questions you may have.
IMPORTANT:
Inspect the wire insulation for any cuts, abrasions, or exposed copper that may have occurred during shipping. If there is a defect in the wire, do not continue the assembly process. Please call our Customer Service Team at 1-855-HD-HAMPTON.
Warranty
3-YEAR LIMITED WARRANTY
WHAT IS COVERED
The manufacturer warrants this lighting fixture to be free from defects in the materials and workmanship for a period of three (3) years from date of purchase. This warranty applies only to the original consumer purchaser and only to products used in normal use. If this product is found to be defective, the manufacturer’s only obligation, and your exclusive remedy, is the repair or replacement of the product at the manufacturer’s discretion, provided that the product has not been damaged through misuse, abuse, accident, modifications, alterations, neglect or mishandling. This warranty shall not apply to any product that is found to have been improperly installed, assembled, or used in any way not in accordance with the instructions supplied with the product. This warranty shall not apply to a failure of the product as a result of an accident, misuse, abuse, negligence, alteration, faulty installation, or any other failure not relating to faulty material or workmanship.
WHAT IS NOT COVERED
This warranty shall not apply to the finish on any portion of the product due to weathering, as this is considered normal wear. The manufacturer does not warrant and specifically disclaims any warranty, whether expressed or implied, other than the warranty contained herein. The manufacturer specifically disclaims any liability and shall not be liable for any consequential or incidental loss or damage, including but not limited to, any labor or expense costs involved in the replacement or repair of the product.
Contact the Customer Service Team at 1-855-HD-HAMPTON or visit www.HamptonBay.com.
Pre-Installation
PLANNING INSTALLATION
Read all instructions before assembly. To avoid damaging this product, assemble it on a soft, non-abrasive surface such as carpet or cardboard. Inspect each part for defects that may have occurred during shipping. Keep your receipt and these instructions for proof of purchase.
NOTE:
This lantern requires the use of one 120V, 60Hz, 60-Watt max., medium-base type A bulb (not included). Do not exceed the recommended wattage.
TOOLS REQUIRED

HARDWARE INCLUDED
NOTE: Hardware not shown to actual size.


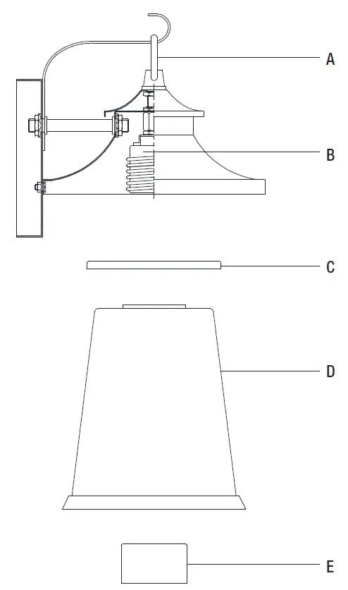
PACKAGE CONTENTS

| Part | Description | Quantity |
| A | Lantern body | 1 |
| B | Socket (Pre-assembled on the lantern body (A)) | 1 |
| C | Cap (Pre-assembled on the socket (B)) | 1 |
| D | Glass shade | 1 |
| E | Socket ring (Pre-assembled on the socket (B)) | 1 |
Installation
- Removing the mounting plate
- Remove the mounting plate (BB) and two rubber washers (GG) from the lantern body (A) by unscrewing two finials (HH).

- Remove the mounting plate (BB) and two rubber washers (GG) from the lantern body (A) by unscrewing two finials (HH).
- Installing the mounting plate
DANGER: Ensure the power is off at the main fuse box prior to beginning installation.- Turn off the switch at the wall.
- Turn the power off at the main fuse box.
- Attach the mounting plate (BB) to the outlet box using the outlet box screws (CC).

- Connecting the wires
- Install the fixture bare copper ground wire (1) under the ground screw (EE) on the mounting plate (BB).
- Connect the fixture bare copper ground wire (1) to the green (or bare, or green and yellow) supply ground wire (2) in the outlet box using a wire nut (AA).
- Connect the white fixture wire (3) to the white (or ribbed) supply wire (4) in the outlet box using a wire nut (AA).
- Connect the black fixture wire (5) to the black (or red, or blue) supply wire (6) in the outlet box using a wire nut (AA).


- Installing the lantern
- Push all excess wires into the outlet box.
- Align the holes of the backplate with two mounting screws (DD), and then secure the fixture body (A) to the wall with two rubber washers (GG) and two finials (HH).

- Assembling the glass shade
- Remove the socket ring (E) and the cap (C) from the socket (B) by unscrewing the socket ring (E).
- Place the cap (C) onto the top of the glass shade (D).
- Place the cap (C) and the glass shade (D) over the socket (B), and then secure it with the socket ring (E).

- Installing the bulb
- Prior to installing the bulb, inspect the socket for a silica packet. If a packet is present, remove and throw away. Do not expose to children and pets.
- Install one 120V, 60HZ, 60-watt max. medium-base type A bulb (not included) into the socket (B).

- Sealing the mounting surface
- Apply silicone or RTV compound (not included) between the edges of the backplate and wall.

- Apply silicone or RTV compound (not included) between the edges of the backplate and wall.
Care and Cleaning
- Clean the light fixture with a soft, dry cloth. Do not use any cleaners with chemicals, solvents, or harsh abrasives.
Troubleshooting
| Problem | Possible Cause | Solution |
| The bulb will not light. |
|
|
|
| |
|
| |
|
| |
| The fuse blows or a circuit breaker trips when the light is turned on. |
|
|
Questions, problems, missing parts? Before returning to the store, call Hampton Bay Customer Service 8 a.m. – 7 p.m., EST, Monday – Friday, 9 a.m. – 6 p.m., EST, Saturday 1-855-HD-HAMPTON HAMPTONBAY.COM.
Retain this manual for future use.






















