
Item #1005 228 158
Model #5193805118
USE AND CARE GUIDE
OUTDOOR LED WALL LANTERN

Safety Information
Please read and understand this entire manual before attempting to operate or install the product.
NOTICE: This equipment has been tested and found to comply with the limits for a Class B digital device, pursuant to Part 15 of the FCC Rules. These limits are designed to provide reasonable protection against harmful interference in a residential installation. This equipment generates, uses, and can radiate radio frequency energy and, if not installed and used in accordance with the instructions, may cause harmful interference to radio communications. However, there is no guarantee that interference will not occur in a particular installation. If this equipment does cause harmful interference to radio or television reception, which can be determined by turning the equipment off and on, the user is encouraged to try to correct the interference by one or more of the following measures:
- Reorient or relocate the receiving antenna.
- Increase the separation between the equipment and receiver.
- Connect the equipment into an outlet on a circuit different from that to which the receiver is connected.
- Consult the dealer or an experienced radio/TV technician for help.
This device complies with Part 15 of the FCC Rules. Operation is subject to the following two conditions.
(1) This device may not cause harmful interference, and
(2) This device must accept any interference received, including interference that may cause undesired operation.
WARNING: This light fixture is designed to fit standard junction boxes as defined by the National Electrical Code.
WARNING: Consult a qualified electrician if you are not certain about the installation process. Always install wiring connections in accordance with local code, ordinances, and the National Electric Code.
WARNING: Changes or modifications to this unit not expressly approved by the party responsible for compliance could void the user’s authority to operate the equipment.
WARNING: Before installing this fixture, turn off all power to the fixture location by turning off the power at the main circuit breaker or fuse box.
Warranty
The manufacturer warrants this lighting fixture to be free from defects in materials and workmanship for a period of five (5) years (excluding the bulb) from the date of purchase. This warranty applies only to the original consumer purchaser and only to products used in normal use and service. If this product is found to be defective, the manufacturer’s only obligation, and your exclusive remedy, is the repair or replacement of the product at the manufacturer’s discretion, provided that the product has not been damaged through misuse, abuse, accident, modifications, alterations, neglect or mishandling. This warranty shall not apply to any product that is found to have been improperly installed, set up, or used in any way not in accordance with the instructions supplied with the product. This warranty shall not apply to a failure of the product as a result of an accident, misuse, abuse, negligence, alteration, faulty installation, or any other failure not relating to faulty material or workmanship. This warranty shall not apply to the finish on any portion of the product, due to weathering, as this is considered normal wear and tear. The manufacturer does not warrant and specifically disclaims any warranty, whether express or implied, of fitness for a particular purpose, other than the warranty contained herein. The manufacturer specifically disclaims any liability and shall not be liable for any consequential or incidental loss or damage, including but not limited to, any labor/expense costs involved in the replacement or repair of said product.
Contact the Customer Service Team at 1-800-986-3460 or visit WWW.HOMEDEPOT.COM/HOMEDECORATORS.
Pre-installation
PLANNING INSTALLATION
Before you begin to install this lighting fixture, ensure all parts are present. Compare parts with the Hardware Included and Package Contents lists. If any part is missing or damaged, do not attempt to assemble the product.
TOOLS REQUIRED

HARDWARE INCLUDED
NOTE: Hardware not shown to actual size.

| Part | Description | Quantity |
| AA | Screw | 2 |
| BB | Wire nut | 3 |
PACKAGE CONTENTS

| Part | Description | Quantity |
| A | Light fixture | 1 |
Installation
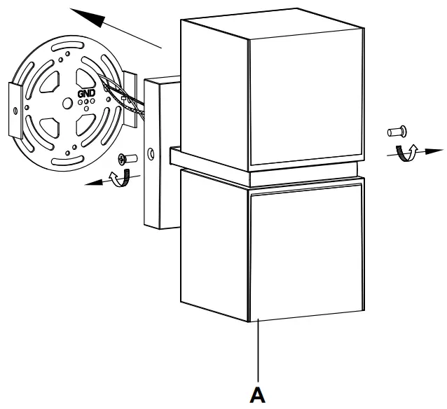
- Detaching the mounting plate
• Detach the mounting plate from the fixture (A) by unscrewing the screws pre-assembled in the fixture (A).
- Installing the mounting plate
CAUTION: Never rely on the wall switch alone to turn off the power.
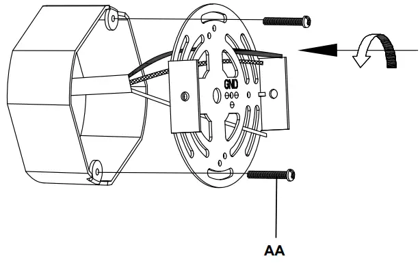
• Attach the mounting plate to the junction box using the screws (AA).
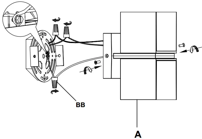
- Connecting the wires and installing the fixture
• Connect the ground wire from the junction box to the ground screw on the mounting plate. Then connect the ground wire from the junction box to the ground wire from the fixture (A).
• Connect the white wire from the junction box to the white wire from fixture (A) by twisting a wire nut (BB) onto the bare ends of the wires.
• Connect the black wire from the junction box to the black wire from the fixture (A) by twisting another wire nut (BB) onto the bare ends of the wires. Make sure wire connections are secure.
• Carefully place the wires into the junction box. Then secure the fixture (A) by screwing the screws removed in step 1.
NOTE: The ground wire is green.
- Sealing the fixture
• Apply silicone caulking adhesive (not included) completely around the perimeter of the fixture (A) where the back meets the mounting surface to prevent water from seeping into the junction box.

Care and Maintenance
CAUTION: Turn OFF all power to the circuit at the main circuit breaker or fuse box. DO NOT rely on a wall switch alone to turn off the power.
- This lantern provides years of maintenance-free service.
- To clean, turn OFF all power to the circuit and clean surfaces with a mild, non-abrasive cleaner.
Troubleshooting
| Problem | Probable Cause | Solution |
| The light does not illuminate. | There may be a poor connection between the light and the supply wires inside the junction box. | Check the wire connections. |
| There is no power going to the light. | Check that the switch is on and there is the power to the light fixture. |

Questions, problems, missing parts? Before returning to the store, call Home Decorators Collection Customer Service 8 a.m. – 7 p.m., EST, Monday – Friday, 9 a.m.- 6 p.m., EST, Saturday
1-800-986-3460
HOMEDEPOT.COM/HOMEDECORATORS
Retain this manual for future use.




















