MontPellier MS145W 145cm Tall Retro Fridge Freezer Instruction Manual
Welcome
Thank you for choosing this Montpellier appliance.
Our appliances have been designed to provide you with the best combination of style, reliability and performance to give you years of trouble-free use.
You may be familiar with a similar product, but please take time to read these instructions carefully before installing or using your appliance to ensure you get the most from your purchase.
We recommend that you keep this manual in a safe place for future
reference.
| Icon | Type | Meaning |
| WARNING | Serious injury or death risk |
![]() | RISK OF ELECTRIC SHOCK | Dangerous voltage risk |
![]() | FIRE | Warning; Risk of fire / flammable materials |
![]() | CAUTION | Injury or property damage risk |
![]() | IMPORTANT | Operating the system correctly |
SAFETY INSTRUCTIONS
SAFETY INSTRUCTIONS
General Safety Warning
Read this user manual carefully
WARNING: Keep ventilation openings, in the appliance enclosure or in the built-in structure, clear of obstruction.
WARNING: Do not use mechanical devices or other means to accelerate the defrosting process, other than those recommended by the manufacturer.
WARNING: Do not use electrical appliances inside the food storage compartments of the appliance, unless they are of the type recommended by the manufacturer.
WARNING: Do not damage the refrigerant circuit.
WARNING: When positioning the appliance, ensure the supply cord is not trapped or damaged.
WARNING: Do not locate multiple portable socket outlets or portable power supplies at the rear of the appliance.
WARNING: In order to avoid any hazards resulting from the instability of the appliance, it must be fixed in accordance with the instructions.
If your appliance uses R600a as a refrigerant (this information will be provided on the label of the cooler) you should take care during transportation and installation to prevent the cooler elements from being damaged. R600a is an environmentally friendly and EN – 5 natural gas, but it is explosive. In the event of a leak due to damage of the cooler elements, move your fridge away from open flames or heat sources and
ventilate the room where the appliance is located for a few minutes.
- While carrying and positioning the fridge, do not damage the cooler gas circuit.
- Do not store explosive substances such as aerosol cans with a flammable propellant in this appliance.
- This appliance is intended to be used in household and domestic applications only.
- If the socket does not match the refrigerator plug, it must be replaced by a service agent or similarly qualified persons in order to avoid a hazard.
- A specially grounded plug has been connected to the power cable of your refrigerator. This plug should be used with a specially grounded socket of 13 amperes. If there is no such socket in your house, please have one installed by an authorized electrician. EN – 6
- This appliance can be used by children aged from 8 years and above and persons with reduced physical, sensory or mental capabilities or lack of experience and knowledge if they have been given supervision or instruction concerning use of the appliance in a safe way and understand the hazards involved. Children shall not play with the appliance. Cleaning and user maintenance shall not be made by children without supervision.
- Children aged from 3 to 8 years are allowed to load and unload refrigerating appliances. Children are not expected to perform cleaning or user maintenance of the appliance, very young children (0-3 years old) are not expected to use appliances, young children (3-8 years old) are not expected to use appliances safely unless continuous supervision is given, older children (8-14 years old) and vulnerable people can use appliances safely after they have been given appropriate supervision or instruction concerning use of the appliance. Very vulnerable people are not expected to use appliances safely unless continuous supervision is given.
- If the supply cord is damaged, it must be replaced by the manufacturer, an authorized service agent or similar qualified persons, in order to avoid a hazard.
To avoid contamination of food, please respect the following instructions
- Opening the door for long periods can cause a significant increase of the temperature in the compartments of the appliance.
- Clean regularly surfaces that can come in contact with food and accessible drainage systems
- Store raw meat and fish in suitable containers in the refrigerator, so that it is not in contact with or drip onto other food.
- If the refrigerating appliance is left empty for long periods, switch off, defrost, clean, dry, and leave the door open to prevent mould developing within the appliance.
Installation warnings
Before using your fridge freezer for the first time, please pay attention to the following points:
- Make sure that the appliance is allowed to stand for a minimum of 2 hours if transported upright, 4 hours if the appliances has been laid down during transit before turning on for the first time to allow gas in the system to settle.
- The operating voltage for your fridge freezer is 220-240 V at 50Hz.
- The plug must be accessible after installation.
- Your fridge freezer may have an odour when it is operated for the first time. This is normal and the odour will fade when your fridge freezer starts to cool.
- Before connecting your fridge freezer, ensure that the information on the data plate (voltage and connected load) matches that of the mains electricity supply. If in doubt, consult a qualified electrician.
- Insert the plug into a socket with an efficient ground connection. If the socket has no ground contact or the plug does not match, we recommend you consult a qualified electrician for assistance.
- We do not accept responsibility for any damages that occur due to ungrounded usage.
- Place your fridge freezer where it will not be exposed to direct sunlight.
- Your fridge freezer must never be used outdoors or exposed to rain.
- Your appliance must be at least 50 cm away from stoves, gas ovens and heater cores, and at least 5 cm away from electrical ovens.
- If your fridge freezer is placed next to a deep freezer, there must be at least 2 cm between them to prevent humidity forming on the outer surface.
- Do not cover the body or top of fridge freezer with lace. This will affect the performance of your fridge freezer.
- Clearance of at least 150 mm is required at the top of your appliance. Do not place anything on top of your appliance.
- Do not place heavy items on the appliance.
- Clean the appliance thoroughly before use (see Cleaning and Maintenance).
- Before using your fridge freezer, wipe all parts with a solution of warm water and a teaspoon of sodium bicarbonate. Then, rinse with clean water and dry. Return all parts to the fridge freezer after cleaning.
- Use the adjustable front legs to make sure your appliance is level and stable.You can adjust the legs by turning them in either direction. This must be done before placing food in the appliance.
- Install the two plastic distance guides (the parts on the black vanes -condenser- at the rear) by turning it 90° (as shown in the figure) to prevent the condenser from touching the wall.
- The distance between the appliance and back wall must be a maximum of 75 mm.

Electrical information (For UK type plug)
Warning! This appliance must be earthed.
The mains lead of this appliance has been fitted with a specially earthed plug.
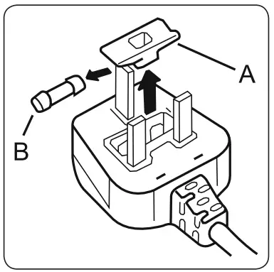
Important: Do not use the appliance without the fuse cover in position. Should the fuse need to be replaced, it must be replaced with a 13A fuse, ASTA approved to BS1362.
The plug must be used with a specially earthed socket of 13 amperes. If there is no such socket in your house, please have one installed by an authorized electrician.
The mains lead of this appliance has been fitted with a BS 1363A 13A fused plug. To change a fuse in this type of plug, follow the steps below:- Remove the fuse cover and fuse.
- Fit replacement 13A fuse, ASTA approved to BS 1362 type, into the fuse cover.
- Replace fuse cover.
During Usage
- Do not connect your fridge freezer to the mains electricity supply using an extension lead.
- Do not use damaged, torn or old plugs.
- Do not pull, bend or damage the cord.
- Do not use plug adapter.
- This appliance is designed for use by adults. Do not allow children to play with the appliance or hang off the door.
- Never touch the power cord/plug with wet hands. This may cause a short circuit or electric shock.
- Do not place glass bottles or cans in the ice-making compartment as they will burst when the contents freeze.
- Do not place explosive or flammable material in your fridge. Place drinks with high alcohol content vertically in the fridge compartment and make sure their tops are tightly closed.
- When removing ice from the ice-making compartment, do not touch it. Ice may cause frost burns and/or cuts.
- Do not touch frozen goods with wet hands. Do not eat ice-cream or ice cubes immediately after they are removed from the ice-making compartment.
- Do not re-freeze thawed frozen food. This may cause health issues such as food poisoning. Old and Out-of-order Fridges
- If your old fridge or freezer has a lock, break or remove the lock before discarding it, because children may get trapped inside it and may cause an accident.
- Old fridges and freezers contain isolation material and refrigerant with CFC. Therefore, take care not to harm environment when you are discarding your old fridges.
CE Declaration of conformity
We declare that our products meet the applicable European Directives, Decisions and Regulations and the requirements listed in the standards referenced.
Disposal of your old appliance
The symbol on the product or on its packaging indicates that this product may not be treated as household waste. Instead it shall be handed over to the applicable collection point for the recycling of electrical and electronic equipment. By ensuring this product is disposed of correctly, you will help prevent potential negative consequences for the environment and human health, which could otherwise be caused by inappropriate waste handling of this product. For more detailed information about recycling of this product, please contact your local city office, your household waste disposal service or the shop where you purchased the product.
Packaging and the Environment
Packaging materials protect your machine from damage that may occur during transportation. The packaging materials are environmentally friendly as they are recyclable. The use of recycled material reduces raw material consumption and therefore decreases waste production.
Notes
- Please read the instruction manual carefully before installing and using your appliance. We are not responsible for the damage occurred due to misuse.
- Follow all instructions on your appliance and instruction manual, and keep this manual in a safe place to resolve the problems that may occur in the future.
- This appliance is produced to be used in homes and it can only be used in domestic environments and for the specified purposes. It is not suitable for commercial or common use. Such use will cause the guarantee of the appliance to be cancelled and our company will not be responsible for any losses incurred.
- This appliance is produced to be used in houses and it is only suitable for cooling / storing foods. It is not suitable for commercial or common use and/or for storing substances except for food. Our company is not responsible for any losses incurred by inappropriate usage of the appliance.
General notes
Fresh Food Compartment (Fridge)
Most efficient use of energy is ensured in the configuration with the drawers in the bottom part of the appliance, and shelves evenly distributed, position of door bins does not affect energy consumption.
Freezer Compartment (Freezer): Most Efficient use of energy is ensured in the configuration with the drawers and bins are on stock position.
DESCRIPTION OF THE APPLIANCE
This appliance is not intended to be used as a built-in appliance.
This presentation is only for information about the parts of the appliance. Parts may vary according to the appliance model.
- A) Refrigerator compartment
- B) Freezer compartment
- Thermostat box
- Refrigerator shelves
- Crisper cover
- Crisper
- Freezer drawers
- Ice box tray
- Plastic ice scraper *
- Freezer glass shelves *
- Bottle shelf
- Egg holder
- Door shelves
Dimensions

| Overall dimensions 1 | ||
| H1 | mm | 1450,0 |
| W1 | mm | 497,0 |
| D1 | mm | 560,0 |
| 1. the height, width and depth of the appliance without the handle. | ||
| Space required in use 2 | ||
| H2 | mm | 1600,0 |
| W2 | mm | 597,0 |
| D2 | mm | 657,8 |
| 2. the height, width and depth of the appliance including the handle, plus the space necessary for free circulation of the cooling air. | ||
| Overall space required in use 3 | ||
| W3 | mm | 604,8 |
| D3 | mm | 538,0 |
| 3. the height, width and depth of the appliance including the handle, plus the space necessary for free circulation of the cooling air, plus the space necessary to allow door opening to the minimum vangle permitting removal of all internal equipment. | ||
USING THE APPLIANCE
Information on Less Frost Technology
Thanks to the wrap around evaporator, Less Frost technology offers more efficient cooling, less manual defrost requirement, and more flexible storage room.
Thermostat Setting
- The thermostat automatically regulates the temperature inside the refrigerator and freezer compartments. Cooler temperatures can be obtained by rotating the knob to higher numbers, 1 to 5.
Important note: Do not try to rotate the knob beyond position 1, it will stop your appliance from working.
Thermostat Settings - Set the knob to a low/medium position, up to 3, for short-term storage of food in the appliance.
- Set the knob to a medium position, 3 or 4, for long-term storage of food in the appliance.
- Set the knob to 5 position for freezing the fresh food. The appliance will run for colder temperatures.
Super Switch: This switch can be used as a Super Freeze or Winter Switch.
Super Freezing: The switch can be used as a Super Freeze switch for fast freezing of fresh food. For maximum freezing capacity this switch should be turned on 24 hours before placing fresh food in the freezer. To save energy this switch should be turned off as soon as the food is frozen, or a MAXIMUM of 24 hours after placing fresh food in the freezer.
Winter Switch:
If the ambient temperature is below 16°C, this switch shall be used as a winter switch and it keeps your fridge above 0oC while the freezer is below -18oC in low ambient. ONLY use in low ambient temperatures and make sure that once the temperature has returned to above 16°C the switch is turned off to save Energy and maintain optimum performance. If the ambient temperature is below 16°C, this switch shall be used as a winter switch and it keeps your fridge above 0oC while the freezer is below -18oC in low ambient. ONLY use in low ambient temperatures and make sure that once the temperature has returned to above 16°C the switch is turned off to save Energy and maintain optimum performance.
Temperature Settings Warnings
- The ambient temperature, temperature of the freshly stored food and how often the door is opened affects the temperature in the refrigerator compartment. If required, change the temperature setting.
- It is not recommended that you operate your fridge in environments colder than 10°C in terms of its efficiency.
- When setting the thermostat, take into consideration how often the appliance doors are opened and closed, how much food is stored in the refrigerator, and the
environment in which the refrigerator is located. - When the appliance is first switched on, allow it to run for 24 hours in order to reach operating temperature. During this time, do not open the door and do not keep a large quantity of food inside.
- Unplug your appliance during a power cut to prevent damage to the compressor. Once power is restored, delay plugging in your appliance for 5 to 10 minutes. This will help prevent damage to the appliance’s components.
- Your appliance is designed to operate in the ambient temperature ranges stated in the standards, according to the climate class stated in the information label. It is not recommended that your fridge is operated in the environments which are outside of the stated temperature ranges. This will reduce the cooling efficiency of the appliance.
Climate class and meaning
T (tropical): This refrigerating appliance is intended to be used at ambient temperatures ranging from 16 °C to 43 °C.
ST (subtropical): This refrigerating appliance is intended to be used at ambient temperatures ranging from 16 °C to 38 °C.
N (temperate): This refrigerating appliance is intended to be used at ambient temperatures ranging from 16 °C to 32 °C.
SN (extended temperate): This refrigerating appliance is intended to be used at ambient temperatures ranging from 10 °C to 32 °C
Accessories
Visual and text descriptions in the accessories section may vary according to the model of your appliance.
Ice Tray
Fill the ice tray with water and place in the freezer compartment.
After the water has completely frozen, you can twist the tray as shown below to remove the ice cubes.

The Plastic Scraper
After some time, frost will build up in certain areas of the freezer. The frost accumulated in the freezer should be removed regularly. Use the plastic scraper provided, if necessary. Do not use sharp metal objects for this operation. They could puncture the refrigerator circuit and cause irreparable damage to the unit.
The Freezer Box
The freezer box allows food to be accessed
more easily
Removing the freezer box:
- Pull the box out as far as possible
- Pull the front of the box up and out
Carry out the opposite of this operation when refitting the sliding compartment.
Always keep hold of the handle of the box while removing it.
FOOD STORAGE
Refrigerator Compartment
- To reduce humidity and avoid the consequent formation of frost, always store liquids in sealed containers in the refrigerator. Frost tends to concentrate in the coldest parts of the evaporating liquid and, in time, your appliance will require more frequent defrosting.
- Never place warm food in the refrigerator. Warm food should be allowed to cool at room temperature and should be arranged to ensure adequate air circulation in the refrigerator compartment.
- Make sure no items are in direct contact with the rear wall of the appliance asfrost will develop and packaging will stickto it. Do not open the refrigerator door frequently.
- We recommend that meat and clean fish are loosely wrapped and stored on the glass shelf just above the vegetable bin where the air is cooler, as this provides the best storage conditions.
- Store loose fruit and vegetable items in the crisper containers.
- Store loose fruit and vegetables in the crisper.
- Storing fruit and vegetables separately helps prevent ethylene-sensitive vegetables (green leaves, broccoli, carrot, etc.) being affected by ethylene releaser fruits (banana, peach, apricot, fig etc.).
- Do not put wet vegetables into the refrigerator.
- Storage time for all food products depends on the initial quality of the food and an uninterrupted refrigeration cycle before refrigerator storage.
- To avoid cross-contamination do not store meat products with fruit and vegetables. Water leaking from meat may contaminate other products in the refrigerator. You should package meat products and clean any leakages on the shelves.
- Do not put food in front of the air flow passage.
- Consume packaged foods before the recommended expiry date.
NOTE: Potatoes, onions and garlic should not be stored in the refrigerator. - For normal working conditions, it will be sufficient to adjust the temperature setting of your refrigerator to +4 °C.
- The temperature of the fridge compartment should be in the range of 0-8 °C, fresh foods below 0 °C are iced and rotted, bacterial load increases above 8 °C, and spoils.
- Do not put hot food in the refrigerator immediately, wait for the temperature to pass outside. Hot foods increase the degree of your refrigerator and cause food poisoning and unnecessary spoiling of the food.
- Meat, fish, etc. should be store in the chiller compartment of the food, and the vegetable compartment is preferred for vegetables. (if available)
- To prevent cross contamination, meat products and fruit vegetables are not stored together.
- Foods should be placed in the refrigerator in closed containers or covered to prevent moisture and odors.
The table below is a quick guide to show you the most efficient way to store the major food groups in your refrigerator compartment.
| Food | Maximum storage time | How and where to store |
| Vegetables and fruits | 1 week | Vegetable bin |
| Meat and fish | 2 – 3 days | Wrap in plastic foil, bags, or in a meat container and store on the glass shelf |
| Fresh cheese | 3 – 4 days | On the designated door shelf |
| Butter and margarine | 1 week | On the designated door shelf |
| Food | Maximum storage time | How and where to store |
| Vegetables and fruits | 1 week | Vegetable bin |
| Bottled products e.g. milk and yoghurt | Until the expiry date recommended by the producer | On the designated door shelf |
| Eggs | 1 month | On the designated egg shelf |
| Cooked food | 2 days | All shelves |
Freezer Compartment
- The freezer is used for storing frozen food, freezing fresh food, and making ice cubes.
- For freezing fresh food; wrap and seal fresh food properly, that is the packaging should be air tight and shouldn’t leak. Special freezer bags, aluminum foil polythene bags and plastic containers are ideal.
- Do not store fresh food next to frozen food as it can thaw the frozen food.
- Before freezing fresh food, divide it into portions that can be consumed in one sitting.
- Consume thawed frozen food within a short period of time after defrosting
- Never place warm food in the freezer compartment as it will thaw the frozen food.
- Always follow the manufacturer’s instructions on food packaging when storing frozen food. If no information is provided food, should not be stored for more than 3 months from the date of purchase.
- When purchasing frozen food, make sure that it has been stored under appropriate conditions and that the packaging is not damaged.
- Frozen food should be transported in appropriate containers and placed in the freezer as soon as possible.
- Do not purchase frozen food if the packaging shows signs of humidity and abnormal swelling. It is probable that it has been stored at an unsuitable temperature and that the contents have deteriorated.
- The storage life of frozen food depends on the room temperature, the thermostat setting, how often the door is opened, the type of food, and the length of time required to transport the product from the shop to your home. Always follow the instructions printed on the packaging and never exceed the maximum storage life indicated.
- The maximum amount of fresh food (in kg) that can be frozen in 24 hours is indicated on the appliance label.
- To use the maximum capacity of the freezer compartment, use the glass shelves for the upper and middle section, and use the lower basket for the bottom section.
- Use the fast freezing shelf to freeze home cooking (and any other food which needs to be frozen quickly) more quickly because of the freezing shelf’s greater freezing power. Fast freezing shelf is the bottom drawer of the freezer compartment.
NOTE: If you attempt to open the freezer door immediately after closing it, you will find that it will not open easily. This is normal. Once equilibrium has been reached, the door will open easily.
Important note: - Never refreeze thawed frozen food.
- The taste of some spices found in cooked dishes (anise, basilica, watercress, vinegar, assorted spices, ginger, garlic, onion, mustard, thyme, marjoram, black pepper, etc.) changes and they assume a strong taste when they are stored for along period of time. Therefore, add small amounts of spices to food to be frozen, orthe desired spice should be added after the food has thawed.
- The storage time of food is dependent on the type of oil used. Suitable oils are margarine, calf fat, olive oil and butter. Unsuitable oils are peanut oil and pig fat.
Food in liquid form should be frozen in plastic cups and other food should be frozen in plastic folios or bags.
The table below is a quick guide to show you the most efficient way to store the major food groups in your freezer compartment.
| Meat and fish | Preparation | Maximum storage time (months) |
| Steak | Wrap in foil | 6 – 8 |
| Lamb meat | Wrap in foil | 6 – 8 |
| Veal roast | Wrap in foil | 6 – 8 |
| Veal cubes | In small pieces | 6 – 8 |
| Lamb cubes | In pieces | 4 – 8 |
| Minced meat | In packaging without using spices | 1 – 3 |
| Giblets (pieces) | In pieces | 1 – 3 |
| Bologna sausage/salami | Should be kept packaged even if it has a membrane | |
| Chicken and turkey | Wrap in foil | 4 – 6 |
| Goose and duck | Wrap in foil | 4 – 6 |
| Deer, rabbit, wild boar | In 2.5 kg portions or as fillets | 6 – 8 |
| Freshwater fish (Salmon, Carp, Crane, Catfish) | After cleaning the bowels and scales of the fish, wash and dry it. If necessary, remove the tail and head. | 2 |
| Lean fish (Bass, Turbot, Flounder) | 4 | |
| Fatty fishes (Tuna, Mackerel, Bluefish, Anchovy) | 2 – 4 | |
| Shellfish | Clean and in a bag | 4 – 6 |
| Caviar | In its packaging, or in an aluminum or plastic container | 2 – 3 |
| Snails | In salty water, or in an aluminum or plastic container | 3 |
| NOTE: Thawed frozen meat should be cooked as fresh meat. If the meat is not cooked after defrosting, it must not be re-frozen. | ||
NOTE: Thawed frozen meat should be cooked as fresh meat. If the meat is not cooked after defrosting, it
must not be re-frozen.
| Vegetables and Fruits | Preparation | Maximum storage time (months) |
| String beans and beans | Wash, cut into small pieces and boil in water | 10 – 13 |
| Beans | Hull, wash and boil in water | 12 |
| Cabbage | Clean and boil in water | 6 – 8 |
| Carrot | Clean, cut into slices and boil in water | 12 |
| Pepper | Cut the stem, cut into two pieces, remove the core and boil in water | 8 – 10 |
| Spinach | Wash and boil in water | 6 – 9 |
| Cauliflower | Remove the leaves, cut the heart into pieces and leave it in water with a little lemon juice for a while | 10 – 12 |
| Eggplant | Cut into pieces of 2cm after washing | 10 – 12 |
| Corn | Clean and pack with its stem or as sweet corn | 12 |
| Apple and pear | Peel and slice | 8 – 10 |
| Apricot and Peach | Cut into two pieces and remove the stone | 4 – 6 |
| Vegetables and Fruits | Preparation | Maximum storage time (months) |
| Strawberry and Blackberry | Wash and hull | 8 – 12 |
| Cooked fruits | Add 10 % of sugar to the container | 12 |
| Plum, cherry, sour berry | Wash and hull the stems | 8 – 12 |
| Maximum storage time (months) | Thawing time at room temperature (hours) | Thawing time in oven (minutes) | |
| Bread | 4 – 6 | 2 – 3 | 4-5 (220-225 °C) |
| Biscuits | 3 – 6 | 1 – 1,5 | 5-8 (190-200 °C) |
| Pastry | 1 – 3 | 2 – 3 | 5-10 (200-225 °C) |
| Pie | 1 – 1,5 | 3 – 4 | 5-8 (190-200 °C) |
| Phyllo dough | 2 – 3 | 1 – 1,5 | 5-8 (190-20 °C) |
| Pizza | 2 – 3 | 2 – 4 | 15-20 (200 °C) |
| Dairy products | Preparation | Maximum storage time (months) | Storage conditions |
| Packet (Homogenized) Milk | In its own packet | 2 – 3 | Pure Milk – in its own packet |
| Cheese – excluding white cheese | In slices | 6 – 8 | Original packaging may be used for short-term storage. Keep wrapped in foil for longer periods. |
| Butter, margarine | In its packaging | 6 |
CLEANING AND MAINTENANCE
Disconnect the unit from the power supply before cleaning.
Do not wash your appliance by pouring water on it.
Do not use abrasive products, detergents or soaps for cleaning the appliance. After washing, rinse with clean water and dry carefully. When you have finished cleaning, reconnect the plug to the mains supply with dry hands.- Make sure that no water enters the lamp housing and other electrical components.
- The appliance should be cleaned regularly using a solution of bicarbonate of soda and lukewarm water.
- Clean the accessories separately by hand with soap and water. Do not wash accessories in a dish washer.
- Clean the condenser with a brush at least twice a year. This will help you to save on energy costs and increase productivity.
![]()
The power supply must be disconnected during cleaning.
Defrosting
Defrosting the Refrigerator Compartment

- Defrosting occurs automatically in the refrigerator compartment during operation. The water is collected by the evaporation tray and evaporates automatically.
- The evaporation tray and the water drain hole should be cleaned periodically with the defrost drain plug to prevent the water from collecting at the bottom of the refrigerator instead of flowing out.
- You can also clean the drain hole by pouring half a glass of water down it.
Freezer defrosting process
- Small amounts of frost will accumulate inside the freezer, depending on the length of time the door may be left open or the amount of moisture introduced. It is essential to ensure that no frost or ice is allowed to form in places where it will affect the close fitting of the door seal. This might allow air to penetrate the cabinet, encouraging continuous running of the compressor. Thin frost formation is quite soft and can be removed with a brush or plastic scraper. Do not use metal or sharp scrapers, mechanical devices or other means to accelerate the defrosting process. Remove all dislodged frost from the cabinet floor. It is not necessary to switch off the appliance for the removal of thin frost.
- For the removal of heavy ice deposits, disconnect the appliance from the mains supply, empty the contents into cardboard boxes and wrap in thick blankets or layers of paper to keep cool. Defrosting will be most effective if carried out when the freezer is nearly empty and should be carried out as quickly as possible to prevent an unnecessary increase in the temperature of the contents.
- Do not use metal or sharp scrapers, mechanical devices or other means to accelerate the defrosting process. An increase in temperature of frozen food during defrosting will shorten the storage life. Keep contents well wrapped and cool while defrosting is taking place.

- Dry the inside of the compartment with a sponge or a clean cloth.
- To accelerate the defrosting process, place one or more bowls of warm water in the freezer compartment.
- Examine the contents when replacing them in the freezer and if some of the packages have thawed out, they should be eaten within 24hours, or be cooked and re-frozen.
- After defrosting is complete, clean the inside of the appliance with a solution of warm water and a little bicarbonate of soda, then dry thoroughly. Wash all removable parts in the same way and reassemble. Reconnect the appliance to the mains supply and leave for 2 to 3 hours on setting number ‘5’ before introducing the food back into the freezer.
Replacing LED Lighting
If your appliance has LED lighting contact the help desk as this should be changed by authorized personnel only
SHIPMENT AND REPOSITIONING
Transportation and Changing Positioning
- The original packaging and foam may be kept for re-transportation (optional).
- Fasten your appliance with thick packaging, bands or strong cords and follow the instructions for transportation on the packaging.
- Remove all movable parts (shelves, accessories, vegetable bins, and so on) or fix them into the appliance against shocks using bands when re-positioning or transporting.
Always carry your appliance in the upright position
Repositioning the Door
- It is not possible to change the opening direction of your appliance door if door handles are installed on the front surface of the appliance door.
- It is possible to change the opening direction of the door on models without handles.
- If the door-opening direction of your appliance can be changed, contact the nearest Authorised Service Centre to change the opening direction.
BEFORE CALLING AFTERSALES SERVICE
If your refrigerator is not working properly, there may be a minor problem. Check the following.
The appliance does not operate Check if:
- There is power
- The mains is connected
- The thermostat setting is on the “•” position
- The socket is defective. To check this, plug another working appliance into the same socket.
The appliance performs poorly Check if
- The appliance is overloaded
- The doors are closed properly
- There is any dust on the condenser
- There is enough space near the rear and side walls.
The appliance is noisy
The cooling gas which circulates in the refrigerator circuit may make a slight noise (bubbling sound) even when the compressor is not running. Do not worry, this is normal. If you hear a different sound, check whether:
- The appliance is level
- Anything is touching the rear of the appliance
- Objects in the appliance are vibrating
Your refrigerator is operating noisily
The following noises can be heard during normal operation of the appliance
Cracking (ice cracking) noise occurs:
- During automatic defrosting.
- When the appliance is cooled or warmed (due to expansion of appliance material).
Clicking noise occurs: When the thermostat switches the compressor on/ off.
Motor noise: Indicates the compressor is operating normally. The compressor may cause more noise for a short time when it is first activated
Bubbling noise and splashing occurs: Due to the flow of the refrigerant in the tubes of the system.
Water flowing noise occurs: Due to water flowing to the evaporation container. This noise is normal during defrosting.
There is water in the lower part of the refrigerator or on the shelves.
As this is a Wet Wall fridge you will find under normal operation that moisture within the fridge will freeze to the back wall forming ice during the cooling phase (see below image). Once the appliance has reached the required temperature it will then stop running and go in to it’s AutoDefrost mode within the fridge compartment which will mean that the ice on the back wall will start to defrost and form water droplets that will then run down the rear wall and in to the defrost channel.
Check if:
The drain hole for the water is not clogged (use a defrost drain plug to clean the drain hole if blocked).
Make sure that nothing is touching the back wall as this will cause water to run on to shelves or bypass the drain hole, also if anything is touching the back wall it will freeze to the wall during the cooling phase.
Rear wall showing Ice Droplets during Cooling Phase.
Recommendations
- If the appliance is switched off or unplugged, wait at least 5 minutes before plugging the appliance in or restarting it in order to prevent damage to the compressor.
- The cooling unit of your refrigerator is located at the rear of the appliance. Therefore, water droplets or ice may form on the rear surface of your fridge due to the operation of the compressor at specified intervals. This is normal, there is no need to perform a defrosting operation unless there is excessive ice.
- If you do not intend to use your fridge for a long period of time (such as during the summer holidays), set the thermostat to “•” position, defrost and clean your fridge, leaving the door open to prevent the formation of mildew and odour.
- If a problem persists after you have followed all the above instructions, please consult the nearest authorised service centre.
- The appliance you have purchased is designed for domestic use only. It is not suitable for commercial or common use. If the consumer uses the appliance in a way that does not comply with this, we emphasise that the manufacturer and the dealer will not be responsible for any repair and failure within the guarantee period.
TIPS FOR SAVING ENERGY
- Install the appliance in a cool, wellventilated room, but not in direct sunlight and not near a heat source (such as a radiator or oven) otherwise an insulating plate should be used.
- Allow warm food and drinks to cool before placing them inside the appliance.
- Place thawing food in the refrigerator compartment. The low temperature of the frozen food will help cool the refrigerator compartment while the food is thawing. This will save energy. Frozen food left to thaw outside of the appliance will result in a waste of energy.
- Drinks or other liquids should be covered when inside the appliance. If left uncovered, the humidity inside the appliance will increase, therefore the appliance uses more energy. Keeping drinks and other liquids covered helps preserve their smell and taste.
- Avoid keeping the doors open for long periods and opening the doors too frequently as warm air will enter the appliance and cause the compressor to switch on unnecessarily often.
- Keep the covers of the different temperature compartments (such as the crisper and chiller) closed.
- The door gasket must be clean and pliable. In case of wear, replace the gasket.
- Energy consumption of your appliance is declared with drawers and without a load in freezer compartment.
TECHNICAL DATA
The technical information is situated in the rating plate on the internal side of the appliance and on the energy label. The QR code on the energy label supplied with the appliance provides a web link to the information related to the performance of the appliance in the EU EPREL database. Keep the energy label for reference together with the user manual and all other documents provided with this appliance. It is also possible to find the same information in EPREL using the link https:// eprel.ec.europa.eu and the model name and product number that you find on the rating plate of the appliance. See the link www.theenergylabel.eu for detailed information about the energy label.
INFORMATION FOR TEST INSTITUTES
Appliance for any EcoDesign verification shall be compliant with EN 62552. Ventilation requirements, recess dimensions and minimum rear clearances shall be as stated in this User Manual at Chapter 2. Please contact the manufacturer for any other further information, including loading plans.
Montpellier
Product Information Sheet
COMISSION DELEGATE REGULATION (EU) 2019/2016
Montpellier Domestic Appliances Ltd. Unit1, Tewkesbury Retail Park, Northway Lane, Tewkesbury, Gloucestershire GL20 8JU
| Model identifier: MS145W | |||||
| Type of refrigerating appliance: | |||||
| Low-noise appliance: | No | Design type: | freestanding | ||
| Wine storage appliance: | No | Other refrigerating appliance: | Yes | ||
| General product parameters: | |||||
| Parameter | Value | Parameter | Value | ||
| Overall dimensions (millimetre) | Height | 1450 | Total volume (dm’ or I) | 174 | |
| Width | 497 | ||||
| Depth | 560 | ||||
| EEI | 125 | Energy efficiency class | F | ||
| Airborne acoustical noise emissions(dB(A) re 1 pW) | 39 | Airbome acoustical noise emission class | C | ||
| Annual energy consumption (kWh/a) | 245 | Climate class: | temperate | ||
| Minimum ambient temperature (PC), for which the refrigerating appliance is suitable | 16 | Maximum ambient temperature (PC), for which the refrigerating appliance is suitable | 32 | ||
| Winter setting | No | ||||
| Compartment Parameters: | |||||
| Compartment type | Compartment parameters and values | ||||
| Compartment volume (dm’ or I ) | Recommended temperature setting for optimised food storage (QC) These settings shall not contradict the storage conditions set out in Annex IV, Table 3 | Freezing capacity (kg/24h) | Defrosting type (auto-defrost.A, manual defrost.M) | ||
| Pantry | No | – | |||
| Wine storage | No | – | |||
| Cellar | No | – | – | ||
| Fresh food | Yes | 113 | 4 | A | |
| Chill | No | ||||
| 0-star or ice-making | No | ||||
| 1-star | No | – | – | – | – |
| 2-star | No | – | – | – | – |
| 3-sta r | No | – | – | – | – |
| 4-star | Yes | 61 | -18 | 3. | M |
| 2-star section | No | – | – | – | – |
| Variable temperature cornpartment | – | – | – | – | – |
| For 4-star compartments | |||||
| Fast freeze facility | Yes | ||||
| Light source parameters: | |||||
| Type of light source | Lighting technology used: LED; Non-directional or directional: NDLS; Mains or non-mains: NMLS; Connected light source (CLS): No; Colour-tuneable light source: No; Envelope: -; High luminance light source: No; Anti-glare shield: No; Dimmable: No | ||||
| Energy efficiency class | F | ||||
| Minimum duration of the guarantee offered by the manufacturer: 24 months | |||||
| Additional information: | |||||
| Weblink to the manufacturer’s website, where the information in point4(a) Annex of Commission Regulation (EU) 2019/2019 is found: https://www.montpellier-appliances.com/product-details/montpellier-ms145w/ | |||||
Here For You
After-sales assistance
If you continue to experience problems with your appliance, please call the Montpellier customer service helpline on: 01759 487839
Please have all your product details available, including the model number, serial number, original sales invoice (clearly showing model number, date of purchase and your retailer’s details) before registering a fault.
The service call cannot progress without this information.
Your 2 year Manufacturer’s guarantee
THIS DOES NOT AFFECT YOUR STATUTORY RIGHTS.
Your new Montpellier appliance carries a free guarantee which protects you against the cost of repairs during the first 24months fromdateof purchase provided that:
Any claim is accompanied by evidence of the model reference, model serial number and proof of purchase, such as a Sales Receipt, showing that the appliance was purchased within the 24 months prior to the date of claim.
What is not covered under the Guarantee
- Any appliance not correctly installed and operated in accordance with the manufacturer’s instructions
- Any appliance that is used for anything other than domestic purposes.
Any defect caused by accident, misuse, unauthorised modification or inexpert repair. - Cost of Call-out where a fault cannot be found with the appliance.
Cost of Call-out for work covering routine maintenance, such as, but not exclusively, cleaning of filters or defrosting. - Cost of Call-out for work required to correct the alignment of doors following door reversal procedures carried out by you.
Use of the appliance by anyone other than the Householder.
Use in any commercial environment. - Consumable items, such as, but not exclusively, fuses in plugs, bulbs and breakable items which require routine replacement.
Repair costs incurred that have not been authorised by Montpellier service and/or carried out by a nonapproved Montpellier engineer. - Montpellier Appliances do not accept claims for consequential loss, rusting, corroding, delivery damage or scratches.
YOUR GUARANTEE IS VALID ONLY IN THE UK.
To register your appliance simply complete the card in your appliance pack and return it with a stamp affixed or alternatively you can register on line at www,montpellierappliances.com/support
SERVICE HELP-LINE
Should your appliance develop a fault, please call the Montpellier customer service helpline on:
01759 487839
Please remember to have all your product details available, including the model number, serial number, date of purchase and your retailer’s details before registering a fault.
Montpellier Domestic Appliances Ltd.
Unit 1, Tewkesbury Retail Park, Northway Lane,
Tewkesbury, Gloucestershire GL20 8JU
www.montpellier-appliances.com
The symbol on the product or on its packaging indicates that this product may not be treated as household waste. Instead it shall be handed over to the applicable collection point for the recycling of electrical and electronic equipment. By ensuring this product is disposed of correctly, you will help prevent potential negative consequences for the environment and human health, which could otherwise be caused by inappropriate waste handling of this product.
For more detailed information about recycling of this product, please contact your local city office, your household waste disposal service or the shop where you purchased the product.
References
Home appliances & white goods specialists | Montpellier
Home appliances & white goods specialists | Montpellier
APPLiA Europe | The new Energy Label | Belgium
Home appliances & white goods specialists | Montpellier
Montpellier MS145W Low Frost Fridge Freezer in White - Montpellier Domestic Appliances Ltd


























