THE PERFECT BALANCE OF FUNCTION AND STYLE
LAUNDRY – DISHWASHING – COOKING – COOLING
Installation and Operating Instructions
183cm Frost Free Fridge Freezer
MFF185DW (White) – MFF185DX (Inox)
Please read these instructions carefully before attempting to install or use this appliance.
We recommend that you keep these instructions in a safe place for future reference.
Welcome
Thank you for choosing this Montpellier appliance.
Our appliances have been designed to provide you with the best combination of style, reliability, and performance to give you years of trouble-free use.
You may be familiar with a similar product, but please take time to read these instructions carefully before installing or using your appliance to ensure you get the most from your purchase.
2 YEAR GUARANTEE
PARTS & LABOUR
ACROSS ALL OUR MODELS
www.montpellier-appliances.com
We recommend that you keep this manual in a safe place for future reference.
Your appliance is covered by a comprehensive two-year Parts & Labour Guarantee. In the unlikely event that you experience a problem with your appliance, you can rest assured that you are fully protected against the cost of repairs for the first 24 months. Please note that any claim must be accompanied by the model reference number, serial number, and proof of purchase.
To activate your guarantee, you will need your product serial number. This can be found inside your appliance.
NB: Please make sure that you keep a copy of your original sales invoice as this will be needed if any service call is required.
There are three ways to register your Guarantee:
- Online: Visit the Support page on our website and complete the online Product Registration form. www.montpellier-appliances.com
- By Post: Simply detach and fill in the form provided, attach a stamp and send it in the post. Don’t forget to include your e-mail address so that we can send confirmation to you.
- By Phone: Contact our warranty registration department on 0808 1961388
| Icon | Type | Meaning |
![]() | WARNING | Serious injury or death risk |
| RISK OF ELECTRIC SHOCK | Dangerous voltage risk | |
| FIRE | Warning; Risk of fire / flammable materials | |
| CAUTION | Injury or property damage risk | |
| IMPORTANT | Operating the system correctly |
SAFETY INSTRUCTIONS
1.1 General Safety Warnings
Read this user manual carefully.
WARNING: Make sure that the appliance is left to stand for a minimum of 4 hours before being turned on for the first time.
WARNING: Keep ventilation openings in the appliance enclosure or in the built-in structure clear of obstruction.
WARNING: Do not use mechanical devices or other means to accelerate the defrosting process, other than those recommended by the manufacturer.
WARNING: Do not use electrical appliances inside the food storage compartments of the appliance, unless they are of the type recommended by the manufacturer.
WARNING: Do not damage the refrigerant circuit.
WARNING: When positioning the appliance, ensure the supply cord is not trapped or damaged.
WARNING: Do not locate multiple portable socket outlets or portable power supplies at the rear of the appliance.
WARNING: In order to avoid any hazards resulting from the instability of the appliance, it must be fixed in accordance with the instructions.
If your appliance uses R600a as a refrigerant (this information will be provided on the label of the cooler) you should take care during transportation and installation to prevent the cooler elements from being damaged. R600a is an environmentally friendly and natural gas, but it is explosive. In the event of a leak due to damage to the cooler elements, move your fridge away from open flames or heat sources and ventilate the room where the appliance is located for a few minutes.
- While carrying and positioning the fridge, do not damage the cooler gas circuit.
- Do not store explosive substances such as aerosol cans with a flammable propellant in this appliance.
- This appliance is intended to be used in household and domestic applications only.
- If the socket does not match the refrigerator plug, it must be replaced by a service agent or similarly qualified persons in order to avoid a hazard.
- A specially grounded plug has been connected to the power cable of your refrigerator. This plug should be used with a specially grounded socket of 13 amperes. If there is no such socket in your house, please have one installed by an authorized electrician.
- This appliance can be used by children aged 8 years and above and persons with reduced physical, sensory or mental capabilities or lack of experience and knowledge if they have been given supervision or instruction concerning the use of the appliance in a safe way and understand the hazards involved.
Children shall not play with the appliance. Cleaning and user maintenance shall not be made by children without supervision. - Children aged from 3 to 8 years are allowed to load and unload refrigerating appliances. Children are not expected to perform cleaning or user maintenance of the appliance, very young children (0-3 years old) are not expected to use appliances, and young children (3-8 years old) are not expected to use appliances safely unless continuous supervision is given, older children (8-14 years old) and vulnerable people can use appliances safely after they have been given appropriate supervision or instruction concerning use of the appliance. Very vulnerable people are not expected to use appliances safely unless continuous supervision is given.
- If the supply cord is damaged, it must be replaced by the manufacturer, an authorized service agent, or similarly qualified persons, in order to avoid a hazard.
To avoid contamination of food, please respect the following instructions:
- Opening the door for long periods can cause a significant increase in the temperature in the compartments of the appliance.
- Clean regularly surfaces that can come in contact with food and accessible drainage systems
- Store raw meat and fish in suitable containers in the refrigerator, so that it is not in contact with or drip onto other food.
- If the refrigerating appliance is left empty for long periods, switch off, defrost, clean, dry, and leave the door open to prevent mold from developing within the appliance.
Water dispenser
Clean water tanks if they have not been used for 48h
1.2 Installation warnings
Before using your fridge freezer for the first time, please pay attention to the following points:
- The operating voltage for your fridge freezer is 220-240 V at 50Hz.
- The plug must be accessible after installation.
- Your fridge freezer may have an odor when it is operated for the first time. This is normal and the odor will fade when your fridge freezer starts to cool.
- Before connecting your fridge freezer, ensure that the information on the data plate (voltage and connected load) matches that of the mains electricity supply. If in doubt, consult a qualified electrician.
- Insert the plug into a socket with an efficient ground connection. If the socket has no ground contact or the plug does not match, we recommend you consult a qualified electrician for assistance.
- The appliance must be connected with a properly installed fused socket.
The power supply (AC) and voltage at the operating point must match the details on the nameplate of the appliance (the nameplate is located on the inside left of the appliance). - We do not accept responsibility for any damages that occur due to ungrounded usage.
- Place your fridge freezer where it will not be exposed to direct sunlight.
- Your fridge freezer must never be used outdoors or exposed to rain.
- Your appliance must be at least 50 cm away from stoves, gas ovens, and heater cores, and at least 5 cm away from electrical ovens.
- If your fridge freezer is placed next to a deep freezer, there must be at least 2 cm between them to prevent humidity from forming on the outer surface.
- Do not cover the body or top of the fridge freezer with lace. This will affect the performance of your fridge freezer.
- Clearance of at least 150 mm is required at the top of your appliance. Do not place anything on top of your appliance.
- Do not place heavy items on the appliance.
- Clean the appliance thoroughly before use (see Cleaning and Maintenance).
- Before using your fridge freezer, wipe all parts with a solution of warm water and a teaspoon of sodium bicarbonate. Then, rinse with clean water and dry. Return all parts to the fridge freezer after cleaning.
1.3 Electrical information (For UK type plug)
Warning! This appliance must be earthed.
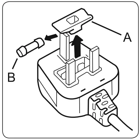
The mains lead of this appliance has been fitted with a specially earthed plug.![]()
Important: Do not use the appliance without the fuse cover in position. Should the fuse need to be replaced, it must be replaced with a 13A fuse, ASTA approved to BS1362.
The plug must be used with a specially earthed socket of 13 amperes. If there is no such socket in your house, please have one installed by an authorized electrician.
The mains lead of this appliance has been fitted with a BS 1363A 13A fused plug. To change a fuse in this type of plug, follow the steps below:
- Remove the fuse cover and fuse.
- Fit replacement 13A fuse, ASTA approved to BS 1362 type, into the fuse cover.
- Replace fuse cover.
1.4 During Usage
- Do not connect your fridge freezer to the mains electricity supply using an extension lead.
- Do not use damaged, torn, or old plugs.
- Do not pull, bend or damage the cord.
- Do not use a plug adapter.
- This appliance is designed for use by adults. Do not allow children to play with the appliance or hang off the door.
- Never touch the power cord/plug with wet hands. This may cause a short circuit or electric shock.
- Do not place glass bottles or cans in the ice-making compartment as they will burst when the contents freeze.
- Do not place explosive or flammable material in your fridge. Place drinks with high alcohol content vertically in the fridge compartment and make sure their tops are tightly closed.
- When removing ice from the ice-making compartment, do not touch it. Ice may cause frost burns and/or cuts.
- Do not touch frozen goods with wet hands. Do not eat ice cream or ice cubes immediately after they are removed from the ice-making compartment.
- Do not re-freeze thawed frozen food. This may cause health issues such as food poisoning.
Old and Out-of-order Fridges - If your old fridge or freezer has a lock, break or remove the lock before discarding it because children may get trapped inside it and may cause an accident.
- Old fridges and freezers contain isolation material and refrigerant with CFC. Therefore, take care not to harm the environment when you are discarding your old fridges.
CE Declaration of conformity
We declare that our products meet the applicable European Directives, Decisions, and Regulations and the requirements listed in the standards referenced.
Disposal of your old appliance
The symbol on the product or on its packaging indicates that this product may not be treated as household waste. Instead, it shall be handed over to the applicable collection point for the recycling of electrical and electronic equipment. By ensuring this product is disposed of correctly, you will help prevent potential negative consequences for the environment and human health, which could otherwise be caused by inappropriate waste handling of this product. For more detailed information about recycling this product, please contact your local city office, your household waste disposal service, or the shop where you purchased the product.
Packaging and the Environment
Packaging materials protect your machine from damage that may occur during transportation.
The packaging materials are environmentally friendly as they are recyclable. The use of recycled material reduces raw material consumption and therefore decreases waste production.
Notes:
- Please read the instruction manual carefully before installing and using your appliance. We are not responsible for the damage that occurred due to misuse.
- Follow all instructions on your appliance and instruction manual, and keep this manual in a safe place to resolve the problems that may occur in the future.
This appliance is produced to be used in homes and it can only be used in domestic environments and for specified purposes. It is not suitable for commercial or common use. Such use will cause the guarantee of the appliance to be canceled and our company will not be responsible for any losses incurred. - This appliance is produced to be used in houses and it is only suitable for cooling / storing foods. It is not suitable for commercial or common use and/or for storing substances except for food. Our company is not responsible for any losses incurred by inappropriate usage of the appliance.
General notes:
Fresh Food Compartment (Fridge): Most efficient use of energy is ensured in the configuration with the drawers in the bottom part of the appliance, and shelves evenly
distributed, the position of door bins does not affect energy consumption.
Freezer Compartment (Freezer): Most Efficient use of energy is ensured in the configuration with the drawers and bins are on stock position.
DESCRIPTION OF THE APPLIANCE

This presentation is only for information about the parts of the appliance. Parts may vary according to the appliance model.
A. Refrigerator compartment
B. Freezer compartment
| 1) Thermostat box 2) Refrigerator shelves 3) Wine rack * 4) Crisper cover 5) Crisper 6) Freezer baskets | 7) Freezer glass shelves * 8) Bottle shelf 9) Water tank 10) Door shelf 11) Egg holder 12) Icebox tray |
Parts of the Water Dispenser *
(A) Front reservoir group

(B) Water tank group
| 1) Water reservoir upper cover 2) Glass lid 3) Water drip reservoir 4) Water tank upper cover 5) Water tank cover | 6) Lateral locking lids 7) Water tank 8) Tank gasket 9) Tap detail |

USING THE APPLIANCE
3.1 Information on the Frost-Free Technology
Frost Free fridge freezers have a different operating system from static fridge freezers.
In normal (static) fridges, the humidity entering the freezer due to opening the door, and the humidity inherent in the food, cause frost build-up in the freezer compartment.
To defrost the frost and ice in the freezer compartment, you are required to periodically switch off the fridge, place the frozen food in a separate cooled container, then remove
the ice gathered in the freezer compartment.
The situation is completely different in Frost Free freezers.
A built-in fan blows dry and cold air evenly throughout the freezer compartments. The cold air disperses uniformly between the shelves, ensuring all your food is cooled equally, thus preventing humidity and frost build-up.
Therefore, your Frost Free freezer allows ease of use, in addition to its huge capacity and stylish appearance.

3.2 Thermostat Setting
The thermostat automatically regulates the temperature inside the refrigerator and freezer compartments. Cooler temperatures can be obtained by rotating the knob to higher numbers, 1 to 5.
Thermostat settings:
1 – 2: For short-term storage of food in the freezer compartment.
3 – 4: For long-term storage of food in the freezer compartment.
5: For freezing fresh food. The appliance will work longer. Once the food is fully frozen, reset the thermostat to its original position.
Super switch

Low ambient switch: You can use your appliance even if the ambient temperature is falling down as low as -15°C. However, at low ambient temperatures (as -15°C), food in the
fridge compartment may freeze. Please check first and then you can consume food in the fridge compartment. You can change the setting of the thermostat knob to suit your needs when the ambient temperature returns to normal. Super freezing: If the ambient temperature is more than 16 ºC, this switch must be used as a super freeze switch. For maximum freezing capacity, please turn on this switch before placing fresh food in the freezer. After placing fresh food in the freezer please turn this switch off after a MAXIMUM of 24 hours or when food is thoroughly frozen to save energy efficiency.
3.3 Temperature Adjustment Warnings
- It is not recommended that you operate your fridge in environments colder than 10°C in terms of its efficiency.
- Temperature adjustments should be made according to the frequency of door openings, the quantity of food kept inside the fridge, and the ambient temperature in the location of your fridge.
- In order to allow your fridge to reach the operating temperature after being connected to mains, do not open the doors frequently or place large quantities of food in the fridge. Please note that, depending on the ambient temperature, it may take 24 hours for your fridge to reach the operating temperature.
- A 5-minute delay function is applied to prevent damage to the compressor of your fridge when connecting or disconnecting to mains, or when an energy breakdown occurs. Your fridge will begin to operate normally after 5 minutes.
- Your appliance is designed to operate in the ambient temperature (N = 16°C 32°C) intervals stated in the standards, according to the climate class displayed on the information label.
We do not recommend operating your appliance out of the stated temperature limits in terms of cooling effectiveness.
| Climate Class | Ambient Temperature ºC |
| T | Between 16 and 43 (°C) |
| ST | Between 16 and 38 (°C) |
| N | Between 16 and 32 (°C) |
| SN | Between 10 and 32 (°C) |
Important installation instructions
This appliance is designed to work in difficult climate conditions (up to 43 degrees C or 110 degrees F) and is powered with ‘Freezer Shield’ technology which ensures that the frozen food in the freezer will not defrost even if the ambient temperature falls as low as -15 °C. So you may then install your appliance in an unheated room without having to worry about frozen food in the freezer being spoilt. When the ambient temperature returns to normal, you may continue using the appliance as usual.
3.4 Ice Tray
- Fill the ice tray with water and place in the freezer compartment.
- After the water has completely frozen, you can twist the tray as shown below to remove the ice cubes.

3.5 The Freezer Box
The freezer box allows food to be accessed more easily.
Removing the freezer box:
- Pull the box out as far as possible
- Pull the front of the box up and out
Carry out the opposite of this operation when refitting the sliding compartment.
Always keep hold of the handle of the box while removing it.
3.6 Mounting the Water Tank
| 1. Place the water tank in the plastic holder on the door, pitched in the direction of the arrow on the diagram. | 2. After you have mounted the water tank, push it down to firmly secure it in the holder. |
![]() | ![]() |
| 3. Add your drinks with the help of the water tank top cover. | 4. Release the side locking covers to detach the water tank cover. |
![]() | ![]() |
| 5. To serve your drinks, gently press the valve lever. | ![]() |
3.6.1 Filling the Water Tank
- Remove the top cover of the water tank.
- Fill the tank up with water.
- Mount the top cover back on the water tank.
Important: Do not use the water dispenser for anything except water.
Important: If you leave water in the tank for a long time, it will cause an odor. In this case, clean the tank and keep using it.
Important: Clean the water tank before using it for the first time.
3.6.2 Cleaning the Water Tank
- Lift the water tank.
- Remove the tank cover by releasing the side locking covers.
- Clean the tank with warm water and reassemble the pieces that you have removed.
3.6.3 Stowing the Water Tank
- Install the water tank as shown.
- Make sure that the tap and the hole match each other while installing.
- Water flow may not be as expected if the tank has not been installed properly.
Also, check that the gaskets have been assembled properly.
Drip Tray
Please pay attention in order not to go below min level on the tank surface.
During the usage of the dispenser, the water may be likely to splash if used below min water level.
Please hold the glass momentarily after distribution to avoid drips.
Visual and text descriptions in the accessories section may vary according to the model of your appliance.
FOOD STORAGE
4.1 Refrigerator Compartment
- To reduce humidity and avoid the consequent formation of frost, always store liquids in sealed containers in the refrigerator. Frost tends to concentrate in the coldest parts of the evaporating liquid and, in time, your appliance will require more frequent defrosting.
- Never place warm food in the refrigerator. Warm food should be allowed to cool at room temperature and should be arranged to ensure adequate air circulation in the refrigerator compartment.
- Make sure no items are in direct contact with the rear wall of the appliance as this is a wet wall appliance and frost will develop on the back wall and packaging will stick to it. Do not open the refrigerator door frequently.
- We recommend that meat and clean fish are loosely wrapped and stored on the glass shelf just above the vegetable bin where the air is cooler, as this provides the best storage conditions.
- Store loose fruit and vegetables in the crisper containers
- Storing fruit and vegetables separately helps prevent ethylene-sensitive vegetables (green leaves, broccoli, carrot, etc.) from being affected by ethylene releaser fruits (banana, peach, apricot, fig, etc.).
- Do not put wet vegetables into the refrigerator.
- Storage time for all food products depends on the initial quality of the food and an uninterrupted refrigeration cycle before refrigerator storage.
- To avoid cross-contamination do not store meat products with fruit and vegetables. Water leaking from meat may contaminate other products in the refrigerator. You should package meat products and clean any leakages on the shelves.
- Do not put food in front of the airflow passage.
- Consume packaged foods before the recommended expiry date.
NOTE: Potatoes, onions, and garlic should not be stored in the refrigerator.
The table below is a quick guide to show you the most efficient way to store the major food groups in your refrigerator compartment.
| Food | Maximum storage time | How and where to store |
| Vegetables and fruits | 1 week | Vegetable bin |
| Meat and fish | 2-3 Days | Wrap in plastic foil, bags, or in a meat container and store on the glass shelf |
| Fresh cheese | 3 – 4 Days | On the designated door shelf |
| Butter and margarine | 1 week | On the designated door shelf |
| Bottled products e.g. milk and yogurt | Until the expiry date recommended by the producer | On the designated door shelf |
| Eggs | 1 month | On the designated egg shelf |
| Cooked food | All shelves |
4.2 Freezer Compartment
- The freezer is used for storing frozen food, freezing fresh food, and making ice cubes.
- For freezing fresh food; wrap and seal fresh food properly, that is the packaging should be air-tight and shouldn’t leak. Special freezer bags, aluminum foil polythene bags, and plastic containers are ideal.
- Do not store fresh food next to frozen food as it can thaw the frozen food.
- Before freezing fresh food, divide it into portions that can be consumed in one sitting.
- Consume thawed frozen food within a short period of time after defrosting
- Never place warm food in the freezer compartment as it will thaw the frozen food.
- Always follow the manufacturer’s instructions on food packaging when storing frozen food. If no information is provided food, should not be stored for more than 3 months from the date of purchase.
- When purchasing frozen food, make sure that it has been stored under appropriate conditions and that the packaging is not damaged.
- Frozen food should be transported in appropriate containers and placed in the freezer as soon as possible.
- Do not purchase frozen food if the packaging shows signs of humidity and abnormal swelling. It is probable that it has been stored at an unsuitable temperature and that the contents have deteriorated.
- The storage life of frozen food depends on the room temperature, the thermostat setting, how often the door is opened, the type of food, and the length of time required to transport the product from the shop to your home. Always follow the instructions printed on the packaging and never exceed the maximum storage life indicated.
- The maximum amount of fresh food (in kg) that can be frozen in 24 hours is indicated on the appliance label.
- Use the fast freezing shelf to freeze home cooking (and any other food which needs to be frozen quickly) more quickly because of the freezing shelf’s greater freezing power. The fast freezing shelf is the bottom drawer of the freezer compartment.
- For optimum appliance performance to reach maximum freezing capacity, after placing fresh food into the freezer, turning on the low ambient switch for 24 hours is generally sufficient. After 24 hours, you can turn off the low ambient switch.
NOTE: If you attempt to open the freezer door immediately after closing it, you will find that it will not open easily. This is normal. Once equilibrium has been reached, the door will open easily.
Important note:
- Never refreeze thawed frozen food.
- The taste of some spices found in cooked dishes (anise, basilica, watercress, vinegar, assorted spices, ginger, garlic, onion, mustard, thyme, marjoram, black pepper, etc.) changes, and they assume a strong taste when they are stored for a long period of time. Therefore, add small amounts of spices to food to be frozen, or the desired spice should be added after the food has thawed.
- The storage time of food is dependent on the type of oil used. Suitable oils are margarine, calf fat, olive oil, and butter.
Unsuitable oils are peanut oil and pig fat. - Food in liquid form should be frozen in plastic cups and other food should be frozen in plastic folios or bags.
The table below is a quick guide to show you the most efficient way to store the major food groups in your freezer compartment.
| Meat and fish | Preparation | Maximum storage time (months) |
| Steak | Wrap in foil | 6 – 8 |
| Lamb meat | Wrap in foil | 6 – 8 |
| Veal roast | Wrap in foil | 6 – 8 |
| Veal cubes | In small pieces | 6 – 8 |
| Lamb cubes | In pieces | 4 – 8 |
| Minced meat | In packaging without using spices | 1 – 3 |
| Giblets (pieces) | In pieces | 1 – 3 |
| Bologna sausage/salami | Should be kept packaged even if it has a membrane | |
| Chicken and turkey | Wrap in foil | 4 – 6 |
| Goose and duck | Wrap in foil | 4 – 6 |
| Deer, rabbit, wild boar | In 2.5 kg portions or as fillets | 6 – 8 |
| Freshwater fish (Salmon, Carp, Crane, Catfish) | After cleaning the bowels and scales of the fish, wash and dry it. If necessary, remove the tail and head. | 2 |
| Lean fish (Bass, Turbot, Flounder) | 4 | |
| Fatty fishes (Tuna, Mackerel, Bluefish, Anchovy) | 2-4 | |
| Shellfish | Clean and in a bag | 4-6 |
| Caviar | In its packaging, or in an aluminum or plastic container | 2-3 |
| Snails | In salty water, or in an aluminum or plastic container | 3 |
| Vegetables and Fruits | Preparation | Maximum storage time (months) |
| String beans and beans | Wash, cut into small pieces, and boil in water | 10 – 13 |
| Beans | Hull, wash, and boil in water | 12 |
| Cabbage | Clean and boil in water | 6 – 8 |
| Carrot | Clean, cut into slices, and boil in water | 12 |
| Pe er pp | Cut the stem, cut into two pieces, remove the core, and boil in water | 8 – 10 |
| Spinach | Wash and boil in water | 6 – 9 |
| Cauliflower | Remove the leaves, cut the heart into pieces and leave it in water with a little lemon juice for a while | 10 – 12 |
| Aubergine | Cut into pieces of 2cm after washing | 10 – 12 |
| Corn | Clean and pack with its stem or as sweet corn | 12 |
| Apple and pear | Peel and slice | 8 – 10 |
| Apricot and Peach | Cut into two pieces and remove the stone | 4 – 6 |
| Strawberry and Blackberry | Wash and hull | 8 – 12 |
| Cooked fruits | Add 10 % of sugar to the container | 12 |
| Plum, cherry, sourberry | Wash and hull the stems | 8 – 12 |
| Maximum storage time (months) | Thawing time at room temperature (hours) | Thawing time in oven (minutes) | |
| Bread | 4- 6 | 2- 3 | 4-5 (220-225 °C) |
| Biscuits | 3 – 6 | 1,5 | 5-8 (190-200 °C) |
| Pastry | 1- 3 | 2- 3 | 5-10 (200-225 °C) |
| Pie | 1 – 1,5 | 3 – 4 | 5-8 (190-200 °C) |
| Phyllo dough | 2 – 3 | 1,5 | 5-8 (190-200 °C) |
| Pizza | 2 – 3 | 2 – 4 | 15-20 (200 °C) |
| Dairy products | Preparation | Maximum storage time (months) | Storage conditions |
| Packet (Homogenized) Milk | In its own packet | 2 – 3 | Pure Milk — in its own packet |
| Cheese – excluding white cheese | In slices | 6 – 8 | Original packaging may be used for short-term storage. Keep wrapped in foil for longer periods. |
| Butter, margarine | In its packaging | 6 |
CLEANING AND MAINTENANCE
Disconnect the unit from the power supply before cleaning.
Do not wash your appliance by pouring water on it.
Do not use abrasive products, detergents, or soaps for cleaning the appliance. After washing, rinse with clean water and dry carefully. When you have finished cleaning, reconnect the plug to the mains supply with dry hands.
- Make sure that no water enters the lamp housing and other electrical components.
- The appliance should be cleaned regularly using a solution of bicarbonate of soda and lukewarm water.
- Clean the accessories separately by hand with soap and water. Do not wash accessories in a dishwasher.
- Clean the condenser with a brush at least twice a year. This will help you to save on energy costs and increase productivity.
![]()
The power supply must be disconnected during cleaning.
5.1 Defrosting

- Your appliance performs automatic defrosting. The water formed as a result of defrosting passes through the water collection spout flows into the vaporization container behind your appliance and evaporates there.
- Make sure you have disconnected the plug of your appliance before cleaning the vaporization container.
- Remove the vaporization container from its position by removing the screws as indicated. Clean it with soapy water at specific time intervals. This will prevent odors from forming.
5.2 Replacing the Light Bulb
Important note: Unplug the unit from the power supply before starting the process.

- Press the hooks on the light cover. (Fig. 1)
- Open the light cover towards the arrow when the top hooks pull out from the housing. (Fig. 2)
- Pull out the cover towards the arrow and remove it. (Fig. 3)
- Turn the light bulb counterclockwise and remove it. (Fig. 4)
- Change the present light bulb with a new one of not more than 15 W. (Fig. 4)
- Implement the steps in reverse order.
- After waiting 5 minutes, plug the unit.
Replacing LED Lighting
If your appliance has LED lighting contact the help desk as this should be changed by authorized personnel only.
SHIPMENT AND REPOSITIONING
6.1 Transportation and Changing Positioning
- The original packaging and foam may be kept for re-transportation (optional).
- Fasten your appliance with thick packaging, bands, or strong cords and follow the instructions for transportation on the packaging.
- Remove all movable parts (shelves, accessories, vegetable bins, and so on) or fix them into the appliance against shocks using bands when repositioning or transporting.
Always carry your appliance in the upright position.
6.2 Repositioning the Door
- It is not possible to change the opening direction of your appliance door if door handles are installed on the front surface of the appliance door.
- It is possible to change the opening direction of the door on models without handles.
- If the door-opening direction of your appliance can be changed, contact the nearest Authorised Service Centre to change the opening direction.
BEFORE CALLING AFTERSALES SERVICE
If you are experiencing a problem with your refrigerator, please check the following before contacting the after-sales service.
Your refrigerator does not operate Check if:
- Your fridge is plugged in and switched on
- The fuse has blown
- The thermostat setting is on position ‘1’
- The socket is faulty. To check this, plug another working appliance into the same socket.
Your refrigerator is performing poorly Check if: - The appliance is overloaded
- The doors are closed properly
- There is any dust on the condenser
- There is an adequate distance between the appliance and surrounding walls
Your refrigerator is operating noisily
The following noises can be heard during the normal operation of the appliance.
Cracking (ice cracking) noise occurs: - During automatic defrosting.
- When the appliance is cooled or warmed (due to expansion of appliance material).
Clicking noise occurs: When the thermostat switches the compressor on/off. Motor noise: Indicates the compressor is operating normally. The compressor may cause more noise for a short time when it is first activated.
Bubbling noise and splashing occurs:
Due to the flow of the refrigerant in the tubes of the system.
Water flowing noise occurs: Due to water flowing into the evaporation container. This noise is normal during defrosting.
Air blowing noise occurs: During normal operation of the system due to the circulation of air.
There is a build-up of humidity inside the fridge Check if:
- All food is packed properly. Containers must be dry before being placed in the fridge.
- The fridge doors are opened frequently.
The humidity of the room will enter the fridge each time the doors are opened. Humidity increases faster if the doors are opened frequently, especially if the humidity of the room is high. - There is a build-up of water droplets on the rear wall. This is normal after automatic defrosting (in Static Models).
The doors are not opening or closing properly Check if: - There is food or packaging preventing the door from closing
- The door compartments, shelves, and drawers are placed properly
- The door gaskets are broken or torn
- Your fridge is level.
The edges of the fridge in contact with the door joint are warm
Especially during summer (warm weather), the surfaces in contact with the door joint may become warmer during the operation of the compressor. This is normal.
About the water dispenser; If the water flow is abnormal;
Check that;
- The tank is well installed.
- The tank gaskets are well assembled.
If dripping occurs;
Check that;
- The tap is well assembled.
- The tap gaskets are well assembled.
Important Notes:
- In the case of a power failure, or if the appliance is unplugged and plugged in again, the gas in the cooling system of your refrigerator will destabilize, causing the compressor’s protective thermal element to open. Your refrigerator will start to operate normally after 5 minutes.
- If the appliance will not be used for a long period of time (such as during holidays), disconnect the plug. Defrost and clean the refrigerator, leaving the door open to prevent the formation of mildew and odor.
- If the problem persists after you have followed all the instructions above, please consult the nearest Authorised Service Centre.
- This appliance is designed for domestic use and for stated purposes only. It is not suitable for commercial or common use. If the consumer uses the appliance in a way that does not comply with these instructions, we emphasize that the manufacturer and the dealer will not be responsible for any repair or failure within the guarantee period.
TIPS FOR SAVING ENERGY
- Install the appliance in a cool, well-ventilated room, but not in direct sunlight and not near a heat source (such as a radiator or oven) otherwise an insulating plate should be used.
- Allow warm food and drinks to cool before placing them inside the appliance.
- Place thawing food in the refrigerator compartment. The low temperature of the frozen food will help cool the refrigerator compartment while the food is thawing. This will save energy. Frozen food left to thaw outside of the appliance will result in a waste of energy.
- Drinks or other liquids should be covered when inside the appliance. If left uncovered, the humidity inside the appliance will increase, therefore the appliance uses more energy. Keeping drinks and other liquids covered helps preserve their smell and taste.
- Avoid keeping the doors open for long periods and opening the doors too frequently as warm air will enter the appliance and cause the compressor to switch on unnecessarily often.
- Keep the covers of the different temperature compartments (such as the crisper and chiller) closed.
- The door gasket must be clean and pliable. In case of wear, if your gasket is detachable, replace the gasket. If not detachable, you have to replace the door.
Special for new European standard
The ordered parts in the following table can be acquired from customer services.
| Ordered Parted | Provided By | Minimum Time Required For provision. |
| Thermostats | Professional maintenance personnel | At least 7 years after the last model is launched on the market |
| Temperature Sensor | Professional maintenance personnel | At least 7 years after the last model is launched on the market |
| Printed Circuit board | Professional maintenance personnel | At least 7 years after the last model is launched on the market |
| Light Source | Professional repairers and final users | At least 7 years after the last model is launched on the market |
| Door Handles | Professional repairers and final users | At least 7 years after the last model is launched on the market |
| Door Hinges | Professional repairers and final users | At least 7 years after the last model is launched on the market |
| Trays | Professional repairers and final users | At least 7 years after the last model is launched on the market |
| Baskets | Professional repairers and final users | At least 7 years after the last model is launched on the market |
| Door gaskets | Professional repairers and final users | At least 10 years after the last model is launched on the market |
Product Data Sheet concerning (EU) 2019/2016
The product data sheet for your appliance can be found online if you wish to download a copy.
Go to https://eprel.ec.europe.eu and enter the model identifier for your appliance to download the data sheet.
Alternatively, you can download it from https://www.montpellier-appliances.com by going to the relevant product page.
The model identifier for your appliance can be found on the rating plate at the rear/inside of the appliance.
Here For You
After-sales assistance
If you continue to experience problems with your appliance, please call the Montpellier customer service helpline on 01759 487839
Please have all your product details available, including the model number, serial number, and original sales invoice (clearly showing the model number, date of purchase, and your retailer’s details) before registering a fault.
The service call cannot progress without this information.
Your 2-year Manufacturer’s guarantee
THIS DOES NOT AFFECT YOUR STATUTORY RIGHTS.
Your new Montpellier appliance carries a free guarantee which protects you against the cost of repairs during the first 24 months from the date of purchase provided that:
Any claim is accompanied by evidence of the model reference, model serial number, and proof of purchase, such as a Sales Receipt, showing that the appliance was purchased within the 24 months prior to the date of claim.
What is not covered under the Guarantee
- Any appliance not correctly installed and operated in accordance with the manufacturer’s instructions
- Any appliance that is used for anything other than domestic purposes.
Any defect caused by accident, misuse, unauthorized modification, or inexpert repair. - Cost of Call-out where a fault cannot be found with the appliance.
Cost of Call-out for work covering routine maintenance, such as but not exclusively, cleaning of filters or defrosting. - Cost of Call-out for work required to correct the alignment of doors following door reversal procedures carried out by you.
Use of the appliance by anyone other than the Householder.
Use in any commercial environment. - Consumable items, such as but not exclusively, fuses in plugs, bulbs, and breakable items which require routine replacement.
Repair costs incurred that have not been authorized by Montpellier service and/or carried out by a nonapproved Montpellier engineer.
Montpellier Appliances do not accept claims for consequential loss, rusting, corroding, delivery damage, or scratches.
YOUR GUARANTEE IS VALID ONLY IN THE UK & REPUBLIC OF IRELAND
To register your appliance simply complete the card in your appliance pack and return it with a stamp affixed or alternatively you can register online at www.montpellier-appliances.com/support
SERVICE HELP-LINE
Should your appliance develop a fault, please call the Montpellier customer service helpline on 01759 487839
Please remember to have all your product details available, including the model number, serial number, date of purchase, and your retailer’s details before registering a fault.
Montpellier Domestic Appliances Ltd.
Unit 1, Tewkesbury Retail Park, Northway Lane, Tewkesbury, Gloucestershire GL20 8JU
www.montpellier-appliances.com
The symbol on the product or on its packaging indicates that this product may not be treated as household waste. Instead, it shall be handed over to the applicable collection point for the recycling of electrical and electronic equipment. By ensuring this product is disposed of correctly, you will help prevent potential negative consequences for the environment and human health, which could otherwise be caused by inappropriate waste handling of this product. For more detailed information about recycling this product, please contact your local city office, your household waste disposal service, or the shop where you purchased the product. 52362946

























