Russell Hobbs RH54FR3FZ144 Upright 55cm Wide Freezer Instruction Manual

Safety Instructions
Important note: Please read this booklet before installing and switching on this appliance. The manufacturer assumes no responsibility for incorrect installation and usage as described in this booklet.
Warning: When positioning the appliance, ensure the supply cord is not trapped or damaged.
Warning: Do not locate multiple portable socket-outlets or portable power suppliers at the rear of the appliance.
- This model uses natural refrigerant gas as part of its cooling This gas is known as R600a (Isobutene) and is environmentally friendly but can be combustible. Care should therefore be taken when handling or transporting the product to ensure that none of the refrigeration circuit components are damaged,
- Do not obstruct ventilation openings in the appliance
- The appliance must not be placed or rested on its power
- Do not use mechanical devices or other artificial means to accelerate the defrosting process, such as a heater or a hair
- Do not use electrical appliances in the refrigerator compartment of the
- If this appliance is to replace an old refrigerator with a lock, the lock must be removed as a safety measure before storing it or disposing of it. This is to protect children from locking themselves inside the
- Old refrigerators and freezers contain insulation gases and refrigerant, they must be disposed of properly. Contact your local authority or your dealer if you have any questions. Please ensure that you do not damage the scrap unit prior to being picked-up by the relevant waste disposal
- Do not use adaptors or extension leads when connecting the appliance to the electrical power supply
- Do not plug in damaged
- Do not pull, twist or damage the power
- Do not plug-in or un-plug the appliance with wet hands to prevent electrical shock.
- This appliance can be used by children aged from 8 years and above and persons with reduced physical, sensory or mental capabilities or lack of experience and knowledge if they have been given supervision or instruction concerning use of the appliance in a safe way and understand the hazards Children should not play with the appliance.
- Children aged from 3 to 8 years are allowed to load and unload this
- This appliance is designed to be used by adults, do not allow children to play with the appliance or let them hang over the
- Do not place explosive or flammable material in your appliance for your own
- Bottles containing a high percentage of alcohol must be sealed well and placed vertically in the
- Do not cover the body or the top of the appliance
- Fix down the accessories in the appliance during transportation to prevent damage to
- To avoid contamination of food, please respect the following instructions
- Opening the door for long periods can cause a significant increase of the temperature in the compartments of the
- Clean regularly surfaces that can come in contact with food and accessible drainage
- Store raw meat and fish in suitable containers in the refrigerator, so that it is not in contact with or drip onto other
- Two-star frozen-food compartments(if they are presented in the appliance) are suitable for storing pre-frozen food, storing or making ice-cream and making ice
- One-, two- and three -star compartments (if they are presented in the appliance) are not suitable for the freezing of fresh
- If the appliance is left empty for long periods, switch off, defrost, clean, dry and leave the door open to prevent mount developing within the
Electrical Safety
THIS APPLIANCE MUST BE PLUGGED INTO AN EARTHED SOCKET
- Before switching on, make sure that the voltage of your electricity supply is the same as that indicated on the rating plate. This product is designed to operate on 220 – 240V AC; 50Hz. Connection to any other power source may damage the
- This product may be fitted with a non re-wipeable plug. If it is necessary to change the fuse in the plug, the fuse cover must be If the fuse cover becomes lost or damaged, the plug must not be used until a suitable replacement is obtained.
- If the plug has to be changed because it is not suitable for your socket, or becomes damaged in any way, it should be cut off and an appropriate plug fitted following the wiring This should be carried out by a qualified electrician. The plug removed must be disposed of safely, as insertion into a 13 Amp socket is likely to cause an electrical hazard.
Transportation and Handling
For safe lifting, tilt the appliance backwards by no more than 45 degrees, hold the base and rear corners of cabinet. Lift the refrigerator carefully. Never use the door handles for lifting. To move the refrigerator on a flat level surface, tilt it slightly backwards and push backwards.
This unit is heavy and could cause injury – ensure there are adequate people present to move the appliance.
Installing and Switching on Your Appliance
- Operating voltage for your appliance is 220-240V at
- Before plugging in the power supply, ensure that the voltage on the rating label corresponds to the working voltage of your electrical system in your
- Insert the plug into an efficient Ground (Earth) If the socket has no Ground (Earth) contact or the plug does not match, we suggest you call an authorised electrician for assistance.
- Place your appliance in an area that is not exposed to direct
- Your appliance should be placed at least 10cm away from stoves, ovens and other heating
- This appliance should never be used outdoors or left in the rain.
- When your appliance is placed next to a chest freezer or freezer, there should be at least 10cms between them to prevent humidity on the outer
- Do not place anything on your appliance and install the unit in a suitable place so that there is at least 30cm clearance above the
- If placing your appliance next to kitchen cabinets, leave 5cm between
- The rear of the appliance should be at least 6cm away from the back
- The appliance must be used in the vertical position and on a flat
- To level the appliance, use the adjustable feet on the
- Do not place your appliance on a carpeted surface as this will prevent adequate
- This appliance should only be placed on a flat, firm
- Choose a dry and well-ventilated space.
- The appliance should be positioned so that the plug is easily
- If you need help or are unsure how to install the unit, please contact Customer Services on 0345 208 8750 or visit russellhobbs.com.
![]()
WARNING! During use, service and disposal of the appliance, please pay attention to symbol similar to the one shown, which is located on rear of appliance (rear panel or compressor) and with a yellow or orange colour. It’s risk of fire warning symbol. There are flammable materials in refrigerant pipes and compressor. Please be far away from fire source during use, service and disposal.
Before Switching On
- Before using your appliance, add a teaspoon of bicarbonate of soda to warm water and with a damp cloth wipe down all parts of the new appliance, then repeat the process with a clean damp cloth and (ensure the appliance is not connected to the power when performing this task).
- Remove all transport tapes and foam protection pieces . Clean the interior with a cloth dampened in lukewarm soap and water. Wipe with clean water and wipe
- There may be an odour when you first switch on the appliance, it will disappear when the appliance starts to cool.
- When the appliance has been positioned, adjust the feet to ensure the unit is This is essential to ensure quiet running and proper door opening/closing.
- Connect to the electrical socket but do not switch the power to the refrigerator on for at least 3 The coolant within the product needs time to settle after it has been transported and put in to position, failure to do this will affect the cooling performance of your appliance.
- Once the appliance has settled, switch the power on (the compressor will begin to work) and locate the thermostat on the product and set to -20 degrees. Close the
- You may hear faint gurgling or bubbling sounds when the refrigerant is pumped to the cooling system and through the coils or tubing at the rear of the When the compressor is in operation you may hear a slight whirring sound or pulsating noise. The thermostat controls the operation of the compressor, and you may hear a slight click as it cycles in and out (this is normal).
- To save energy, you should minimize the frequency and duration of door opening.
Product Overview

- Temperature control & indicators
- Freezer flaps (4 star rating)
- Freezer drawers (4 star rating)
- Adjustable Feet
- Handle (requires assemble)
- Handle screws & caps
Unit Parts & Spare Parts
Before installation, check that all parts detailed in the product overview are present. If any parts are missing, please contact the Customer Service team on 0345 208 8750 or visit us at mda.russellhobbs.com
Usage
(!) Allow to stand for a minimum of 3 hours before plugging in to the mains
The temperature in the appliance is controlled by the temperature control buttons located inside the freezer at the top of the cavity. Press the control buttons to regulate the temperature inside the freezer.
Plug in the appliance, then on the temperature control, press the “SET” button to adjust the temperature of the refrigerator. When you have adjusted the temperature to the required setting leave for 5 seconds (do not press the set button) and it will be selected and the temperature indicator light will stay lit.

The sequence of the temperature setting is below:
-16 – -18 – -20 – -22 – -24 –
FAST FREEZE – -16
The recommended setting is setting “-20”.
Once the temperature control has been set, close the door. We recommend that the door is not opened for a minimum of 4 hours to allow the appliance to reach the standard operating temperature.
Note: The standard operating temperature for the 4 star freezer compartments should be between -18°C and -25°C
Fast freezer![]()
This function should be used as a rapid cool/freeze setting and is beneficial when freezing large amounts of food and preventing the loss of nutrients. Set this function 3 hours before a large amount of food is placed in the freezer. The temperature control will automatically revert back to its previous setting after a period of 26 hours.
If required then the temperature can be changed manually by pressing the “SET” button.
Door open alarm ![]()
If the door of the appliance are open for more than 3 minutes the door alarm will sound continuously. The alarm can be stopped by pressing the “SET” button or closing the door(s). If the alarm has been stopped by pressing the “SET” button and the door(s) remains open for more than 3 minutes the alarm will sound again.
Power cut memory
In case of a power failure, when the power is restored the appliance will retain its settings.
Fault alarm
When the alarm indicator keeps flashing (with the corresponding indicator light of “-16, -20, -24, or fast freezing” flickering simultaneously), it indicates fault with the refrigerator. Please contact customer services.
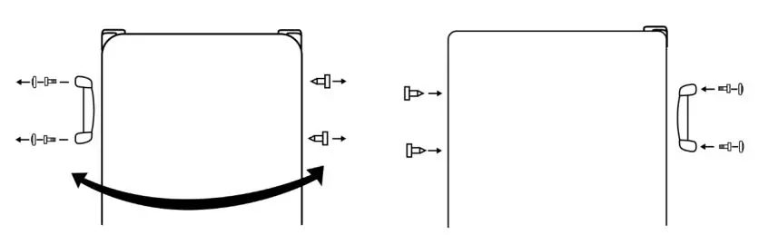
Handle Assembly
Tools Required: Cross headed screwdriver and a flat headed screwdriver.
- Remove the screws from the side of the door you require the handle to be installed on with a cross headed screw

- Align the holes on the handle with those on the side of the door and fix it in to place with the metal screws

- Cover the holes on the handle with the plastic hole
Door Reversal
You will need to tilt the appliance backward to access the lower hinge which holds screws. Do not tilt more than 45 degrees and do not lay the appliance flat on its side.
For your own safety, a minimum of 2 people should lift or tilt this product.
Tools Required: Cross headed screwdriver, flat headed screwdriver and hexagonal spanner.
- Remove the hinge cover and the screws from the hinge bracket, take it off and remove the door by lifting it up and away.

- Remove the screw cap covers that are on the top left of the unit and fix them on to the opposite
- Remove the door bushing & hole cover from the top of freezer door and fix it to the opposite

- Remove the door stopper from the bottom of the freezer door and fix them to the opposite side of the freezer door, ensuring it is fixed securely.

- Tilt the appliance carefully, no more than 45 degrees and remove the adjustable Take off the bottom hinge by removing the screws.

- Remove the washer and nut that secure the pin shaft to the right hole on the lower hinge, then remove the Insert the pin shaft into the left hole on the lower hinge, then secure the shaft with the washer and nut.

- Reattach the hinge to the left side of the appliance, reinstall the adjustable foot
- Place the door on to the bottom hinge and put the pin of the upper/top hinge into the top of the door and fix the hinge in to place by screwing it to the top of the freezer (use a spanner to tighten it if necessary. Ensure the door is aligned horizontally and vertically so that the seals are closed on all sides before finally tightening the top

- Change the side of the door the handle is installed

Energy Saving Advice
- Do not install the appliance close to sources of heat, such as a cooker, dishwasher or radiator.
- Locate the appliance in a cool well-ventilated room and make sure that the air vents are clear.
- Try to avoid keeping the doors open for a long time, warm air will enter the cabinet and may cause a build-up of ice as well as affecting the energy Ensure there are no obstructions preventing the doors from closing properly.
- Ensure that the door seals are clean and there are no tears or
- Do not overload the appliance: the cooling air that circulates to keep the appliance cold gets blocked and pockets of warm air
- Do not put hot food into the freezer – let it cool down
Freezer Storage Advice
- Store fresh food in airtight boxes or wrap in bags or foil which are suitable for
- Do not allow frozen food into direct contact with food to be
- Pre-frozen food must be placed in the freezer as quickly as possible after
- To prevent frost damage to fresh vegetables or fruits they must be processed appropriately before being placed into the freezer compartment.
- You must always follow the storage guidelines printed on all food However, below is some suggested maximum storage times at -18°C (4 star freezer rating) for a variety of foods:
- Fresh meat & poultry – up to 12 months
- Cooked meat – up to 2 months
- Fresh fish – up to 6 months
- Fruit & vegetables – up to 12 months
- Bread & cakes – up to 6 months
Power Failure
If there is a power failure during the storage of frozen foods, keep the door closed. If the temperature within your freezer should rise, do not refreeze the food without checking it’s condition.
- Ice Cream: Once thawed should be
- Fruit and Vegetables: If soft should be cooked and used
- Bread and Cakes: Can be refrozen without
- Shellfish: Should be refrigerated and used up
- Cooked Dishes: e. casseroles should be refrigerated and used up.
- Large Pieces of Meat: Should be refrigerated and used up quickly
- Small Joints: Should be refrigerated and used up quickly
- Chicken: Should be refrigerated and used up quickly
Food Storage Guidelines
| Refrigerator compartments | Type of food |
| Freezer drawer(s)/shelf | Foods for long-term storage. Bottom drawer/shelf for raw meat, poultry, fish. Middle drawer/shelf for frozen vegetables, chips. Top drawer/shelf for ice cream, frozen fruit, frozen baked goods. |
Maintenance & Cleaning
Disconnect the appliance from the power supply before cleaning.
Internal Cleaning
- Do not pour water over the
- The cavity should be cleaned periodically using a solution of bicarbonate of soda and lukewarm water (5ml to 0.5 litre of water)
- Clean the accessories separately with soap and Do not put them in the dishwasher.
- Do not use abrasive products, detergents or
- After washing, rinse with clean water and dry
- When you have finished cleaning reconnect the plug with dry hands.
External Cleaning
- Wash the outer cabinet with warm soapy Do NOT use abrasive products.
- There are sharp edges on the underside of the product so care should be taken when
- Once or twice a year dust the rear of the appliance and the compressor at the back of the appliance, with a brush or vacuum cleaner, as an accumulation of dust will affect the performance of the appliance and cause increased energy
When the appliance is not in use
When the appliance is not in use for long periods, disconnect from the electricity supply, empty all of the food and clean the inside. Leave the door open to prevent the build-up of odours.
Defrosting
The refrigerator is a frost free product and will therefore defrost itself automatically. However in case the refrigerator is not defrosting then the refrigerator can be defrosted manually.
Note: Care must be taken when performing the following procedure.
- Defrost twice a year or when a frost layer of approximately 7 mm (1/4”) has
- 6 hours before the defrosting process, set the temperature to its coldest setting to make sure the food is at the lowest temperature before removing the frozen All food should be wrapped in several layers of newspaper and stored in a cool place (e.g. fridge or larder).
- Place several layers of new paper or towels underneath and next to the freezer door/compartment
- Use the manual defrost process detailed in the next steps or switch off the appliance at the socket outlet and pull out the mains
- To use the manual defrost process (the units has to be plugged in and power on:.
- Press and hold down the “SET” button for 15 seconds. All the indicator lights illuminated, the refrigerator will stop cooling and will start to defrost by entering into heat The frost and ice will be defrosted and will eventually be removed.
- During the defrosting process, you can press and hold the “SET” key for 3 seconds to stop defrosting manually, or wait until the defrosting program has finished and is exited
- Avoid frequent defrosting of the refrigerator, do not access the manual defrosting again within 10 minutes of manually disabling
- Remove all drawers, baskets, and leave the door or lid open. Containers of warm water (not hot) may be placed carefully in the freezer to speed up the defrosting process.
- Never use hairdryers, electrical heaters or other such electrical appliances for
- When the ice has melted, clean and dry the Wipe up any spillages that may have occurred.
- Switch the appliance on (if it has been turned off) and replace any frozen
(!) Never use sharp metal tools as it may damage the appliance. Never use an electrical heater, this may cause an electric shock.
Trouble shooting
| Problem | Solution |
| The freezer doesn’t work | Check that the appliance is switched on. |
| Check that there has not been a power cut. | |
| Check that the plug is not faulty. | |
| Check that the fuse has not blown. | |
| Check that the voltage is correct for the appliance. | |
| Are there any faults with the socket? For this purpose, try the plug of your appliance by connecting it to a socket which you are sure is working. | |
| The temperature inside the appliance is not cold enough | Check that there is not too much food in the appliance. |
| Check that the thermostat is set to a suitable temperature. | |
| Check that the appliance is not placed in direct sunlight, or too near to a heating source. | |
| Check that the ambient temperature is within the operation limits of the appliance. | |
| Are the doors of the appliance opened frequently? Once the door is opened, the humidity found in the air in the room enters the appliance, especially if the humidity levels in the room are very high. The more frequently the door is opened in humid conditions the more chance of the build up of moisture. | |
| The temperature within the appliance is too cold. | Increase the working temperature by adjusting the temperature control to a higher temperature |
| The inner surfaces of the appliance are wet | Caused by condensation – dry the inside of the appliance. |
| The outer surfaces of the appliance are wet | Caused by condensation – dry the outer of the appliance carefully. |
| Excess ice or frost has built up inside the appliance | Check that the door has not been left open. |
| Check that the door gasket is clean and undamaged. |
| Problem | Solution |
| Smell/odour | Check all the food and drink that is in the freezer is correctly packaged. If it isn’t then it should be removed immediately or repackaged. Check for spillages on each shelf, flap and drawer. You may need to remove the drawers to check that no spillages have settled underneath them. As spillages that have not been cleaned and have been left can cause smells and unwanted odours. |
| The doors do not close properly | Ensure there are no obstructions preventing door closure. |
| Check the door compartments and shelves are correctly in place. | |
| Check the door seal is not warped or torn. | |
| Check the appliance is level. | |
| Unusual noises | Check that the appliance is on a flat, level surface and is stable. |
| Check the spacing’s around the appliance and ensure it is not touching other items. | |
| Bubbling and gurgling sound: • This noise is emitted as the coolant fluid flows through the pipes within the system. This is normal. | |
| Water flowing sound: • This is the normal sound of water flowing into the drain trough during the defrosting process. | |
| If the appliance is operating noisily (compressor noise): This is normal. This noise indicates that the compressor is operating normally. As the compressor is being energized, it might run a bit more noisily for a short period of time. | |
| Buzzer alarm | Is the door open? Open the door, and close it again. |
| All indicator lights on the display panel ON | Is the defrosting function enabled? Hold down the SET key for 3 seconds (for details, refer to the Defrosting function on page 10) |
Error codes
| Error code | Solution |
| When the alarm indicator keeps flashing (with the corresponding indicator light of “-16, -20, -24, or fast freezing” flickering simultaneously) | Indicates fault with the refrigerator. Please contact customer services. |
Connection to the Mains Supply
WARNING- THIS APPLIANCE MUST BE EARTHED
This appliance is designed to operate from a mains supply of AC220V – 240V; 50HZ. Check that the voltage marked on the product corresponds with your supply voltage.
For UK use only – Plug fitting details (where applicable):
As the colours of the wires in the mains lead of this appliance may not correspond with the coloured markings identifying the terminals in your plug, proceed as follows:
The GREEN/YELLOW wire is the EARTH and must be connected to the terminal which is marked with the letter E or by the earth symbol or coloured GREEN or GREEN/YELLOW.
The BLUE wire is the NEUTRAL and must be connected to the terminal marked with the letter N or coloured BLACK.
The BROWN wire is the LIVE wire and must be connected to the terminal marked with the letter L or coloured RED.
Always ensure that the plug cord grip is fastened correctly.
If a 13A (BS1363) fused plug is used it must be fitted with a 13amp fuse conforming to BS1362 and be BSI or ASTA approved.
![]()
Guarantee
This product is guaranteed for 12 months from the date of the original purchase. If any defect arises due to faulty materials or workmanship you must contact Product Care with the original proof of purchase so a replacement or refund can be arranged.
Refund or replacement is at the discretion of Product Care.
The following conditions apply:
- Product Care will require a valid proof of purchase at the point of replacement or refund.
- The product must be installed and used in accordance with the instructions contained in this instruction guide and any other instructions for use which has been
- It must be used for domestic purposes only and for its intended
- This guarantee does not cover wear and tear, damage, misuse or consumable parts.
This does not affect your statutory rights.
Imported by G2S LIMITED WIGAN WN2 4AY
Technical Specification
| Model number | RH54FR3FZ144 (B) (S) |
| Rated Voltage | 220V – 240V ~ 50Hz |
| Capacity | 166L |
| 2 star freezer compartment capacity | 0L |
| External Dimensions(HxWxD) | 1443m x 544mm x 641mm (with handle) |
Product Fiche
| Model | RH54FR3FZ144/B/S |
| Fresh Food Storage Compartment Volume (L) | N/A |
| Frozen Food Storage Volume (L) | 166 |
| Storage Temperature (°C) | -12 to -26 |
| Energy Consumption (kWh/per year) | 261 |
| Energy Consumption (kWh/per year), based on standard test results for 24 hours | |
| Household Appliance Category | 8 |
| Energy Rating | F |
| Defrosting Type | Frost Free |
| Climate Class | N/SN/ST |
| This appliance is intended to be used at an ambient temperature between 10°c and 38°c | |
| Airborne Acoustical Noise (dB) | 44 |
| Temperature Rise Time (hr) | 8hr |
| Freezing Capacity (kg/24h) | 7.5kg/24h |
| Rated voltage (V) | 220V – 240V / 50Hz |
| Rated Current (A) | 0.46A |
| Product Dimensions CMs (H x W x D) | 144.3 x 54.4 x 64.1 (with handle) |
| Total Storage Volume (L) | 166 |
| Net Weight (KG) | 46 |
| Class | Symbol | Ambient temperature range (°C) | Information |
| Extended temperate | SN | +10 to +32 | Extended temperate: ‘this refrigerating appliance is intended to be used at ambient temperatures ranging from 10°c to 32°c; |
| Temperate | N | +16 to +32 | Temperate: ‘this refrigerating appliance is intended to be used at ambient temperatures ranging from 16°c to 32°c; |
| Subtropical | ST | +16 to + 38 | Subtropical: ‘this refrigerating appliance is intended to be used at ambient temperatures ranging from 16°c to 38°c; |
| Tropical | T | +16 to+ 43 | Tropical: ‘this refrigerating appliance is intended to be used at ambient temperatures ranging from 16°c to 43°c; |
Notes
______________________________________________________________________________________________________________________________________________________________________________________________________________________________________________________________________________________________________________________________________________________________________________________________________________________________________________________________________________________________________________________________________________________________________________________________________________

Russell Hobbs is a registered trademark used under license from Spectrum Brands (UK) Ltd. Made under license by G2S Limited, Wigan, WN2 4AY/G2S (NI) Ltd, Belfast, BT5 5AD.
Russell Hobbs Support: call 0345 208 8750 or visit: mda.russellhobbs.com
![]()
The ‘wheelie bin’ symbol is known as the ‘Crossed-out wheelie bin Symbol’.
When this symbol is marked on a product/batteries, it means that the product/batteries should not be disposed of with your general household waste. Only discard electrical/electronic/battery items in separate collection schemes, which cater for the recovery and recycling of materials contained within. Your co-operation is vital to ensure the success of these schemes and for the protection of the environment. For your nearest disposal facility, visit www.recycle-more.co.uk or ask in store for details.
SEDEX – Connecting businesses and their global suppliers to share ethical data and enabling improvement in ethical performance. Visit www.sedex.org.uk for further information.
We reserve the right, due to possible changes to design, to alter the instruction manual without prior notice.
Revision 2.1

















