HAMPTON BAY KSF1301AX-01-DB Richland 1-Light Interior Wall Lantern

Product Information: Richland 1-Light Interior Wall Lantern
The Richland 1-Light Interior Wall Lantern is a high-quality product designed to enhance the look of your home’s interior. It comes with a socket ring, socket cap, shade, wall plate, lock nut, and socket. The product is easy to install and comes with all the necessary hardware, including mounting screws, ground screw, and wire connectors. The lantern is designed for use with a single light bulb and provides excellent illumination to any room.
Safety Information
Before beginning assembly and installation, it is important to read and understand the information provided in the manual. Failure to do so could lead to electric shock, fire, or other injuries that could be hazardous or even fatal. Be sure to turn off the electricity to the wires you are working on and use safety goggles, gloves, and other necessary tools during installation.
Warranty
The product is covered by a warranty that protects against defects in materials and workmanship. However, damage caused by improper installation, misuse, or other factors not covered by the warranty will not be covered.
Pre-Installation
Before starting installation of this fixture or removing a previous fixture, disconnect the power by turning off the circuit breaker or by removing the fuse from the fuse box. To avoid damaging this product, assemble it on a soft, non-abrasive surface such as carpet or cardboard.
Planning Installation
Read all instructions before assembly and installation. Keep your receipt and these instructions for proof of purchase.
Tools Required
- Wire Strippers
- Safety Goggles
- Ladder
- Gloves
- Flathead Screwdriver
- Phillips Screwdriver
- Electrical Tape
- Wire Cutters
Hardware Included
The product package comes with the following hardware:
| Part Description | Quantity |
|---|---|
| AA Wire Connector | 3 |
| BB Outlet Box Screw (15 mm long) | 2 |
| CC Mounting Screw (21 mm long) | 2 |
| DD Ground Screw | 1 |
| EE Cross Bar | 1 |
Package Contents
The package contains the following parts:
| Part Description | Quantity |
|---|---|
| A Socket Ring | 1 |
| B Socket Cap | 1 |
| C Shade | 1 |
| D Wall Plate | 1 |
| E Lock Nut | 2 |
| F Socket | 1 |
Installation Instructions
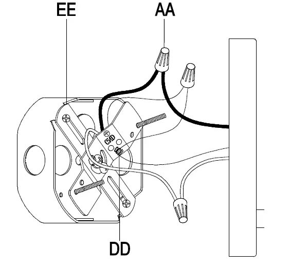
Step 1: Attaching the Cross Bar to the Outlet Box
- Screw the mounting screws (CC) into the hole on the outside of the cross bar (EE) so that the threads face out.
- Mount the cross bar (EE) to the outlet box using the outlet box screws (BB).
Step 2: Making the Electrical Connections
- Connect the black wire from the outlet box to the black wire from the lantern using a wire connector (AA).
- Connect the white wire from the outlet box to the white wire from the lantern using a wire connector (AA).
- If your outlet box has a green or bare ground wire, connect it to the green ground screw (DD) on the cross bar (EE).
- If your outlet box does not have a ground wire, connect the green ground wire from the lantern to the green ground screw (DD) on the cross bar (EE).
Step 3: Installing the Lantern
- Attach the socket ring (A) to the socket cap (B).
- Screw in the light bulb into the socket (F).
- Attach the shade (C) to the socket ring (A) by tightening the lock nut (E).
- Attach the wall plate (D) to the cross bar (EE) using the screws provided.
- Attach the socket cap (B) to the wall plate (D) by tightening the lock nut (E).
Care and Cleaning
To keep your Richland 1-Light Interior Wall Lantern looking its best, clean it regularly with a soft, damp cloth. Do not use abrasive cleaners or solvents as they may damage the finish.
Troubleshooting
If you experience any issues with your lantern, please contact Hampton Bay Customer Service for assistance.
Product Warranty
WHAT IS COVERED
The manufacturer warrants this lighting fixture to be free from defects in materials and workmanship for a period of three (3) years from date of purchase. This warranty applies only to the original consumer and only to products used in normal use and service. If this product is found to be defective, the manufacturer’s only obligation, and your exclusive remedy, is the repair or replacement of the product at the manufacturer’s discretion, provided that the product has not been damaged through misuse, abuse, accident, modifications, alterations, neglect or mishandling.
WHAT IS NOT COVERED
This warranty shall not apply to any product that is found to have been improperly installed, set-up, or used in any way not in accordance with the instructions supplied with the product. This warranty shall not apply to a failure of the product as a result of an accident, misuse, abuse, negligence, alteration, or faulty installation, or any other failure not relating to faulty material or workmanship. This warranty shall not apply to the finish on any portion of the product, such as surface and/or weathering, as this is considered normal wear and tear.
The manufacturer does not warrant and specially disclaims any warranty, whether express or implied, of fitness for a particular purpose, other than the warranty contained herein. The manufacturer specifically disclaims any liability and shall not be liable for any consequential or incidental loss or damage, including but not limited to any labor / expense costs involved in the replacement or repair of said product.
Contact the Customer Service Team at 1-855-HD-HAMPTON or visit www.HamptonBay.com.
Pre-Installation
PLANNING INSTALLATION
Read all instructions before assembly. Before starting installation of this fixture or removal of a previous fixture, disconnect the power by turning off the circuit breaker or by removing the fuse from the fuse box. To avoid damaging this product, assemble it on a soft, non-abrasive surface such as carpet or cardboard.
NOTE: Keep your receipt and these instructions for proof of purchase.
TOOLS REQUIRED

HARDWARE INCLUDED
NOTE: Hardware not shown to actual size.

| Part | Description | Quantity |
| AA | Wire Connector | 3 |
| BB | Outlet Box Screw (15 mm long) | 2 |
| CC | Mounting Screw ( 21 mm long) | 2 |
| DD | Ground Screw | 1 |
| EE | Cross Bar | 1 |
PACKAGE CONTENTS

| Part | Description | Quantity |
| A | Socket Ring | 1 |
| B | Socket Cap | 1 |
| C | Shade | 1 |
| D | Wall Plate | 1 |
| E | Lock Nut | 2 |
| F | Socket | 1 |
Assembly Instruction
- Attaching the cross bar to the outlet box
- Screw the mounting screws (CC) into the hole on the outside of the cross bar (EE) so that the threads face out.
- Mount the cross bar (EE) to the outlet box (not included) using the outlet box screws (BB).
- Make sure the threads of the mounting screws (CC) are facing out when the cross bar (EE) is attached to the outlet box.
- Making the electrical connections
- Wrap the middle of the ground wire from the fixture around the ground screw (DD) on the cross bar (EE). Use a wire connector (AA) to connect the end of the ground wire from the fixture to the ground wire from the outlet box.
- Use a wire connector (AA) to connect the white wire from the fixture to the white wire (neutral wire) from the outlet box.
- Use a wire connector (AA) to connect the black wire from the fixture to the black wire (live wire) from the outlet box.
- Wrap the three wire connections with electrical tape for a more secure connection.
- Position the wires back inside the outlet box. .

- Securing the fixture to the wall
- Make sure the electrical wires are inside the outlet box.
- Align the mounting screws (CC) to protrude through the holes on the wall plate (D).
- Screw the lock nuts (E) onto the mounting screws (CC) to secure the fixture.

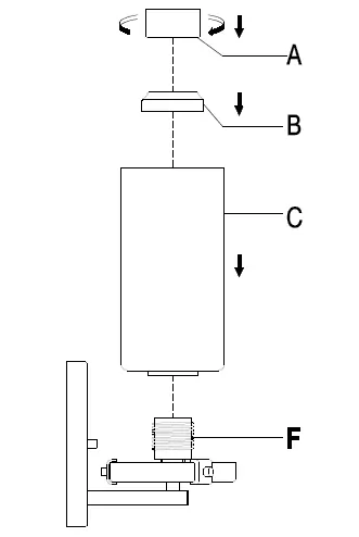
- Attaching the shade
- Place the shade (C) over the socket (F).
- Place the socket cap (B) over the socket (F).
- Screw the socket ring (A) onto the socket (F).

- Installing bulbs
- Screw the 60-Watt maximum, incandescent bulbs (sold separately) into the sockets (F)
NOTE: You can use LED equivalent energy-saving bulbs that do not exceed 8 Watts each (not included).
- Screw the 60-Watt maximum, incandescent bulbs (sold separately) into the sockets (F)
Care and Cleaning
- Clean the fixture with a soft, dry cloth.
- Do not use any cleaners with chemicals, solvents or hash abrasives.
WARNING: Before attempting to clean the fixture, disconnect the power to the fixture by turning the breaker off or removing the fuse from the fuse box.
Product Troubleshooting Guide
| Troubleshooting | ||||
| Problem | Possible Cause | Solution | ||
| The bulb will not light. | The power is off. | Ensure the power supply is On. | ||
| The circuit breaker is off. | Ensure the circuit breaker is in the On position. | |||
| The fuse blows or circuit breaker trips when the light is turned on. | Crossed wires or power wire is grounding out. |
| ||
Questions, problems, missing parts? Before returning to the store, call Hampton Bay Customer Service
8 a.m. – 7 p.m., EST, Monday – Friday, 9 a.m. – 6 p.m., EST, Saturday
1-855-HD-HAMPTON
HAMPTONBAY.COM
Retain this manual for future use.

















