51130T BK Granby Outdoor Wall Lantern 2-Pack
User Guide
Item # 1007200944
Model # 51130T BK
51130T BK Granby Outdoor Wall Lantern 2-Pack
USE AND CARE GUIDE
GRANBY OUTDOOR WALL LANTERN 2-PACK
Questions, problems, missing parts? Before returning to the store, call Hampton Bay Customer Service
8 a.m. – 7 p.m., EST, Monday – Friday, 9 a.m. – 6 p.m., EST, Saturday
1-855-HD-HAMPTON
HAMPTONBAY.COM
THANK YOU
We appreciate the trust and confidence you have placed in Hampton Bay through the purchase of this light fixture. We strive to continually create quality products designed to enhance your home. Visit us online to see our full line of products available for your home improvement needs. Thank you for choosing Hampton Bay!
Safety Information
Consult a qualified electrician if you have any electrical questions.
CAUTION: Inspect the wire insulation for any cuts, abrasions, or exposed copper that may have resulted during shipping. If there is a defect in the wire, do not attempt installation. Please call our Customer Service Team at 1-855-HD-HAMPTON.
WARNING: Before starting installation of this fixture or removal of a previous fixture, disconnect the power by turning off the circuit breaker or by removing the fuse at the fuse box.
Warranty
The manufacturer warrants this lighting fixture to be free from defects in materials and workmanship for a period of three (3) years from date of purchase. This warranty applies only to the original consumer purchaser and only to products used in normal use and service. If this product is found to be defective, the manufacturer’s only obligation, and your exclusive remedy, is the repair or replacement of the product at the manufacturer’s discretion, provided that the product has not been damaged through misuse, abuse, accident, modifications, alterations, neglect, or mishandling. This warranty shall not apply to any product that is found to have been improperly installed, setup, or used in any way not in accordance with the instructions supplied with the product. This warranty shall not apply to a failure of the product as a result of an accident, misuse, abuse, negligence, alteration, faulty installation, or any other failure not relating to faulty material or workmanship. This warranty shall not apply to the finish on any portion of the product, such as surface and/or weathering, as this is considered normal wear and tear. The manufacturer does notwarrant and specially disclaims any warranty, whether express or implied, of fitness for a particular purpose, other than the warranty contained herein. The manufacturer specifically disclaims any liability and shall not be liable for any consequential or incidental loss or damage, including but not limited to any labor / expense costs involved in the replacement or repair of said product.
Contact the Customer Service Team at 1-855-HD-HAMPTON or visit www.hamptonbay.com.
Pre-Installation
PLANNING INSTALLATION
- Read all instructions before installation.
- To avoid damaging this produc t, assemble it on a soft, non-abrasive surface, such as carp et or cardboard.
- Keep your receipt and these instructions for proof of purchase.
TOOLS REQUIRED

HARDWARE INCLUDED
NOTE: Hardware not shown to actual size.
| Part | Description | Quantity |
| AA | Mounting unit | 2 |
| BB | Mounting screw | 4 |
| CC | Wire nut | 6 |
| DD | Cap nut | 4 |
| EE | Washer | 4 |
PACKAGE CONTENTS 
| Part | Description | Quantity |
| A | Light fixture | 2 |
| B | Glass | 6 |
Installation
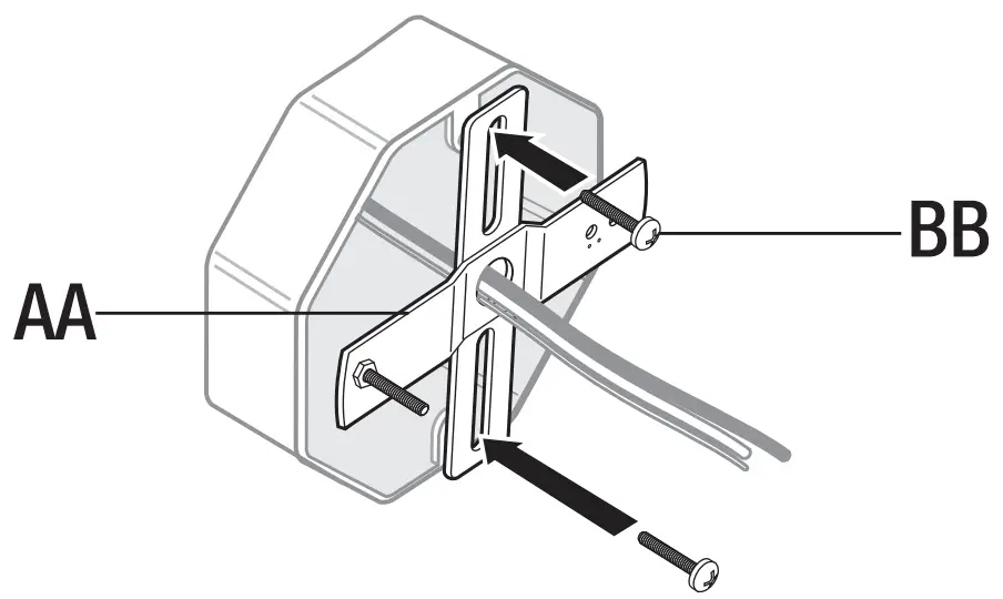
- Attaching the mounting unit to the junction box
Attach the mounting unit (AA) to the junction box (not included) with mounting screws (BB).
NOTE: The pre-installed support screws on the mounting unit (AA) should protrude out away from the junction box. - Making the electrical connections
Connect the copper wire from the light fixture (A) to the mounting unit (AA) by securing it with the pre-installed ground screw.
Connect the black to black (power), the white to white (neutral), and copper wire to ground wire and secure the wire nuts (CC) with electrical tape (not included).
NOTE: If the wires from the fixture are the same color, attach the side with markings or letters to the black (positive) wire and the other to the white (neutral) wire. - Securing the light fixture to the junction box
Secure the light fixture (A) to the junction box by placing it over the pre-installed screws on the mounting unit (AA) and securing it with the washers (EE) and cap nuts (DD).
NOTE: Maintain a tight waterproof seal between the canopy and mounting surface.
Insert the 3 pieces of glass (B) into the upper tabs of each light fixture (A). Then secure the glass panels (B) by bending the lower tabs of the light fixture (A). - Installing the light bulb
Install one 60-watt max. medium-base incandescent bulb (not included)
Operation
Turning the light on
- Turn the light switch on to activate the fixture.
Care and Cleaning
- Clean the lamp with a soft, dry cloth.
- Do not use any cleaners with chemicals, solvents, or harsh abrasives.
Troubleshooting
| Problem | Possible Cause | Solution |
| The bulb will not light. | The bulb is burned out. | Replace the light bulb. |
| The power is off. | Ensure the power supply is On. | |
| There is a faulty wire connection. | Check the wiring. | |
| The circuit breaker is off. | Ensure the circuit breaker is in the On position. | |
| The fuse blows or circuit breaker trips when the light is turned on. | There are crossed wires or the power wire is grounding out. | Check the wire connections. Contact a qualified electrician or call the Customer Service Team at 1-855-HD-HAMPTON. |
Questions, problems, missing parts?
Before returning to the store, call Hampton Bay Customer Service
8 a.m. – 7 p.m., EST, Monday-Friday, 9 a.m. – 6 p.m., EST, Saturday
1-855-HD-HAMPTON
HAMPTONBAY.COM
Retain this manual for future use.
NOTE: The pre-installed support screws on the mounting unit (AA) should protrude out away from the junction box.
Connect the black to black (power), the white to white (neutral), and copper wire to ground wire and secure the wire nuts (CC) with electrical tape (not included).
Install one 60-watt max. medium-base incandescent bulb (not included)















