JTX1691A, JTX1691A GRY Outdoor Wall Lantern
Installation Guide
ITEM #1085675/5017001
OUTDOOR WALL LANTERN
MODEL #JTX1691A
JTX1691A GRY
JTX1691A, JTX1691A GRY Outdoor Wall Lantern
Thank you for purchasing this allen + roth product. We’ve created these easy-to-follow instructions to ensure you spend your time enjoying the product instead of putting it together. But, if you need more information than what is provided here, please visit Lowes.com, search the item number and refer to the Guides & Documents tab on the product’s page.
If you have any questions or problems, please call our customer service department at 866-439-9800, 8 a.m. – 8 p.m., EST, Monday – Sunday, You could also contact us at [email protected].
PACKAGE CONTENTS

HARDWARE CONTENTS
Note: Hardware shown actual size.

INSTALLATION OVERVIEW

Turn off the power and remove existing fixture.


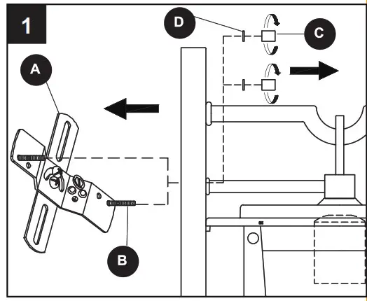
Attach A to outlet box using AA.
Temporarily place E through B determine amount of adjustment necessary B.

Feed wires. Twist stripped wire ends together with pliers (not included), black to black, white to white, and ground/bare to ground/bare.

Attach BB to connections with electrical tape (not included).


Install light bulb (not included). Use 60-watt max. standard-base incandescent bulb or CFL/LED equivalent.

Assembly is complete. Turn power back on.
TROUBLESHOOTING
| PROBLEM | POSSIBLE CAUSE | CORRECTIVE ACTION |
| Bulb will not light. | 1. Bulb is burned out. 2. Faulty wire connection. | 1. Replace light bulb. 2. Check wiring. |
CARE AND MAINTENANCE
- Wipe with damp cloth or use window cleaner. Do not use abrasive cleansers.
WARRANTY
- The manufacturer warrants all of its lighting fixtures against defects in materials and workmanship for three (3) years limited from the date of purchase.
SAFETY INFORMATION
Please read and understand this entire manual before attempting to assemble, operate or install the product.
WARNING
- Some metal parts in the fixture may have sharp edges. To prevent cuts and scrapes, wear gloves when handling the parts.
- Account for small parts and destroy packing material, as these may be hazardous to children.
- Use flashlight or alternate light source to light work area during installation.
- Assistance may be required to support fixture during installation.
CAUTION
- Connect fixture to supply wires rated for at least 167˚F.
- Workable for dimming circuits when using appropriate light bulbs with dimmable function.
PREPARATION
Before beginning assembly of product, make sure all parts are present. Compare parts with package contents list and hardware contents list.
If any part is missing or damaged, do not attempt to assemble the product.
Estimated Assembly Time: 20-30 minutes
TOOLS REQUIRED (NOT INCLUDED)

FEELING CONFIDENT? START YOUR NEXT PROJECT
- Visit lowes.com for more information.

ALLEN + ROTH and logo design are trademarks or registered trademarks of LF, LLC. All rights reserved.
Made in China
AS21789

















