HOFTRONIC 5427213 Smart Plug
Please read these instructions and retain them for future reference.
IMPORTANT INFORMATION
It is recommended that the fittings are installed by a qualified electrician ensuring the installation complies with current IEE wiring regulations & local building control. Make sure your mobile phone’s operating system is at least iOS 9 for Apple, or at least 4.4 for Android.
- Download Hoftronic Smart
App – Scan the QR code on the right to download the Hoftronic Smart App. You can also search “Hoftronic Smart” in either Apple App Store or Google Play to install the App. - Register a Hoftronic
Smart account and sign in the App – You will be prompted to enter your mobile number or email address to register. The system automatically recognises your country / area. You can also select your country code. Note: If you use a Mobile number you will be sent a text message with your confirmation code to complete your account registration. - Add smart plug to Hoftronic
Smart App – Tap the icon “+” on the top right corner of “Home” page, choose `Electrician’ and your device type – socket wifi, then follow the instructions to connect the lamp. The smart plug needs to be set to flash rapidly. Please follow Step A and B below:
- After connection, the smart plug will appear in your list and you can control it within a radius of 30 meters(in open space). You can also rename the smart plug and group more smart plugs.
SAFETY INSTRUCTIONS
- The device is recommend for use indoors in a dry location only.
- Power outlet shall be used within it`s published outlet rating on the instructions.
- Please contact seller for replacement if there is any damage caused by transportation.
- Plug in the socket in proper condition and away from children.
- Plug in the socket fully while using for safety concern.
- Do not disassemble the socket, otherwise it may cause damage to the product or security risks.
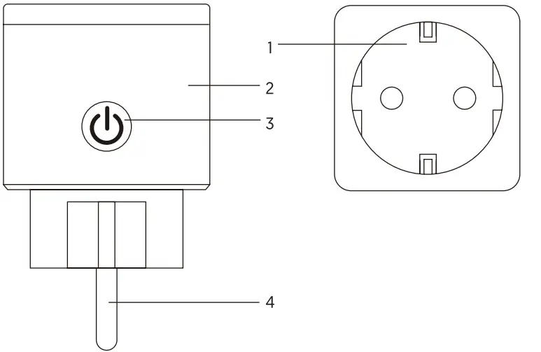
AT A GLANCE
- Socket panel
- Power plug
- ON/OFF button
- Flame resistant material
Note:
ON/OFF button can be used as restore button, long press can change the flashing speed and will restore your smart socket to factory defaults. Only do this if you are sure you want to erase your settings.
Parameters
- Rated voltage: 100-240V
- AC Rated current: 16A (max)
- AC frequency: 50/60 Hz
- Working temperature: -20ºC-60ºC
- WIFI frequency: 2.4 Ghz only
- Maximum total power output: 3680W
COMPATIBLE WITH AMAZON ALEXA,
INTENDED USE / APPLICATION
Product designed for the use in households and for other similar general applications.
MOUNTING
Technical changes reserved. Read the manual before mounting. Mounting should be performed by an appropriately qualified person. Any activities to be done with disconnected power supply. Exercise particular caution. Product has a protective contact/terminal. Failure to connect the protective lead may lead to electric shock. Mounting diagram: see pictures. Check for proper mechanical fastening and connection to electrical power prior to first use. The product can be connected to a supply network which meets energy quality standards as prescribed by law. To maintain the proper IP protection level, the right diameter of the power cable should be selected for the cable gland used in the product.
FUNCTIONAL CHARACTERISTICS
Product can be used indoors only.
USAGE GUIDELINES / MAINTENANCE
Any maintenance work must be performed when the power supply is cut off and the product has cooled down. Clean only with soft and dry cloths. Do not use chemical detergents. Do not cover the product. Ensure free air access. Product may heat up to a higher temperature. Product can only be supplied by rated voltage or voltage within the range provided. It’s forbidden to use the product with damaged protective cover. Product must not be used in unfavourable conditions, e.g. dust, water, moisture, vibrations, explosive air atmosphere, fumes, or chemical fumes, etc. Non-demountable product. Not suitable for independent repairs.
ENVIRONMENTAL PROTECTION
Keep your environment clean. Segregation of post-packaging waste is recommended. This labelling indicates the requirement to selectively collect waste electronic and electrical equipment. Products labelled in this way must not be disposed of in the same way as other waste under the threat of a fine. These products may be harmful to the natural environment and health, and require a special form of recycling/neutralising. Products labelled in this way should be returned to a collection facility for waste electrical and electronic goods. Information on collection centres is provided by local authorities or sellers of such goods. Used items can also be returned to the seller when new product is purchased, in quantity no larger than the purchased item of the same type. The above rules regard the EU area. In the case of other countries, regulations in force in a given country must be applied. Contacting the distributor of our products in a given area is recommended.
COMMENTS / GUIDELINES
Failure to follow these instructions may result in e.g. fire, burns, electrical shock, physical injury and other material and nonmaterial damage. For more information about Hoftronic Smart products visit www.hoftronic.com. Hoftronic Smart shall not be responsible for any damage resulting from the failure to follow these instructions. Hoftronic Smart reserves the right to make changes in the manual – the current version can be downloaded at www.hoftronic.com.
DECLARATION OF CONFORMITY DOCUMENTATION
This product has been manufactured and supplied in compliance with all relevant regulations and directives applicable to all member states of the European Union. The product complies with all applicable regulations and rules in the country of sale. Formal documentation such as the declaration of conformity, the safety data sheet and the product test report is available upon request.
CE DECLARATION
The product complies with the following directives:
- LVD: 2014/35/EU
- EMC: 2014/30/EU
- RoHS: 2011/65/EU
The complete Declaration of Conformity Document (DOC) is available upon request.





















