Smart Home
Smart Plug

Manual
Contents
lx LUSQ Smart WiFi Plug
lx English manual
lx Dutch manual

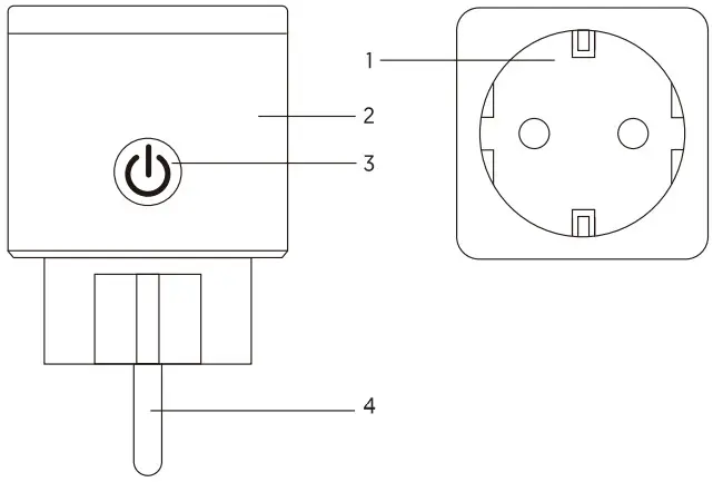
1. Socket opening
2. Exterior Smarplug
3. ON/OFF Button
4. Flame resistant pins
Note: The ON/OFF button (3) can be used as a reset button. Long press (5 Seconds) the button until the indicator light flashes and the plug will be restored to factory defaults. Only do this if you are sure to erase all your settings.
Parameters
– Model number: SP21
– Rated Voltage: AC100-240V
– Rated Current: 16A (Max)
– AC Frequency: 50/60Hz
– Working Temperature: -20 – 60°
– WiFi Frequency: 2.4 Ghz
– Maximum Power Output: 3680W
Install the Smart Life app (The app is free to use and download en is compatible with systems using iOS 8.0 and Android 4.4 or above.)

- You can find the app in the Apple App Store, Google Play Store, or you can scan the QR Code below;
- Log in with your current account or register a new one.
Connect your plug to the Smart Life app
Method A (Recommended)
- Make sure that the Smart Plug is connected to a working outlet.
- Open the Smart Life app and select “ADD DEVICES” or the “+” button at the upper right corner of the page and select “Electrical Outlet.
- Make sure that the indicator light flashes or long-press the ONN/OFF button for 5 seconds until the light flashes.
- Select the “Add Device” pop-up.
- Choose the local WiFi network and log in.
- Wait until the configuration is completed and select “Done”.
Method B (AP Mode). Use this method if method A doesn’t work.
- Make sure that the Smart Plug is connected to a working outlet.
- Open the Smart Life app and select the “ADD DEVICE” page.
- Select AP Mode in the upper right corner.
- Long press the ON/OFF button until the indicator light flashes and confirm the pop-up in the app.
- Choose the local WiFi network and log in.
- Wait until the configuration is completed and select “Done”.
- Select “Connect Now”, choose a WiFi hotspot named “Smartlife xxx”, then go back to the Smart Life app.
- Wait until the configuration is completed and select “Done”.
Getting to know the Smart Life app
A. Devices
On this page, you can add new devices by clicking on the “+” button and selecting a device in the list of “Listed devices”.
- Switches
“Switches” give you the possibility to control your devices as long you have an internet connection.
Tap the icon at the upper right of the page if you want to modify a device name or create a device group. With device groups, you can operate multiple devices at once. - Timer
You can schedule lights to wake up or shut down automatically. There are multiple ways to schedule devices.

B. Scenes
With “Scenes” you can create your own characteristic scenes.
C. Profile
The profile is the page where users can manage personal information.

Safety Information
The LUSQ Smart WiFi Plug is only to be used indoors and in a dry location only. The power outlet can only be used within its published outlet rating in the instructions. Please contact us for the warranty information if there’s any damage. Please plug the Smart Plug in a proper condition outlet and keep it away from children. Do not disassemble or modify the Smart Plug in any way, otherwise, it can be damaged. Your warranty will be canceled if you disassemble or modify the product in any way.
Connect with Google Home
Use your devices in combination with Google home. (This is possible after you have added the devices in the Smart Life app). Connect your Smart Life account with your Google Home account
- Open the Google Home app, tap the “+” button in the upper left corner of the homepage;
- Tap on “Set up device” and select “Works with Google, Have something already set up?”
- Enter “Smart Life” in the search bar and select the Smart Life app;
- Log in with your Smart Life account en verify;
- Go back to the “Home control” page and all your Smart Life devices are on the list.
- The devices are ready to be used in combination with Google Home and Google Assistant.

Connect with Amazon Alexa
- Open the Alexa app and choose “Skills” in the options bar, search “Smart Life” in the search bar and select “Smart Life” in the search results and tap enable;
- Log in with your Smart Life account and your Alexa page is linked with the Smart Life app.
Using your voice in combination with Amazon Alexa After connecting the Smart Life app with Alexa it is possible to operate your devices with your voice.
- Discover your devices. First, you need to say “Echo/Alexa, Discover my devices”. Echo will start finding the devices which are added in the Smart Life app, it will take about 20 seconds to show the result. You can also tap “Discover devices” in the Alexa app. It will show the devices that are found successfully. Note: “Echo” is one of the wake-up triggers, you can also use Alexa or Amazon.

- You can use your voice for various instructions like the example below. Alexa, turn on [Fridge socket] or Alexa, turn off [Fridge socket]. Note: The name of the device has to be exactly the same with the addition of the Smart life app.


Warranty
The LUSQ Smart Plug carries a one-year warranty from the purchase date. Feel free to let us contact us for any assistance.
[email protected]
![]()


















