

Instruction Manual
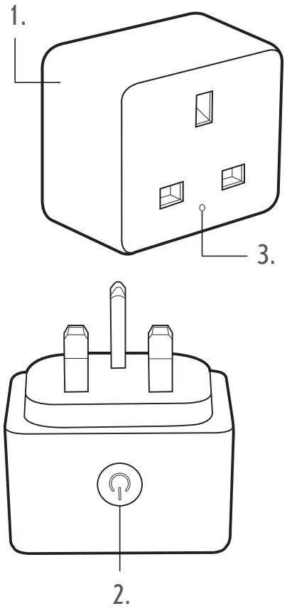
Description of Parts

- Smart Plug
- Power Button (POWER)
- LED Indicator Light
Please read all of the instructions carefully and retain them for future reference.
Safety Instructions
When using electrical products, basic safety precautions should always be followed. This product does not convert voltage. Check that the voltage indicated on the rating plate corresponds with that of the local network before connecting the product to the main power supply.
Keep the product out of the reach of children.
This product is not a toy and is not intended to be used by children.
This product contains no user-serviceable parts. If the product and any of its accessories are malfunctioning or damaged, recycle the product. Keep the product away from heat sources, direct sunlight, humidity, water, and any other liquid. Do not operate the product with wet hands.
Do not operate the product if it has been exposed to water, moisture, or any other liquid, to prevent electric shock, explosion, and/or injury to yourself and damage to the product.
Do not use the product for anything other than its intended use.
Do not use any accessories other than those supplied.
Do not use the plug with any heaters or heating appliances.
Do not overload plug or insert plugs in a row. This product is intended to be used individually, plugged directly into the main wall socket.
Do not put objects into any of the openings.
It is imperative to unplug the adaptor after the product has been used before it is cleaned. This product is intended for domestic use only. It should not be used for commercial purposes.
UP Global Sourcing UK Ltd. hereby declares that this product is in compliance with the essential requirements and other provisions of directive 2014/53/EU.
The declaration of conformity may be consulted at UP Global Sourcing UK Ltd.,
Victoria Street, Manchester OL9 ODD. UK. or www.intempo.co.uk/declaration-leffers.html
Care and Maintenance
Wipe the product with a soft, lint-free cloth.
Do not:
Use any abrasive cleaning solvents to clean the product.
Expose the product to extremely high or low temperatures.
Drop the product.
Attempt to disassemble the product.
Dispose of the product in a fire as it will result in an explosion.
Instructions for Use
Downloading the App
Search a device’s app store for the ‘Intempo Home’ app.
Download and install.
Note: The ‘Intempo Home’ app requires iOS 9.0 or Android 5.0 or higher to operate correctly.
Connecting the Smart Plug with a Device
STEP 1: Open the ‘Intempo Home’ app on an iOS 9.0 or Android 5.0 device.
STEP 2: Register a new account or log in with existing account details.
STEP 3: Select ‘ADD DEVICE’ and select
‘SOCKET (WA)’.
STEP 4: Plug the smart plug into a wall outlet. The LED indicator light will flash quickly to indicate the device is ready to pair.
STEP 5: Select ‘CONFIRM’ on the ‘Intempo Home’ app. STEP 6: Select the home Wi-Fi network from the list and enter the password. Select ‘NEXT’.
STEP 7: Please wait while the smart plug syncs with the app. Once three green dots are displayed at the bottom of the screen, the smart plug is fully connected and ready to use.
Note: The smart plug will only work with 2.4 GHz frequency Wi-Fi — make sure to connect to a compatible network.
If the LED indicator light does not flash once the smart plug is plugged in, press and hold ‘POWER’ for 8 seconds until the LED indicator light begins to flash.
Do not connect the smart plug to an extension lead or adapter. The smart plug is intended for use directly in a wall outlet.
Troubleshooting
The smart plug has no power.
The wall outlet has no power. Check that the wall outlet is switched on and there are no issues with the home mains power supply.
The smart plug is incompatible with the main power supply. Check the mains power supply output matches the smart plug rating label.
The smart plug is not connected.
Wi-Fi is not compatible with the device. The smart plug is only compatible with a Wi-Fi frequency of 2.4 GHz.
Home Wi-Fi is not on. Check that the home Wi-Fi hub is powered on and reboot if necessary.
The Wi-Fi password is incorrect/has changed. Check the correct Wi-Fi password has been entered in the ‘Intempo Home’ app. If the password has changed, follow the ‘Connecting the Smart Plug with a Device’ section to reconnect the smart plug with the ‘Intempo Home’ app.
Issues with the ‘Intempo Home’ app.
For any issues with the ‘Intempo Home app, check the in-app help center for troubleshooting or contact information.
Specifications
Product code: EE5012
Input: 220-240 V — 50 Hz Max. 13 A
Operating frequency: Wi-Fi 2.4 GHz
Software: Compatible with iOS 9.0 and above or Android 5.0 and above
Manufactured by
UP Global Sourcing UK Ltd.,
Victoria Street,
Manchester 0L9 ODD. UK.
Made in China.
www.intempo.co.uk

CD090320/MD000000N1


















