Frankfort Articulating Wall Light
Item # ARN 2002
NOTICE:
This light fixture should be installed in accordance with all applicable, local installation codes, and by a person familiar with the construction and operation of it, as well as the hazards involved. Inspect item and contents carefully. If any damage or defect is found, do not install. Retain all packaging material until installation is complete and approved.
TOOLS REQUIRED (NOT INCLUDED):
| Phillips Screwdriver | Slotted Screwdriver | Drill |
| Hammer | Pencil |
- Carefully remove all parts from the box. Place on a clean, soft surface.
- Remove portable mounting plate (Q) from fixture body (C) by unscrewing side screws (M).
- Using the portable plate (Q) as a guide, line up with the wall and mark anchor positions.
- Using a drill bit slightly smaller than the anchor, drill holes in the marked positions. Install anchors (A) into the holes using hammer.
- Install portable mounting plate (Q) to wall by securing wood screws (B) to anchors (A).
- Install fixture body (C) to portable mounting plate (Q) and secure with side screws (M).
- Thread cord covers (D) & (E) to fixture body (C).
- Insert light bulb into the socket.
- To adjust the fixture arm (J) loosen the adjustment knob (H), adjust to desired position, then tighten knob (H).
- Using handle (O), swing shade (K) left or right to adjust position.
- Remove protective plug cover (G) from plug (F).
- Plug into a proper electrical outlet and test the fixture.
Care Instructions: Clean only with a soft dry cloth or feather duster. Do not use abrasive or chemical agents.
ASSEMBLY INSTRUCTIONS
Portable assembly

Hardwire assembly

NOTICE:
This light fixture should be installed in accordance with all applicable, local installation codes, and by a person familiar with the construction and operation of it, as well as the hazards involved. Inspect item and contents carefully. If any damage or defect is found, do not install. Retain all packaging material until installation is complete and approved.
TOOLS REQUIRED (NOT INCLUDED):
| Phillips Screwdriver | Slotted Screwdriver |
- Carefully remove all parts from the box. Place on a clean, soft surface.
- Remove portable mounting plate (Q) from the fixture body (C) by unscrewing the side screws (M).
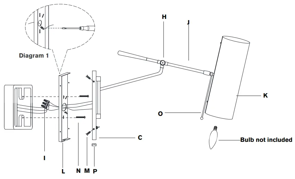
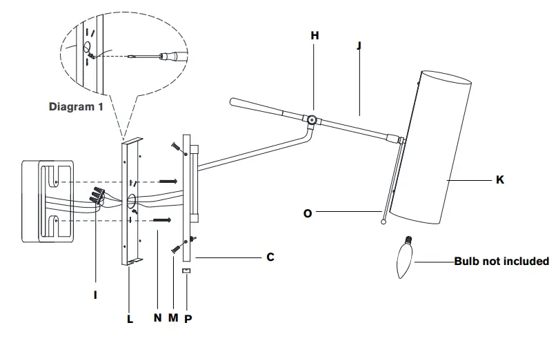
- Install hardwire mounting plate (L) to the junction box and secure with mounting screws (N).
- Remove the portable cord by unscrewing wire nuts (I).
- Install direct wire plug (P) into the wire exit on the bottom of fixture body (C).
- Wrap fixture ground wire (bare copper) around the green grounding screw (see diagram 1). Tighten. Continue fixture ground wire and connect to supply ground wire (usually green or bare copper) using wire nut (I).
NOTE: It is imperative that the fixture is grounded. - Connect fixture neutral wire (white) to the supply neutral wire (usually white) using wire nut (I).
- Connect fixture hot wire (black) to the supply hot wire (usually black) using wire nut (I).
CAUTION: Do not reverse the hot and neutral connections. - Make sure all wire connections are tight, then carefully tuck into the junction box.
Hardwire assembly
NOTICE:
This light fixture should be installed in accordance with all applicable, local installation codes, and by a person familiar with the construction and operation of it, as well as the hazards involved. Inspect item and contents carefully. If any damage or defect is found, do not install. Retain all packaging material until installation is complete and approved. - Install fixture body (C) to hardwire mounting plate (L) and secure with side screws (M).
- Insert light bulb into the socket.
- To adjust the fixture arm (J) loosen the adjustment knob (H), adjust to desired position, then tighten knob (H).
- Using handle (O), swing shade (K) left or right to adjust position.
Care Instructions: Clean only with a soft dry cloth or feather duster. Do not use abrasive or chemical agents.
![]()
![]()
![]()
NOTICE:








