AISHINE AI-LS006 Ultra Long Standby WiFi Security Camera

Quick guide of Wi-Fi camera function
- Download & Install Free App <CamSC> from App Store or Google Play;
Tips: Please allow “CamSC” to notification, Bluetooth and location while using the App. - Enter App, select your region at the top right corner and register;
Tips: If a code doesn’t arrive, please check the spam folder first. - Take off back cover–>lnsert micro SD card –> Turn back ON/OFF switch, press reset key 4 seconds till a beep sound (Pairing mode is ready now).
- Enter App, Click+ » Smart Home » Pairing Mode » Click device name>> Select Wi-Fi >> Input password > NEXT.
- Device online in around 10 seconds & Wi-Fi live video is ready.
P.S.: Contact local dealer for tutorial video setting up.
Overview
The Ultra Long Standby WiFi Security Camera, it is built with high tech of super low power consumption 450μA/hour to save energy for around 1 year standby after being fully charged.
First, it can be used for watching live streaming video day and night (night vision around 5 meters), or taking photo and video by APP in smart-phone remotely after WiFi connected;
Second, its PIR sensor will make precisely motion detect recording for surveillance use (around 5 meters distance and 2 meters height) . Also, it has cycle recording and work when charging.
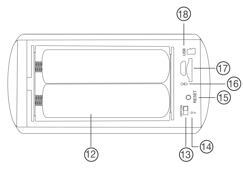
Usages: Nanny camera, Home/ Shop/ Office/ Warehouse surveillance camera ….. .
Warning : ” illegal use is not allowed! Or, there will be consequences to bear!
In the box:
| 1 x Camera Unit | 1 x Micro SD Card Reader |
| 1 x USB Cable | 1 x User Manual |
Product structure

① camera
② Light sensor
③ Clock speaker
④ Invisible night vision leds
⑤ PIR sensor
⑥ Time display
⑦ Camera speaker
⑧ ⑩ + –
⑨ Time setting
⑪ wake up/Alarm switch

⑫ Batteries
⑬ ON/OFF switch
⑭ WiFi indicator
⑮ Reset key
⑯ Charging indicator
⑰ Micro SD card slot
⑱ USB Port
Reset key tips
One press to restart device;
4 seconds press to pair with WiFi (First double beep);
6 seconds press to reset device (Second double beep).
Wi-Fi indicator tips
Blue LED blinking when pairing with WiFi;
Turn off when WiFi paired;
Blink once when motion detected.
Charging indicator tips
Solid red when charging, and off when fully charged.
Clock part setting
Short press = Wake up (Sleep in 10 seconds when no operation)
Long press = Turn off / on alarm
12h/24h
Time setting
Wi-Fi Camera Connection Setting
Step1: CamSCAPP
- Scan below QR code or search and download free APP named <CamSC> in Apple APP store, Google play or Electronic market, and install it;
APP: CamSC
- Open APP CamSC, select current region at the top right corner. Register with email, or third-party account like Facebook or IOS account. (Tips: If a code doesn’t arrive, please check the spam folder first.)

Step 2: Take off back cover–> Insert micro SD card –> Turn back ON/OFF switch (WiFi indicator is solid blue.);
Step 3: Connect WiFi
- Press Reset key 4 seconds till a beep sound(WiFi indicator blink slowly and ready for pairing WiFi);
- Open APP CamSC »Click+» Smart Home» Device in pairing mode >> CAM-xxxxxx.

- Click> at the end of WiFi to select the local router WiFi, then input password.
- Click NEXT and wait around 10 seconds to finish the configuring; Device Binding Successful and online now.

- Click
in APP’S first interface, select Time Zone and choose
Time Zone to ensure live streaming video with the set time zone.
Camera Normal Status:
- Camera always in standby mode;
- Once motion detected, it will push a notification to phone, do a snapshoot and record a 15 seconds video clip into memory card;
- Sleep and alert after 1 minute once motion detected again.
Set name: Press the
after the camera, select Device Name
–> Input needed name like Office, Living room etc …

APP Introduction






Specification
| Resolution | 2 Mega CMOS |
| Video pixel | 1920’1080 |
| Compressed format | H.264 |
| View angle | 145 Degree |
| Type of memory card | TF card>=Class 4/10 and HC marked |
| Maximum capacity of memory card | 64GB |
| Mobile phone operation system | Android/iOS |
| Compatible router | 2.4G and Mobile hotspot |
| Two way talking | Yes |
| PIR alarm pictures in server | 15days |
| Battery capacity | 2x2600mAh |
| Standby power consumption | 500μA |
| Power consumption | 350mAh |
| Power consumption with night vision | 610mAh |
| Recording | 1 minute/ around 24MB |
| Standby time | Around 1 year |
| Charging time | Around 12 hours |
| Power adapter (not include but needed) | 5V/2A |
This device complies with part 15 of the FCC Rules. Operation Is subject to the following two c-0rditlons: (1) this device may not cause harmful interference, and
(2) This device must accept any interference received, including interference that may cause undesired operation.
Changes or modifications not expressly approved by the party responsible for compliance could void the user’s authority lo operate the equipment. This equipment has been tested and found to comply with the limits for a Class B digital device, pursuant to Part 15 of the FCC Rules. These limits are designed to provide reasonable protection against harmful interference In a residential Installation. This equipment generates uses and can radiate radio frequency energy and, If not Installed and used in accordance with the Instructions, may cause harmful interference to radio or television However, there is no guarantee that interference will not occur in a particular installation. If this equipment does cause harmful interference to radio or television reception, which can be determined by turning the equipment off and on, the user Is encouraged to try to correct the Interference by one or more of the following measures:
- Reorient or relocate the receiving antenna.
- Increase the separation between the equipment and receiver.
- Connect the equipment into an outlet on a circuit different from that to which the receiver Is connected.
- Consult the dealer or an experienced radio/TV technician for help.
This equipment complies with the FCC RF radiation exposure limits set forth for an uncontrolled environment. This equipment should be installed and operated with a minimum distance of 20cm between the radiator and any part of your body.

FAQ
Yes.
Keep searching WiFi signal 3mins, 10mins, 1 hour, 2 hours, 5hours,24hours later; If WiFi on, it will be connected to WiFi automatically.
Mode)?
Delete the App and Download again to test, and agree all permissions (Allow notification, Bluetooth and location).






















