GPW-6 Ghost In-Wall Speakers
User Manual
Thank you for purchasing this TruAudio product. Like all of our products, if installed correctly, these speakers will bring you years of outstanding listening enjoyment. Please make sure you take the time to read the complete instruction manual before starting the installation. If you have any questions, concerns or comments, call our main office at 888-858-1555. Please NOTE: These speakers should only be installed by a TruAudio Certified Dealer. If these are NOT being installed by one of our dealers, the warranty could be void.
Box Content
Each TruAudio Ghost In-wall speaker contains the following:
- Ghost In-wall speaker
- Ghost-style white paintable grill
- Angled 25° Wave Cone, plus one straight Wave Cone installed in speaker
- Cutout template
Choosing the Speaker Location
The Ghost In-wall speakers can be mounted either horizontally or vertically with almost identical performance.
Left and Right speaker placement: Place the Left and Right speakers on either side on the video screen. You should try to place the tweeters as close to ear level as possible (36″ – 44″ off the floor). Also keep the speakers 6 to 12 feet apart and at least 16″ away from the wall. (Figure 1)
Ideally you want to place the center channel at the same level as the left and right speakers (36″ to 44″ from the floor). If you must place the center channel above or below the screen, keep the distance to a minimum between the left and right this will help keep a more even sound between the three speakers. 
Changing the Wave Cone
Each Ghost in-wall speaker will come with a straight Wave Cone that is already installed with the speaker, plus an additional angled Wave Cone set at 25°. These Wave cones are designed to improve the front soundstage that has always been a draw back with in-wall speakers.
The Straight Wave Cone is designed for Center Channel installation.
The angled Wave Cone is set at a 25° for left and right installations.
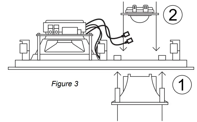
To change the Wave Cone, first remove the four outer screws (Figure 3). Before removing the Wave Cone you will also need to remove the three screws around the tweeter.
Now pull the tweeter off the Wave Cone and set to the side, being very careful not to damage the tweeter. Do not disconnect the wires on the tweeter. Remove the Wave one from the front of the speaker and replace it with the new Wave Cone. Secure the new Wave Cone with the four screws and place the tweeter back on the Cone. There are different screw holes for the tweeter on the angled and straight Wave Cones. Make sure that the tweeter sits properly into place with the tabs on the Wave Cone before fastening the tweeter screws. Figure 3
Be very careful with the tweeter to avoid any damage!
Now the speaker is ready to be installed into the wall.
Preparation before Speaker Installation
If the home was pre-wired for speakers at construction time, TruAudio rough-in kits nay have been used prior to drywall at each speaker location.
(There should also be speaker cable at this location).
After the drywall is installed and the hole is cut, the speaker is then easily installed. Once the hole is cut in the drywall, the pre-wired speaker cable should be in the wall near the hole. If rough-in speaker rings were used, move on to “Speaker Installation”.
If the speaker hole has not been cut from the drywall please read the following instructions:
Find the location to where the speaker wire was pre-wired to.
Check the area for obstructions such as plumbing, heating ducts or electrical wiring.
Locate the wood studs or joists nearest the desired location and make sure they will not interfere with speaker location. Use the supplied speaker cutout to get the recommended dimension of the hole needed for that particular speaker. Position the cutout in the desired location and outline the speaker opening to be cut. If you are not sure of possible obstructions,
cut a small hole in the center of your outline. This will allow you to check for obstructions. If there are no problems with your mounting location, proceed and cutout the outlined hole. At this point, you should be able to see or find the speaker cable. Pull the cable through the hole.
If the wall is not insulated, we suggest using TruAudio model FE-24, an in-wall foam enclosure that will greatly improve the speakers sound. Other options for sound dampening material would include typical insulation or Dacron. If this material has a foil layer, position the foil away from the speaker magnet.
Speaker Installation
These speakers are mono so you will need two speakers for stereo sound, one for the right channel and one for the left. There should be a two conductor speaker cable pre-wire to each of the speaker locations.
Make sure you find each of the speaker cables and pull them though the cut speaker holes.
Remove the speaker from the box and inspect for any damage. If there is any damage, contact TruAudio immediately at 888-858-1555.
Backbox Option: The Ghost In-wall series speakers offer optional backboxes (part number BB-GW6 for GPW-6 speakers, or part number BB-GW8 for GPW-8 speakers) that can be purchased separately. If you are using the backboxes, now is the time to attach them to the speakers. Please follow the instructions that come with the backbox.
Preparing the speaker cable: You should have located the speaker cable by now, so it’s time to prep it for connection to the speaker. Strip back the outside insulation so the individual conductors are showing. Depending on the cable, there should be two or four separate conductors. Strip back the insulation on each conductor to show the bare copper wire. We suggest stripping enough so that 3/8” of copper wire is showing. Push down each post and insert the speaker cable. The posts will be located on the back of the speaker on the crossover. Make sure that only BARE wire is touching the speaker post once it slides back into place. All TruAudio products feature gold push binding posts which are quick and simple to use and also are great for conducting speaker signal.
Caution: Make sure to observe polarity, R + (positive) from the amp or volume control to speaker R + and R – (negative) to R –. Make sure to do the same for the left channel.
When connecting the other end of the speaker cable to the amplifier or receiver make sure to observe the same polarity as you did at the speaker connection. To prepare the speaker for the actual installation, turn all the mounting toggles (dog ears) in toward the speaker frame. This will allow the speaker to easily fit into the precut hole. Put the speaker into the hole (the speaker cable should be connected) and make sure the speaker cable stays connected to the speaker. Carefully tuck the speaker cable up into the hole as you put the speaker into place. Hold it in place with one hand and with your other hand carefully tighten the mounting screws evenly to secure the speaker. As you tighten the screws, the dog ears will flip into position to grip into the drywall. DO NOT over tighten the mounting screws. This will cause damage to the mounting toggle and the speaker will not stay in place.
Adjust the Level Control: Some of the Ghost series models offer level control to adjust the high and low output. If your speaker offers this functionality, the switches are located on the front face of the speaker. You can adjust these controls to get more or less high frequency and more or less bass. Adjust the switch to each setting until you get the desired amount of high frequency and then do the same for the bass. We suggest starting at -3dB and then from there you can increase or decrease the desired level. The adjustments are -6dB, -3dB and 0dB.
Grill installation: Remove the grill from the box and install it onto the speaker. Align the grills edges to the outer edge of speaker and allow magnets to attach grill to speaker, then carefully push the grill on. Make sure to check all the way around the grill to ensure its sitting on the speaker evenly.
Painting the Grills
If you are going to paint your grills, we suggest painting the grills before Installation. This is one of the advantages of the Ghost series speakers – the speaker itself does not need to be painted, only the grill. The Ghost series is a frameless speaker and will save time on labor since the grill can be painted beforehand and be ready for installation at the same time as the speakers.
When painting the grills, it is very IMPORTANT that you remove the cloth-like material (Dacron) from the grill before painting. Paint the grills lightly and be careful not to clog the holes. Depending on the thickness of the paint, you may want to thin it slightly. This will help prevent clogging the grill holes. Another suggestion is finding a spray paint that will match and paint the grill with that. Do not paint the grill while it’s still on the speaker, paint them separately.
GPW-6
Specs: In-Wall, 2 Way
Woofers: 6 1/2″ White Polypropylene
Tweeters: 1” silk soft dome
Power: 5 – 100 watts
Impedance: 8 ohm
Frequency Range: 45 – 20kHz.
Sensitivity: 89dB (2.83 volts @ 1 meter)
EQ Adj: Tweeter & Woofer 0, -3, -6
Grill: Ghost Style, Frameless
Finish Dimensions: 12″ 7/8 (326mm) H,
9 1/8″ (233mm) W, 3 3/4″ (96.5mm) D
Cutout Dimensions: 8″ (203mm) H,
11 5/8” (295mm) W
GPW-8
Specs: In-Wall, 2 Way
Woofers: 8″ White Polypropylene
Tweeters: 1” silk soft dome, swivel
Power: 5 – 125 watts
Impedance: 8 ohm
Frequency Range: 40 – 20kHz.
Sensitivity: 90dB (2.83 volts @ 1 meter)
EQ Adj: Tweeter & Woofer 0, -3, -6
Grill: Ghost Style, Frameless
Finish Dimensions: 14 5/8″ (370mm) H,
10 3/8″ (264mm) W, 3 7/8″ (98.56mm) D
Cutout Dimensions: 9 1/4″ (234mm) H,
13 3/8” (340mm) W
SoundVision Technologies dba TRUAUDIO
SPEAKER PRODUCT WARRANTY
All in-ceiling, in-wall, in-room speakers and volume controls have a limited lifetime warranty. This warranty includes lifetime parts and repair labor on all components. The warranty extends only to the original purchaser of the product and not to any subsequent owner. TRUAUDIO’s obligation under these warranties is limited to repairing or replacing any component found defective in material or workmanship under normal conditions of use with an equal and/or current product. These warranties shall not apply to products which have been abused, modified, or disassembled. Products to be repaired or returned under this warranty must be returned to the factory through an authorized TruAudio dealer with all transportation and insurance charges prepaid.
It is the policy of TRUAUDIO to continuously incorporate improvements into our products. All specifications are subject to change without notice. If you have any questions regarding this or any other TRUAUDIO products, please call 1-888-858-1555, Monday Friday, 7:00 am – 6:00 pm MST.
TRUAUDIO Speaker Systems, St. George, Utah, 84790
Office: 435.986.1574 Fax: 435.251.981500000000


















