FOCAL 200 ICW6 In-Wall Speaker

Specifications
LITTORA 200 ICW6
- Diameter 6.5″
- Recommended amp power 25 – 130W
- Nominal impedance 8 ohms
- Minimal impedance 4.2 ohms à 150Hz
- Sensitivity (2.83V/1m) 89dB
- Frequency response 65Hz – 28kHz
- Tweeter ‘M’-shaped aluminium dome
- IP certification IP65 (ASTMB117)
- Tweeter setting Indoor/Outoor switch
- Crossover setting Ready-to-paint aluminium
- Grille Yes (ASTMG53)
- UV resistance -25°C à 90°C
- Number of mounting points 4
- Connector DT06-2S sealed
- Mounting depth 33/4″ (95.5mm)
- Certifications ROHS, ROHS 2, ROHS CHINE, REACH
LITTORA 200 ICW8
- Diameter 8″
- Recommended amp power 25 – 150W
- Nominal impedance 8 ohms
- Minimal impedance 4.2 ohms à 150Hz
- Sensitivity (2.83V/1m) 90dB
- Frequency response 48Hz – 28kHz
- Tweeter ‘M’-shaped aluminium dome
- IP certification IP65 (ASTMB117)
- Tweeter setting Indoor/Outoor switch
- Crossover setting Ready-to-paint aluminium
- Grille Yes (ASTMG53)
- UV resistance -25°C à 90°C
- Number of mounting points 4
- Connector DT06-2S sealed
- Mounting depth 41/2″ (113mm)
- Certifications ROHS, ROHS 2, ROHS CHINE, REACH
INSTRUCTIONS
READ THIS FIRST!
IMPORTANT SAFETY INSTRUCTIONS
| Warning symbol. This symbol is designed to warn the user of the presence of important instructions mentioned and relating to the handling, operation and maintenance of the device. | ||
| 1. Read these instructions. 2. Keep these instructions. 3. Heed all warnings. 4. Follow all the instructions. 5. After removing the product from its packaging, keep the packaging out of the reach of children. It could present a suffocation risk. 6. Never use chemical products or abrasive detergents to clean the device. Only clean with a dry cloth. 7. Do not obstruct ventilation openings. Follow the manufacturer’s instructions for installing the device. 8. Do not install or store the device close to a heat source such as a radiator, cooker, heat vent or any other appliance that gives out heat. 9. The device must not be exposed to temperatures above 65°C. 10. Do not subject the product to continuous dripping water. 11. Do not install the product in areas liable to submersion. 12. Do not insert any objects into the device’s ventilation openings. They could touch one of the high-voltage components or short-circuit them and cause a fire or electric shock. 13. If the product emits smoke or an unusual smell, immediately turn off the power supply (put it in standby mode) and stop using it. Contact your retailer as soon as possible. 14. Use accessories recommended by the manufacturer. 15. If cords or connectors are supplied, use them properly as described in the user manual without substituting them or modifying them. | 16. Do not attempt to repair this device yourself. Opening the device may expose you to dangerous voltages or other risks. 17. All maintenance tasks should be performed by a qualified professional. Maintenance is required following any damage to the device, such as damage to the cabling or the plug, objects inserted into the device, liquids spilled inside the device, or if the device is incorrectly operated or dropped. 18. After any maintenance or repair work on the device, ask the maintenance technician to test it to check that it is working safely. 19. When replacement components are needed, make sure that components recommended by the manufacturer or components with exactly the same technical features as the original product are used. Using non- compliant components could cause fires, electric shocks or other risks. 20. Any damage to the product will invalidate its IP certification. As such, if any liquid or solid comes into contact with the product then it could present a danger to the user or could damage a third party electronic device connected to the product. 21. If a subwoofer is installed, it is important to secure the system by attaching it firmly. We recommend that you fix the sub to the floor or a wall for safety. If it is not properly installed, it could become a projectile in the event of an accident. This point is even more paramount if the enclosure is installed in an open space. | 22. If the product is to be installed on a boat: when sailing and manoeuvring, be sure to use your audio system at a reasonable volume so as not to compromise your safety or that of others. At anchor, respect the regulations in force on noise pollution. 23. Some users are not sufficiently autonomous to use the product alone without danger. In particular, children under the age of 14 and people with certain disabilities must be supervised and/or accompanied when using the device. 24. To avoid damaging your hearing, do not listen to loudspeakers at high volumes for long periods of time. Listening to loudspeakers at high volumes can cause damage to the user’s ears and may lead to hearing problems (temporary or permanent deafness, buzzing in the ears, tinnitus, hyperacusis). Exposure to excessive volumes (over 85 dB) for more than one hour can cause irreparable damage to your hearing.
(IEC 60417-6044) |
The methods of installing and mounting loudspeakers to any surface (bracket, ground anchoring, etc.) depend on the conditions and standards of installation, refurbishment, safety and cabling in force and applicable to the surfaces and/or brackets involved. In addition, the products may vibrate and damage the brackets onto which they are mounted. For this reason, the installation operations must be performed by a qualified professional who is familiar with installation and safety standards. Focal does not provide any end-of-use warranty for a given bracket or installation, as installing the loudspeakers is the customer’s sole responsibility. Focal is therefore not liable in any capacity whatsoever in the event of incident, accident and/or any other result or damage of any kind related to the installation of loudspeakers.
Please validate your Focal-JMlab warranty, it is now possible to register your product online at: www.focal.com/garantie
Thank you for purchasing a Focal product. Welcome to our High-Fidelity world. Innovation, tradition, excellence and pleasure are our values; our one and only aim is to bring you a sound that is rich, pure and true. To get the most out of your product, we recommend that you read the instructions in this booklet, then store it in a safe place to refer to in the future.
Package contents
- 1 x loudspeaker from the 200 Series range
- 1 x circular grille
- 1 x cable connector
- 1 x quickstart guide
- 1 x set of safety instructions and warranty terms and conditions

Key points
- Aluminium ‘M’-shaped dome tweeter: The tweeter uses Focal’s exclusive ‘M’-shaped dome technology, which enables optimum transfer of energy and ideal directionality. The dome’s aluminium, a material resistant to corrosion, guarantees exceptional performance in terms of lightness and damping, to provide a silky and dynamic treble.
- Speaker driver with Iris IP cone: All the cones in the speaker drivers from the 200 Series range are made using Iris IP sandwich technology. The Iris IP is a cone that integrates carbon fibre with polypropylene, offering excellent performance in terms of rigidity and ideal damping at mid-frequency. The co-moulded
- Santoprène® surround of the speaker driver ensures reliability in harsh environments and long-term stability.
- Protection grille: Easy to fit and good integration. Does not rust.
- Indoor/outdoor mode filtering: The performance of the speaker driver can be adapted depending on whether it is part of an indoor or outdoor system. To do this, click a button on the rear panel of the speaker driver (fig. 3).

- IP65 certification: The product is fully sealed against the ingress of dust and is protected against water jets.
Choosing an amplifier
It is not an excess of amplifier power that can damage your loudspeaker and drivers, but rather a lack of power. In fact, if the volume is too high, the amplifier saturates and generates parasite signals that may destroy the tweeter. The dynamic capacity and definition of Integration 200 Series loudspeakers are high enough to reveal the strengths and weaknesses of whatever amplifier is connected to them. It is recommended to use an amplifier that delivers 20% more power than the system’s total power to avoid a surge or damage to the products. Your retailer will guide you depending on your tastes and budget. Ensure that you follow the recommendations for your amplifier in order to correctly connect each 200 Series product.
Loudspeaker positioning
The loudspeakers in the 200 Series range have been developed to deliver the most faithful sound reproduction for any style of music. Nonetheless, a few simple rules should be followed to optimise their performance and to guarantee good tonal balance and a realistic sound image.
Use in multiple loudspeaker systems (ceiling)
For use in multiple loudspeaker systems (each loudspeaker working independently of the others), the loudspeakers can be installed according to your requirements and the constraints of the space. However, take care not to install the loudspeakers too close to a wall or a corner, to avoid excessive low-frequency levels.
Pre-installation wiring
You can only install your speakers once you have wired them up. Make sure you leave enough cable length to be able to connect your product with ease. We recommend using a cable with a marker to ensure the polarity of the speaker drivers is respected (+/-). Choose good quality cables with a cross-section appropriate for their length: your dealer will be able to advise you.
INSTALLATION
- The methods of installing and mounting loudspeakers to any surface (wall, ceiling, etc.) depend on the conditions and standards of installation, the layout, safety and cabling in force and applicable to the surfaces and/or brackets to which they are fixed. In addition, the products may vibrate and damage the brackets in which they are installed. For this reason, the relative installation operations must be performed by a qualified professional who is familiar with installation and safety standards. Focal does not provide any end-of-use warranty for a given bracket or installation, as installing the loudspeakers is the customer’s sole responsibility. Focal is therefore not liable in any capacity whatsoever in the event of an incident, unhooking, fall, accident and/or any other result or damage of any kind related to the installation of loudspeakers.
- Before installing the loudspeakers, ensure that the intended positions on the ceiling/wall/ground are not obstructed, by the routes of air vents for example, or any cables that may interfere with the installation. Use the appropriate tools to help you determine suitable locations for the installation.
- These products are IP65 certified, meaning they have increased water resistance and are fully dustproof. To protect their lifespan, however, we do not recommend exposing them to permanently running water, and never immerse them in water. After heavy rainfall, we recommend waiting a few hours before turning them on again; allowing them to dry-out naturally will restore nominal audio functioning.
- It is possible to install our speaker drivers in our angled brackets (6”, 8”, 10”) available as accessories. This will allow you to angle the speaker driver installed by 30°.
Existing construction
- Ensure that the ceiling/wall is thick enough to allow the product to be installed.
- You can only install your loudspeakers once you have wired them up. Link them with the cable connector supplied to ensure they are fully sealed (fig. 2). Make sure you leave enough cable length to connect your product with ease (approximately 19 3/4″/50cm) (fig. 3). We recommend using a cable with a marker that ensures the polarity of the speaker drivers is respected (+/-). Choose good quality cables with a cross-section appropriate for their length: your dealer will be able to advise you.
- The loudspeaker is fitted to the wall and ceiling using rotating brackets. To do this, place the loudspeaker into the cut-out opening and turn the screw on the mounting brackets clockwise to tighten it using a Phillips screwdriver or a screw-gun. If using a screwdriver, make sure that the tightening torque is set to a low value to avoid damaging the mounting brackets
(fig. 5). The loudspeaker is adequately attached when you feel resistance at the end of tightening.
New construction
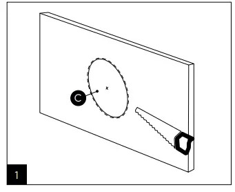
- Use a suitable tool to cut a circular opening in the ceiling/wall (fig. 1).

- Prepare the cables and make sure you leave enough cable length to be able to connect your product with ease (approximately 193/4″/50cm). Link them with the cable connector supplied to ensure they are fully sealed (fig. 2).
We recommend using a cable with a marker to ensure the polarity of the speaker drivers is respected (+/-). Choose good quality cables with a cross-section appropriate for their length: your dealer will be able to advise you (fig. 3). - The loudspeaker is fitted to the wall using rotating brackets. To do this, place the loudspeaker into the cut-out opening and turn the screw on the mounting brackets clockwise to tighten it using a Phillips screwdriver or a screw-gun. If using a screwdriver, make sure that the tightening torque is set to a low value to avoid damaging the mounting brackets (fig. 5). The loudspeaker is adequately attached when you feel resistance at the end of tightening.
SPECIAL PRECAUTIONS
Maintenance
To clean your 200 Series loudspeakers, simply dust using a dry cloth. If the loudspeaker is marked, we recommend that you use just a damp duster. Never use solvents, detergents, alcohol or corrosive products, scrapers or scouring utensils to clean the surface of the loudspeaker.
Paint
The grille on the 200 Series products can be painted to blend in with your environment. For best results, clean the surfaces you want to paint with a gentle detergent to remove any traces of grease and sand them gently with a very fine-grit sandpaper (around 300 grit). Remove the grille and paint it using a paint gun. We recommend adding protection behind the grille so as not to risk painting other elements. The paint used can be the same type as the paint used on the walls . Ensure that you do not clog the grille with paint, as this would alter the unit’s sound quality.
Running-in period
The speaker drivers used are complex mechanical assemblies which need a running-in period to operate at their best and to become acclimatised to the temperature and humidity of your environment. This running-in period varies depending on the conditions in question and may take several weeks. To reduce this time, we recommend operating your speaker drivers for about 20 hours at a moderate volume. Once the speaker drivers’ characteristics have totally stabilised, you will be able to enjoy your Integration Littora 200 loudspeakers’ performance to the full.
Warranty terms and conditions
Outside France, Focal equipment is covered by a warranty for which the terms and conditions are determined or implemented locally by the official Focal distributor for each country, in accordance with the laws in force in the region in question.






We recommend using a cable with a marker to ensure the polarity of the speaker drivers is respected (+/-). Choose good quality cables with a cross-section appropriate for their length: your dealer will be able to advise you (fig. 3).


















