
NS-IW760
IN-WALL SPEAKER
CONTENTS
CONSUMER PRECAUTIONS. ………. 2
UNPACKING… 3
TOOLS NEEDED…….. 3
SPEAKER PLACEMENT……… 3
INSTALLATION… 4
CONNECTIONS. ….. 6
PAINTING THE SPEAKER FRAME AND GRILLE ………. 7
SPECIFICATIONS ………. 7
WARRANTY. .. Back cover
OWNER’S MANUAL
CONSUMER PRECAUTIONS
Read these precautions carefully before installing your NS-IW760 speaker.
- Before you begin installation, read this owner’s manual and consult your local building codes. If you have any
doubts or reservations, contact your dealer or a qualified audio/video installer. - YAMAHA recommends installing the speaker only in two-by-four wood frame or similar construction. The instructions provided in this owner’s manual are intended specifically for this type of wall construction.
- When installing your NS-IW760 in-wall speaker, be aware of the product weight (See specification page) and the sturdiness of the material into which you are installing the speaker.
- Be aware of any concealed studs, electrical wiring or plumbing in the wall or ceiling into which you are installing the speakers. If you are not sure of a safe way to install these speakers, consult a professional installer or a building contractor.
- Never touch the woofer or tweeter units with your hands or expose it to excessive physical shock. If it is dented or bent, the sound will be distorted.
- Lower the power amplifier/receiver volume control before changing input sources. Never change input sources (for example, FM to CD) at high listening levels. Always turn the receiver/amplifier unit off when installing or removing any cables.
- Anytime you note distortion, reduce the volume control on your power amplifier/receiver to a lower setting. Never allow your power amplifier to be driven into “clipping.”
- Secure placement or installation is the owner’s responsibility. YAMAHA shall not be liable fo any accident caused by improper placement or installation of speakers.
WARNING:
Installation shall be in accordance with the applicable section of the National Electrical Code, ANSI/NFPA 70, and/or the National Fire Alarm Code, ANSI/NFPA 72, as applicable. The wiring method and compartment shall be such as not to interfere with the operation of the speaker.
2
UNPACKING
After unpacking, check that the following items are contained.

NS-IW760 Speaker x 2

Grille x 2

Cutout template x 1

Paint Protective Coverx2

Glue Strips x2
TOOLS NEEDED
Pencil
Drill
Drywall saw
Wire strippers
Gloves
Small level
Sturdy wire (such as a coat hanger)
Phillips screwdriver
Safety goggles
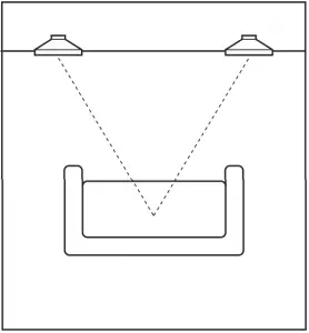
SPEAKER PLACEMENT
Though this speaker is a magnetically shielded type, there may be some influence on a TV picture depending on the type of TV or the placement of the speaker. In such a case, place the speaker apart from the TV so that there is no influence on the TV picture.
- Stereo
For best stereo performance, install the left and right speakers at equal distance from the listening position. Each speaker should be separated by a distance of 6- 10 ft. The center of the speaker should be placed at the listener’s ear level.

- Home Theater
Install the left and right front speakers on either side of your TV, with the center of the speaker at the listener’s ear level. The center channel speaker can be installed horizontally above or below the TV. Surround speakers should ideally be placed behind the listening area, at least as far apart as the front speakers and up to 2 additional feet apart per side. The height of the speaker should be at a minimum of ear level or preferably somewhat higher.

3
INSTALLATION
Before installation, check to ensure that the area you are installing the speaker is free of any wall studs, either by tapping the wall or using a stud finder.
If you wish to paint the speaker frame and grille, please refer to page 7 “PAINTING THE SPEAKER FRAME AND GRILLE” before proceeding.
- Position the cutout template where you are installing the speaker. Make sure the template is level, then trace around the template with a pencil.

2 Drill a pilot hole in the center outline you traced.

3 Insert the bent coat hanger wire into the hole. Then slowly rotate to check for any obstruction. If there is any obstruction, patch the hole and select another location.

4 Cut the wall along the outline you traced.

5 Run high quality speaker cable from your receiver to the speaker. Leave a few extra feet of cable.

Note:
You can insulate the cavity by placing a sheet of fiberglass insulation around the speaker components to improve speaker performance.

4
6 Connect the speaker cable to the speaker and your receiver. Please refer to page 6, “CONNECTIONS” section for detailed instructions.

7 Place the speaker into the wall. Loosen each mounting screw by turning it counterclockwise one complete turn. This will release the mounting clamp from its shipping position.

8 Tighten each of the four mounting screws evenly until the mounting clamp grips the wall “finger tight.” Now tighten each screw one additional turn only. This will secure the speaker firmly to the wall.

Note:
We recommend using only hand tools as powered drivers may over-tighten the screws.
Note:
You can swivel the tweeter and the midrange speaker to direct high frequency sounds precisely toward the listening position by gently pressing the outer edge of the tweeter mount.

9 Attach the grille to the frame.

Note:
For permanent grille attachment, application of the supplied glue strips is recommended.
Recommended Glue Strip Location

5
CONNECTIONS
- Connect the screw-type input terminals at the rear of the speakers to the speaker output terminals of the
receiver. - Connect the (+) terminals on the receiver and speakers using the corresponding side of the cable. Connect the (—) terminals on both components using the other side of the cable.
Receiver NS-IW760

Notes:
- Make sure that the bare wires are not touching each other as this could damage the speaker and receiver.
- Connect one speaker to the left terminals of your receiver, and another speaker to the right terminals, making sure not to reverse the polarity (+, —). If one speaker is connected with reversed polarity, the sound will be unnatural and lack bass.
- How to connect
- Loosen the knob.
- Insert the bare wire. Remove the insulation coating at the extremity of each speaker cable by twisting the coating off.
- Tighten the knob and secure the cable. Test the connection by pulling lightly on the cable at the terminal.

- When using a banana plug
- Tighten the terminal knob.
- Insert the banana plug into the terminal.

6
PAINTING THE SPEAKER FRAME AND GRILLE
The speaker frame and grille can be painted to match your room decor. Use high quality spray paint and select a a well-ventilated area before proceeding.
- Painting the frame
- Remove the speaker from the wall if it is already installed. Also, remove the grille from the baffle.
- Mask the speaker components and the baffle with the supplied paint protective cover.
- Apply paint to the frame.

- Painting the grille
- Carefully remove the grille from the speaker, if attached.
- Apply the paint to the grille. Make sure that the grille holes remain free of paint. Clogging the holes with paint may diminish the sound quality.

SPECIFICATIONS
Speaker 6.5″ woofer x 2, 1″ soft dome tweeter
Frequency Range 50Hz to 24KHz
Impedance 6 ohms
Nominal Input 40w
Maximum Input 130W
Sensitivity (dB/2.83v. 1m) 88 dB
Crossover Frequency 6,500 Hz
Dimension (H x Wx D) 23.4″ x 7.6″ x 3.6″ (595 x 195 x 93.6 mm)
(Mounting depth) 3.16″ (80.4mm)
Weight 5.1 Ibs (2.1 kg)
Magnetic Shielding Yes
*Specifications subject to change without notice due to product improvements.
7
Yamaha Corporation of America is proud of the experienced craftsmanship that goes into each and every YAMAHA Loudspeaker. YAMAHA sells its products only through a network of high quality, specially authorized dealers and is pleased to offer the following Limited Warranty, which applies only to products purchased by consumers directly from our authorized dealers. We suggest that you read the Limited Warranty thoroughly, and invite you to contact your authorized YAMAHA dealer or the Yamaha Corporation of America Service Department if you have any questions.

SPEAKER SYSTEMS LIMITED WARRANTY
Duration of Warranty:
Yamaha Loudspeakers are covered by this warranty for a period of 2 years from date of purchase.
What Is Covered and What Is Not Covered:
This warranty covers all defects in materials or workmanship, but DOES NOT COVER the following:
- Damage, deterioration or malfunction resulting from:
a. Accident, negligence, misuse, abuse, improper installation or operation or failure to follow instructions contained in your Owner’s Manual.
b. Any shipment of the product. (Claims must be presented to the carrier.)
c. Repair or attempted repair by anyone other than YAMAHA or a specially authorized YAMAHA Service Center. - Any unit which has been altered, or on which the serial number or cabinet has been defaced, modified or removed.
- Consequential, economic or property damage.
- Normal wear and maintenance.
- Initial setup or check-ups with no defects found.
- Labor & materials required to remove and reinstall the loudspeaker.
- Any unit which has not been purchased by the consumer directly from an authorized YAMAHA dealer in the USA or Puerto Rico. If you are uncertain as to whether a dealer has been authorized by YAMAHA, please contact YAMAHA at the telephone number shown below.
- Any unit used for industrial or commercial purposes.
Who may enforce the warranty:
This warranty is enforceable only by the original purchaser of the unit, who purchased from a Yamaha dealer authorized to make that sale.
What we will pay for and what you must pay for:
YAMAHA will repair or replace products covered by this warranty, without charge to the consumer for labor or materials. Some repair parts may be used or rebuilt replacements, that maet or exceed Yamaha specifications for new parts, in exchange for defective parts. YOU ARE RESPONSIBLE FOR ANY INSTALLATION OR REMOVAL CHARGES AND FOR ANY INITIAL SHIPPING CHARGES, if the product(s) must be shipped for warranty service. However, we will pay the return shipping charges to any destination within the USA if the repairs are covered by the warranty.
How you can get Warranty Service:
- If your YAMAHA loudspeaker(s) appears to require service, contact the authorized YAMAHA dealer and the dealer will advise you of the procedures to be followed. if this is not practical, deliver the defective product(s) to a specially authorized YAMAHA Service Center (obtain referrals from the YAMAHA Web site or toll-free YAMAHA phone number shown below).
- Product(s) shipped for service should be packed securely and must be accompanied by a detailed explanation of the problem(s) requiring service, as well as your sales receipt or other proof of date and place of purchase, as evidence of warranty coverage.
- Warranty registration is not required for warranty coverage.
Limitation of Implied Warranties:
ANY IMPLIED WARRANTIES, INCLUDING WARRANTIES OF MERCHANTABILITY AND FITNESS FOR A PARTICULAR PURPOSE, ARE LIMITED IN DURATION TO THE LENGTH OF THIS EXPRESS WARRANTY. SOME STATES DO NOT ALLOW LIMITATIONS ON HOW LONG AN IMPLIED WARRANTY LASTS, SO THE ABOVE LIMITATION MAY NOT APPLY TO YOU.
Exclusion of Damages:
YAMAHA’S LIABILITY FOR ANY DEFECTIVE PRODUCT IS LIMITED TO REPAIR OR REPLACEMENT OF THE PRODUCT, AT OUR OPTION. IF WE ELECT TO REPLACE THE PRODUCT, THE REPLACEMENT MAY BE A RECONDITIONED UNIT. YAMAHA SHALL NOT BE LIABLE FOR DAMAGES BASED UPON INCONVENIENCE, LOSS OF USE, DAMAGE TO ANY OTHER EQUIPMENT OR OTHER ITEMS AT THE SITE OF USE, OR ANY OTHER DAMAGES WHETHER INCIDENTAL, CONSEQUENTIAL OR OTHERWISE. SOME STATES DO NOT ALLOW LIMITATIONS ON HOW LONG AN IMPLIED WARRANTY LASTS AND/OR DO NOT ALLOW THE EXCLUSION OR LIMITATION OF INCIDENTAL OR CONSEQUENTIAL DAMAGES, SO THE ABOVE LIMITATIONS AND EXCLUSIONS MAY NOT APPLY TO YOU. THIS WARRANTY GIVES YOU SPECIFIC LEGAL RIGHTS, AND YOU MAY ALSO HAVE OTHER RIGHTS WHICH VARY FROM STATE TO STATE.
Should you have any questions about service received or if you need assistance in locating an authorized YAMAHA Service Center, please contact:

CUSTOMER SERVICE
YAMAHA CORPORATION OF AMERICA
6600 ORANGETHORPE AVE., BUENA PARK, CA 90620-1373
http://usa.yamaha.com Phone: (800)292-2982
Do not return any product to the above address without a written Return Authorization issued by YAMAHA.
P/N 430044 Printed in Taiwan
Yamaha NS-IW760 In-Wall Speaker User Manual – Original PDF



















