AUDIBAX Wall 12 Shelf Speakers

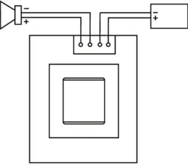
Basic Connections
Speaker: Amplifier: Amplificador
SPECIFICATION
| Model | Wall 12 |
| Power Max. | 12W |
| Switch Type | Rotary Switch, 11 Steps / |
| Install Depth (mm) / | 42.5mm |
| Dimension (WxHxD)(mm) / Dimensiones (An. x Al. x Pr.) (mm) | 86x93x66mm |
SAFETY INSTRUCTIONS
Caution:
- This volume control is limited to a maximum of 12 watts RMS/20 watts maximum, per channel.
- Mounting the Volume Control: The volume control is designed to be mounted in a standard electrical wall box. Select a location that is:
- Within reach of the speaker wires
- Easy to reach for using the volume control
Important:
- Over-Tightening the screws might damage the wall plate.
- Some electrical wall boxes are a non-standard size. Be sure that you measure the wall box before you mount the volume control.
Notes:
- The speaker wire needed to make the connection is available at specialized stores. This volume control can be used with up to 14- gauge wire.
- Measure the distance from the speaker to the ampIifier. For distance of 50 feet or less, use 18- gauge speaker wire or ordinary lamp cord. For distances greater than 50 feet, use heavier 16-gauge wire.
Caution:
- Letting stray wire ends touch an adjacent terminal, the mounting brackets or screws, or the metal sides of the electrical box could cause a short circuit or damage a speaker.
- Protect your environment. Recycle packing material whenever possible. Proteja su entorno. Recicle el material de embalaje siempre que sea posible.
Do not throw a faulty into normal household waste but bring it to a special collection point. A large part of it can be recycled.
CONNECTIONS
- 1. Strip off½inch (12.7mm) of insulation from each end of the amplifier/receiver and speaker wires.
2. Insert the amplifier/receiver’s + and – speakers output wires into the volume control’s. INPUT + (positive) and –
(negative) terminals, then tighten the screws.
3. Insert the speaker’s+ and – wire ends into the volume control’s OUTPUT+ and – terminals, and then tighten the screws.
Operation
- Set the amplifier/receiver’s volume control to minimum by turning it fully counterclockwise.
- Then turn on the amplifier /receiver and set its volume control slightly above the normal listening level.
- To increase or decrease the remote speaker’s volume.
- Do not attempt to make any repairs yourself. This would invalidate your warranty. Do not make any change to the unit. This would also invalid your warranty. The warranty is not applicable in case of accidents or damages caused by inappropriate use or disrespect of the warning contained in this manual. AUDIBAX cannot be held responsible for personal injuries caused by disrespect of the safety recommendation and warnings. This is also applicable to all damages in whatever form.
- No intente hacer ninguna reparación usted mismo. Esto invalidaría su garantía. No realice ningún cambio en la unidad. Esto también invalidaría su garantía. La garantía no es aplicable en caso de accidentes o daños causados por un uso inadecuado o por no respetar las advertencias contenidas en este manual. AUDIBAX no se hace responsable de los daños personales causados por el incumplimiento de las recomendaciones y advertencias de seguridad. Esto también es aplicable a todos los daños en cualquier forma.




















